Lexon LH85 HORIZON DIFFUSER

Thank you for purchasing Horizon Diffuser. Please read this manual carefully before operating your device and save it for future reference.
FEATURES
- Mist diffuser/Humidifier
- Up to 8h continuous mist
- Essential oil diffuser
- 900ml / 30oz tank capacity
- Timer settings (2h, 6h, or continuous)
- Automatic switch off
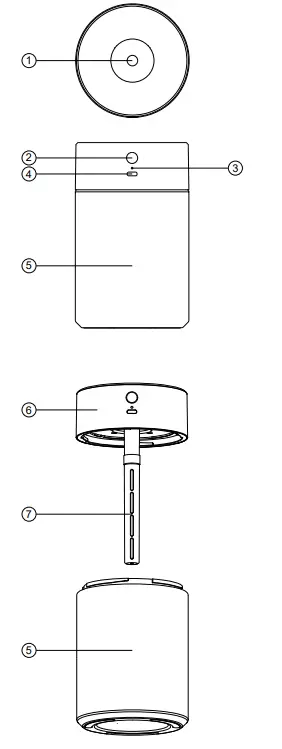
PRODUCT OVERVIEW

- Mist diffuser
- Touch the button (On/Off & Mist settings)
- Charging and Mist LEDs indicator USB port
- USB Type-C port
- Water tank
- Water tank cover
- Tube
CHARGING INSTRUCTIONS
- Plug the USB cable into the charging port of the Horizon Diffuser.
- Plug the cable into any 5V-1A power adapter (not included).
- Connect the adapter to a power source.
LED information
| Status | LED status |
| Charging | Steady green |
| Fully charged | Off |
| Low battery | Red LED flashes until the battery is completely discharged |
| Waterless auto-off | Steady red |
IMPORTANT NOTES BEFORE USE
- Place the diffuser on a flat surface.
- Fill in the water tank with demineralized or filtered water.
- Use the diffuser in an open space to allow the mist to freely circulate.
SETTING STARTED
- Open the water tank by pulling the top off and fill it with up to 900 ml of demineralized water.
- Add drops of essential oils directly to the water tank.
- Close the water tank. Place the upper section back on the base and turn clockwise to fasten.
PORTIONS AND USE
| Operations | Features | LED Status |
| Long press the button | Turn ON the diffuser and activate default mode (2 hours) | The green LED light stays on 2 seconds then turns out |
| 1st Press | Set to run for 6 hours | The green LED light flashes a few times then turns out |
| 2nd Press | Set to run continuously until the battery runs out | The green LED light stays on 2 seconds then turns out |
| 3rd Press | Return to 2 hours mode (default mode) | The green LED light flashes 2 twice then turns out |
| Long press the button | Turn OFF the diffuser | Steady red 1s then off |
The Diffuser will automatically switch off when the selected time runs out.
SAFETY PRECAUTIONS
- Do not use the product close to appliances that may be sensitive to moisture or aromatherapy/ essential oil ingress to avoid unnecessary risk of damage.
- Please make sure that the aroma diffuser is off and disconnected from the electrical outlet before filling or when cleaning the water tank.
- Empty the water tank and wipe clean and dry when the diffuser is not in use.
- Do not open the unit under any circumstance.
- Do not use this product if you have respiratory problems which may be adversely affected by higher moisture levels in the air.
- Microorganisms can grow in the water reservoir and be blown in the air causing serious health risks when the water is not renewed, and the tank is not cleaned regularly and properly.
- Empty and clean the diffuser before and after storage, never leave water in the reservoir when the appliance is not in use.
- Do not immerse this product or its cable in water.
- Children shall not play with the appliance. Cleaning and user maintenance shall not be made by children without supervision.
TECHNICAL SPECIFICATIONS
- Material: ABS/Aluminium
- Dimensions: Ø17,6 x 10,8 cm
- Weight: 360 g
- Tank capacity: 900 ml
- Accessories: USB Type-C cable
- Battery life: Up to 8 hours, varies depending on usage and mist settings set
- Battery type: 18250 Li-ion battery
- Battery capacity: 3600mAh
- Battery voltage: 3.7V
- Battery weight: 39 g
- Charging system: Type-C charging port
- Charging time: 4,5h
- Input: 5V-1A
- Output power: 2.9W
- International warranty: 1 year
EUROPEAN UNION
CE DIRECTIVE
LEXON hereby declares that the device is in compliance with the essential requirements and other relevant provisions of directives 2014/53/EU and 2012/19/EU.
The original EU declaration of conformity may be found at: https://www.lexon-design.com/assets/certifications-ce-horizondiffuser.pdf
UK CONFORMITY ASSESSMENT
The object of the declaration described above is in conformity with the relevant Union harmonization legislation.
The original UK declaration of conformity may be found at: https://www.lexon-design.com/assets/certifications-ukca-horizondiffuser.pdf
DISPOSAL AND RECYCLING INFORMATION
After the implementation of the European Directive 2012/19/EU in the national legal system, the following applies: electrical and electronic devices may not be disposed of with domestic waste. Consumers are obliged by law to return the electrical and electronic devices at the end of their service lives to the public collecting points set up for this purpose or point of sale. Details of this are defined by the national law of the respective country. This symbol on the product, the instruction manual, or the package indicates that a product is subject to these regulations. By recycling, reusing the materials, or other forms of utilizing old devices, you are making an important contribution to protecting our environment.
USA – FCC STATEMENT
This device complies with part 15 of the FCC Rules. Operation is subject to the following two conditions:
- This device may not cause harmful interference.
- this device must accept any interference received, including interference that may cause undesired operation.
NOTE: This equipment has been tested and found to comply with the limits for a Class B digital device, pursuant to part 15 of the FCC Rules. These limits are designed to provide reasonable protection against harmful interference in a residential installation. This equipment generates, uses, and can radiate radio frequency energy and, if not installed and used in accordance with the instructions, may cause harmful interference to radio communications. However, there is no guarantee that interference will not occur in a particular installation. If this equipment does cause harmful interference to radio or television reception, which can be determined by turning the equipment off and on, the user is encouraged to try to correct the interference by one or more of the following measures:
- Reorient or relocate the receiving antenna.
- Increase the separation between the equipment and receiver.
- Connect the equipment into an outlet on a circuit different from that to which the receiver is connected.
- Consult the dealer or an experienced radio/ TV technician for help.
Caution: Any changes or modifications not expressly approved by the party responsible for compliance could void your authority to operate the equipment.
This equipment complies with the FCC radiation exposure requirement set forth for an uncontrolled environment. End users must follow the specific operating instructions for satisfying RF exposure compliance.
Canadian Compliance Statement
This device complies with Industry Canada license-exempt RSS. Operation is subject to the following two conditions:
- This device may not cause interference.
- This device must accept any interference, including interference that may cause undesired operation of the device.
This Class B digital apparatus complies with Canadian ICES-0003.
This device complies with the ISED RSS-102 RF exposure requirement set forth for an uncontrolled environment and is safe for intended operation as described in this manual.
- ADREES: 125, Avenue des Champs-Elysées 75008 Paris – FRANCE
- All brands or product names are or may be trademarks or their respective owners. Pictures and specifications are not contractual. Assembled in China.
- lexon-design.com
- @lexondesign



















