EXTECH HDV7C-A4-60-1 Four Way Articulating Camera Probe

Product Information
Four-Way Articulating Probes
The Four-Way Articulating Probes are designed to be used with the HDV700 VideoScope. The probe is manually controlled by its joystick, control buttons, and lock switch. It contains sensitive circuitry that controls the optics and electronics of the camera. The probe can be submerged in approved liquids such as brake and transmission fluid, diesel fuel, unleaded gasoline, engine oil, and CPC hydraulic fluid (46AWS).
Product Usage Instructions
Connecting the Probe
- Switch off the power of the HDV700 before connecting the probe.
- Align the white dot on the probe connector with the white dot on the HDV700 monitor connector.
- Plug the probe into the monitor unit, ensuring proper alignment and full insertion.
- Tighten the collar nut to secure the connection. Do not overtighten.
Probe Controls
- Articulation Joystick: Use the joystick to move the probe neck in four directions.
- Articulation Lock: Move the locking switch to the locked position to freeze the probe neck in place. Do not lock the probe neck at an angle when inserting or removing the probe from the inspection area.
- Light Enhancement Button: Press this button to highlight darker areas of a camera image.
- Rotation Button: Rotate the camera image using this button.
- Anti-Reflection Button: Activate an image filter that reduces reflections from shiny surfaces and reduces particle artifacts on the camera image by pressing this button.
HDV700 Controls
The HDV700 touch-screen offers additional functions and control of the probe such as recording images and video, split-screen views, image rotation, and more, as covered in the HDV700 user manual.
Product Mirror Accessory
The supplied mirror accessory provides a side view camera image. Use the HDV700 touch-screen to select forward and side camera views and to control the worklights. Peel off the protective film from the mirror before use. Clean the mirror with a lint-free swab and a high-quality lens cleaner. If necessary, remove dust and moisture with compressed air.
Introduction
Thank you for selecting the Extech four-way articulating camera probe. This probe is intended for use with the HDV700 VideoScope. The probe is manually controlled by its joystick, control buttons, and lock switch. The probe is also controlled by the HDV700 touchscreen for capturing camera images and video, image manipulation, and other functions as described in the HDV700 User Manual available at the support site (see Support section).
Safety
Safety Note
Please read and understand all safety cautions before use.
CAUTION
- Do not insert the probe into flammable liquid or gas.
- This product is designed for industrial use only. It is not intended for use in human or other biological inspection.
- To clean the probe, wipe with a soft cloth dampened with a mild detergent and clean water. Do not use abrasive detergents, corrosives (alcohol), or solvents to clean the probe. Use a high quality lens cleaning fluid and a lint-free swab to clean the camera and worklight lenses.
- Do not disassemble the product, damage to the product and electrical shock may occur.
- Avoid direct sun exposure. Store in a cool, dry, and well-ventilated area.

- The probe contains sensitive circuitry that controls the optics and electronics of the camera. Do not strike the probe or allow it to impact objects forcefully.

- The following liquids have been approved for submersion of the camera probe: Brake and transmission fluid, diesel fuel, unleaded gasoline, engine oil, and CPC hydraulic fluid (46AWS).
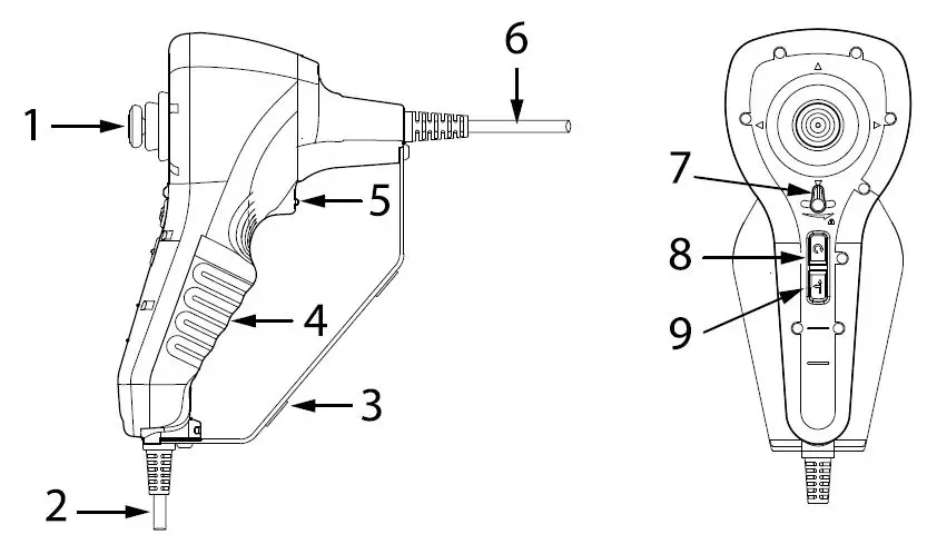
Probe Description

- Joystick articulation control
- HDV700 Connecting cable
- Stabilizing stand
- Hand grip
- Image enhancement button
- Camera probe
- Articulation locking switch
- Image rotation (90° clockwise) button
- Image reflection filter button
Connect the Probe
Carefully connect the probe to the HDV700 as detailed below. Always switch the HDV700 power off before connecting the probe.

- Align the white dot on the probe connector with the white dot on the HDV700 monitor connector.
- Plug the probe into the monitor unit, ensuring proper alignment and full insertion.
- Tighten the collar nut to secure the connection. Do not overtighten.
Probe Controls
Articulation Joystick

Use the joystick (1) to move the probe neck in four directions as shown in the illustration below. The thumb is typically used to move the joystick while the hand grips the control unit. Set the control unit’s stabilizing base (3) on a firm platform for convenience. Move the probe slowly and carefully; stop moving in a specific direction if resistance is detected. Keep the probe as straight as possible and keep the probe neck at 0° articulation when moving into and out of an inspection area.
Articulation Lock
Move the locking switch (7) to the locked position (to the right), to freeze the probe neck in place. Move the switch to the left to release the lock. Do not lock the probe neck at an angle when inserting or removing the probe from the inspection area, this can bind the probe in the inspection area.
Light Enhancement Button
- Press the light enhancement button (5) to highlight the darker areas of a camera image.
Rotation Button
- Use the rotation button (8)
to rotate the image 90°.
Anti-Reflection Button
- Press the reflection filter button (9)
to activate an image filter that reduces reflections from shiny surfaces and reduces particle artifacts on the camera image.
HDV700 Controls
The HDV700 touch-screen offers additional functions and control of the probe such as recording images and video, split-screen views, image rotation, and more, as covered in the HDV700 user manual.
Mirror Accessory
The supplied mirror accessory provides a side view camera image. Use the HDV700 touch-screen to select forward and side camera views and to control the worklights (see HDV700 user manual).
Notes: Peel off the protective film from the mirror before use. Clean the mirror with a lint-free swab and a high quality lens cleaner. If necessary, remove dust and moisture with compressed air.
Side View 70° Mirror Description

- Reflective mirror
- Worklight opening. Align the worklight with the opening
- Threaded probe connection
Mirror Accessory Installation

- Remove the camera protective cover by rotating it counterclockwise.

- Turn the silver alignment sleeve clockwise to move to the right, exposing the worklight.

- Attach the accessory by rotating it clockwise onto the probe. Align the hole on the accessory to expose the worklight.

- Rotate the silver alignment sleeve to move left or right, as needed.
Measurement Considerations
- Ensure that the camera lens cap is removed before inserting the probe into the inspection area.
- After connecting the probe to the HDV700, verify that a clear camera image is displayed. If not, remove the probe and reattach it ensuring correct orientation and a tight seal.
- Do not force the probe through an inspection area if resistance is detected. Check the nature of the resistance and clear it as necessary before continuing.
- When the inspection is complete, remove the probe from the inspection area. To avoid probe binding in the inspection area, keep the probe straight and a 0° probe neck articulation angle.
- Clean the probe with a damp cloth and mild detergent as needed. Clean the camera, mirror, and worklight lenses using a high quality cleaning fluid and lint-free swabs.
- Attach the protective lens cap when storing.
- Coil the probe carefully with as wide an arc as is possible when fitting into its protective case.
Specifications
| Camera image resolution | 640 x 480 pixels |
| Frame rate | 30 frames per second (fps) |
| Camera accessories | Side view mirror attachment |
| Probe head and probe body diameter | 0.24 in. (6 mm) |
| Probe head length | 0.93 in. (23.5 mm) |
| Probe length | 3.3 ft. (1 m) (HDV7C-A4–60–1) 9.8 ft. (3 m) (HDV7C-A4-60–3) |
| Articulation | Four–way articulation with 360° movement |
| Probe head material | Stainless steel |
| Probe body material | Stainless steel mesh |
| Worklights | LED lamps around camera lens and one side-view worklight for use with the supplied mirror accessory. |
| Field of View (FOV) | 87.1° |
| Depth of Field (DOF) | 0.4 to 4.0 in. (1 to 10 cm) |
| Operating and Storage temperature | 14℉ to 120℉ (-10℃ to 60℃) |
| Approved liquids for probe immersion | Brake and transmission fluid, diesel fuel, un- leaded gasoline, engine oil, CPC hydraulic fluid (46AWS), and water. |
| Ingress protection | Probe tip and body: IP 67 (IEC 60529) Protected from submersion in water up to 3.3 ft (1 m) for 30 minutes maximum. In use: rain, splashes, and accidental submersion |
Warranty
Two-Year Warranty
FLIR Systems, Inc. warrants this Extech brand instrument to be free of defects in parts and workmanship for two years from the date of shipment (a six-month limited warranty applies to sensors and cables).
- 1.888.610.7664
- www.calcert.com
- [email protected]























