MODENA RO 67 SUV Igienico Series Water Purifier

This guide book explains everything you need to know about your new product.
Please contact our Customer Care should you need further assistance through www.modena.com.
PART 1: SAFETY INFORMATION
Read the user manual book carefully!
- Do not try to install or turn on the unit without having read the indicated safety precautions in this manual.
- The dispenser heats water to a temperature of 90°C. It can cause severe scalding. Please operate it carefully.
- Do not disassemble the electrical parts of this appliance. Any repairs done by an unauthorized person may cause serious injuries or properties incident.
- The adult should supervise the children in order to make sure the children can not play with the appliance.
- The appliance is not intended for use by persons(including children) with reduced physical, sensory or mental capabilities, or lack of experience and knowledge, unless they have been given supervision or instruction concerning use of the appliance by a person responsible for their safety.
- This appliance is intended to be household used only. Usage outside the intended use or excessive use may void the warranty.
- Do not modify the power cord. If the power cord is damaged, it must be replaced by technician with a replacement cable according to the appliance specification
- To avoid danger of suffocation, keep plastic bag away from babies and children.
Precautions
- Destroy the carton, plastic bag and other packing materials after the appliance is unpacked. Children might use them for play.
- Children require supervision when using the appliance
- If available, it is recommended to install the anti-tilt bracket at the back side of this water purifier to prevent the appliance from falling down which could cause injury.
- Plug the water purifier directly into the socket and ensure secure connection
- The unit requires proper grounding and the correct voltage
- An appropriate length of power cord is provided to reduce the risks of becoming entangled in, or tripping over a longer cord.
- Do not use an extension cord or plug adaptor. Failure may cause electric shock or risk of fire
- Choose a place that is near a grounded electrical socket. Keep the appliance at least 20 cm away from walls and other appliances and furniture on all 4 sides.
- Do not place the water purifier sitting over the power cord.
- Do not pull out or insert the plug with wet hands to avoid electric shock.
- Use the switch when turning the heating/cooling On/Off. Located on the back side of water purifier.
- Do not fasten, twist or tie the power cord. if the power cord is damaged, it should be replaced by the manufacturer, service technician or a qualified person to prevent any risk.
- Keep the unit in a dry place and away from direct sunlight. Do not place the machine on paper or foam. Do not place anything flammable beside this machine.
- To avoid damage to the unit, do not plug the power cord or turn on the heating switch until the water can flow out from the hot water spout when the hot water button be activated.
- Unplug the unit when the unit will not be used for a long period for the reason of saving electricity.
- Never turn the unit upside down or tilt it more than 45°
- Never use organic liquids polishing chemical to clean the machine.
- The thermostat to control temperature has been set up by manufacturer. There is no need to adjust it yourself.
Environmental Notice
The packaging material used is recyclable. We recommend that you separate plastic, paper and cardboard and give them to recycling agents. To help preserve the environment, the refrigerant used in this product is R134a (Hydrofluorocarbon – HFC), which does not affect the ozone layer and has little impact on the greenhouse effect. According to WEEE (Waste of Electrical and Electronic Equipment) guidelines, waste from electrical and electronic devices should be collected separately. If you need to remove of this appliance in the future, do not throw it away with the rest of your domestic garbage. Instead, please take the appliance to the nearest WEEE collecting agents, where available.
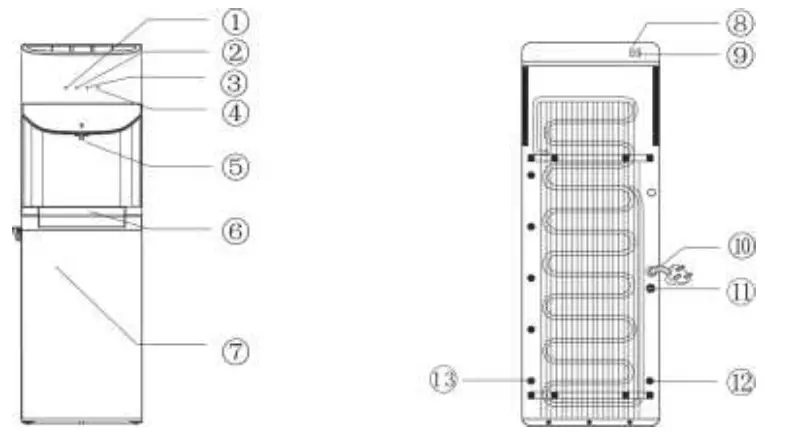
PART 2: NAME OF PARTS

Note:
- Power/UV-C Indicator
- Heating indicator
- Filter change indicator
- Cooling indicator
- Water tap
- Water collector
- Door
- Cooling switch
- Heating switch
- Power cord
- Tank drain valve
- Tap water inlet
- Waste water outlet
PART 3: QUICK START GUIDE
Installation
- Before first use, leave the appliance for 1 hour to stabilize the refrigerant
- Turn off the water supply valve

- Disconnect the current water supply line

- Connect the T joint with valve to the water supply line as shown

- Install the 1/4” PE pipe to the T joint

- Before using the appliance or after changing the filter, you need to clean the filter for 5 minutes. Use the flushing tip accessory to clean the filters. Insert PE pipe to the quick joint.

- Plug the power cord into the power socket. Make sure that the power source is properly grounded to prevent current leakage. Turn on the switch in the back of the appliance
- For first use, the inside of the appliance must be cleaned. Press the hot and cold water button. Make sure the water is dispensed from the tap. After the water is dispensed, wait for 20 minutes and remove the water bottle from the cabinet and drain the water from the unit by opening the drain water hole cover. Ensure that the power cord is unplugged when draining the water.

- If the filter change indicator lamp is on, unplug the power plug from the socket before changing the filter. If you don’t know which filter needs to be replaced, contact Service Center.
- Filter must be changed periodically (see table below for reference) to ensure good performance and water purification quality.
| #1 PP Filter | 6 months |
| #2 Carbon Filter | 6 months |
| #3 PP Filter | 6 months |
| #4 RO Filter | 12 months |
How to Use
Dispensing hot water:
- Position the bottle, glass, pitcher, or cooking pot below the spout
- Slide the child lock button while pressing the hot water button
- Release the button once the desired level is achieved
Dispensing normal water:
- Position the bottle, glass, pitcher, or cooking pot below the spout
- Press the normal water button
- Release the button once the desired level is achieved
Dispensing cold water:
- Position the bottle, glass, pitcher, or cooking pot below the spout
- Press the cold water button
- Release the button once the desired level is achieved
WARNING!
The dispenser heats the water temperature up to 90°C. This can cause severe burns or scalding. Use it carefully!
PART 4: MAINTENANCE
Cleaning & Maintenance
- Ensure the power cord is unplugged before performing cleaning and maintenance activity
- Dispense the water from the unit until it’s empty
- Place a big bucket under the water drain hole on the back of the unit, unplug the drain cover and empty the remaining water from the tank
- After it is completely dry, close the drain water cover.
PART 5: TROUBLESHOOTING
Before contacting service center, check the following table:
| Problem | Possible Cause | Recommended Action |
| Appliance is not working | Power plug is plugged incorrectly Switch is in OFF condition | Ensure the appliance is properly plugged into the power socket and the switch is turned ON. |
| The water is not hot or cold |
|
|
| Water is not being dispensed from water tap |
|
|
| Problem | Possible Cause | Recommended Action |
| Loud noise |
|
|
PART 6: SPECIFICATION
| Model | RO 67 SUV |
| Color | Stainless |
| Filtering step | PP-Carbon-PP-RO |
| Tank & pipe material | SUS 304 |
| Hot water | 5 L/hour (≥90°C) |
| Cold water | 2 L/ hour (≤10°C) |
| Special feature | UV-C Lamp |
| Refrigerant | R134a |
| Heating power input (Watt) | 420 |
| Cooling rated current (Ampere) | 1.0 |
| Rated voltage & frequency | 220V~50Hz |
| Product dimension (W×D×H)(mm) | 358×339×1062 |
| Product weight (kg) | 19 |
S = Stainless, R = Red, C = Cream, O = Orange, N = Green, U = Blue, W = White, V = Silver, G = Grey, L = Black
Design and specification can change without prior notice to improve the quality of the product. The illustration in this manual is schematic and can be different with your actual product. The values on label or in other documents are according to laboratory test and relevant standards. Values can vary depending on the actual operational and environmental condition of the product.
PT MODENA INDONESIA Jl.
Industri Raya I Blok D-8,
Jatiuwung, Tangerang 15135

























