CSL
STRIPLIGHT
COL-CSL8-8040 CSL Striplight
CSL Instruction Manual
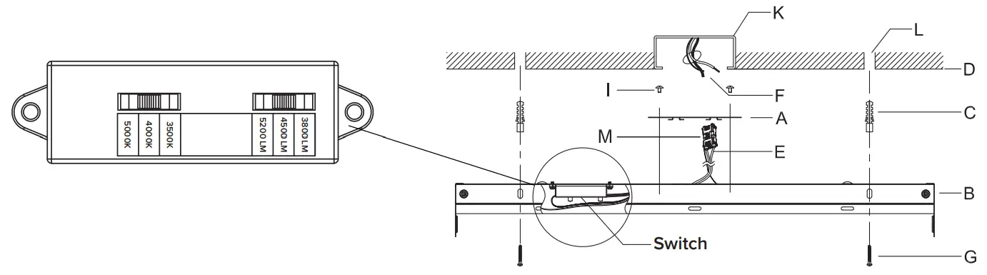
NOTE: Components shown in images are representative only and may vary based on the configuration ordered.
CAUTION
Read instructions carefully and turn the electricity off at the main circuit breaker panel before beginning installation.
WARNING
If any special control devices are used with this luminaire, follow the instructions carefully to assure full compliance with NEC requirements. If there are any questions, contact a qualified electrical contractor.
WARNING
This product contains chemicals known to the State of California to cause cancer, birth defects, and/or other reproductive harm. Thoroughly wash hands after installing, handling, cleaning, or otherwise touching this product.
CAUTION
All glass is fragile. Use care when handling glass component(s) and or lamp(s).
INSTALLATION INSTRUCTIONS

NOTE:
D, F, K & L (shown right) not furnished.

ASSEMBLY STEPS:
© 2021 Columbia Lighting, a division of Hubbell Lighting, Inc. Specifications subject to change without notice.
701 Millennium Blvd • Greenville, SC 29607 / Tel 864.678.1000 / Website www.columbialighting.com
Page 1/1 Rev. 11/09/21
COL-CSL-ins![]()



















