Altronix DCL1 DIN Rail Mounting Clip 
Overview
Altronix DCL1 DIN Rail Mounting Clip allows for easy installation of Altronix eBridge, NetWay, and Pace models onto a standard 35mm DIN rail such as Altronix D10.
Compatible Altronix Models
eBridge:
- eBridge1CR
- eBridge1CT
- eBridge1PCR
- eBridge1PCRX
- eBridge1PCT
- eBridge1PCTX
- eBridge1PCRM
- eBridge100SPR
- eBridge100RM
- eBridge100TM
NetWay:
- NetWay1,
- NetWay1X,
- NetWay2ES,
- NetWay3012,
- NetWayXT,
- NetWayXTG,
- NetWayXTL,
- NetWayXTX
NetWay Spectrum:
- NetWaySP1A
- NetWaySP1P
- NetWaySP2P
Pace:
- Pace1PRD
- Pace1PRM
- Pace1PTM
Voltage Regulators:
- VR5T
- VR5BT
Installation Instructions
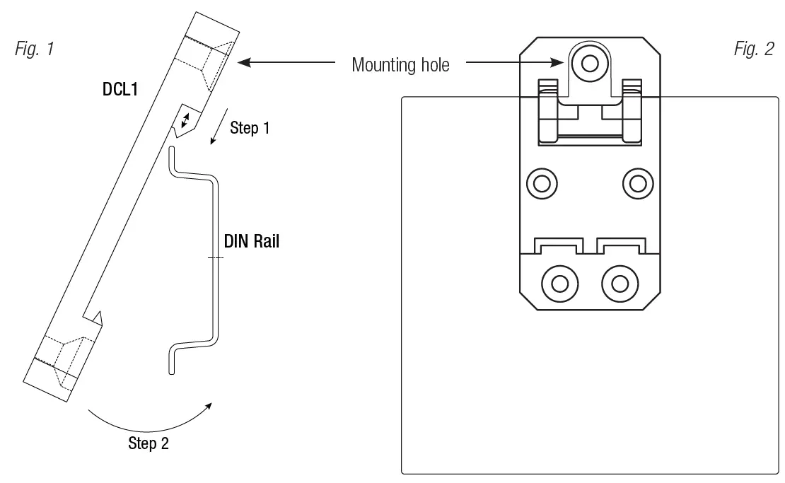
- Attach DCL1 to the DIN rail as shown on Fig. 1 below.
- Secure Altronix adapter to the DCL1 using included mounting screw (Fig. 2).

Altronix is not responsible for any typographical errors. 140 58th Street, Brooklyn, New York 11220 USA | phone: 718-567-8181 | fax: 718-567-9056
website: www.altronix.com | e-mail: [email protected]



















