PAE11 Air cooler
User Manual
Notes regarding the operating manual
Symbols
Warning of electrical voltage
This symbol indicates dangers to the life and health of persons due to electrical voltage.
Warning
This signal word indicates a hazard with an average risk level which, if not avoided, can result in serious injury or death.
Caution
This signal word indicates a hazard with a low risk level which, if not avoided, can result in minor or moderate injury.
Note
This signal word indicates important information (e.g. material damage), but does not indicate hazards.
Info
Information marked with this symbol helps you to carry out your tasks quickly and safely.
Follow the manual
Information marked with this symbol indicates that the operating manual must be observed.
Wear safety glasses
Information marked with this symbol indicates that you should wear eye protection.
Wear protective gloves
Information marked with this symbol indicates that you should wear protective gloves.
You can download the current version of the operating manual and the EU declaration of conformity via the following link:
https://hub.trotec.com/?id=44160
https://hub.trotec.com/?id=44924
Safety
Read this manual carefully before starting or using the device. Always store the manual in the immediate vicinity of the device or its site of use.
Warning
Read all safety warnings and all instructions.
Failure to follow the warnings and instructions may result in electric shock, fire and/or serious injury. Save all warnings and instructions for future reference.
This appliance can be used by children aged from 8 years and above and persons with reduced physical, sensory or mental capabilities or lack of experience and knowledge if they have been given supervision or instruction concerning use of the appliance in a safe way and understand the hazards involved.
Children shall not play with the appliance. Cleaning and user maintenance shall not be made by children without supervision.
- Do not use the device in potentially explosive rooms or areas and do not install it there.
- Do not use the device in aggressive atmosphere.
- Only put up the device in an upright, stable position on firm ground.
- Let the device dry out after a wet clean. Do not operate it when wet.
- Do not use the device with wet or damp hands.
- Do not expose the device to directly squirting water.
- Never insert any objects or limbs into the device.
- Do not cover or transport the device during operation.
- Do not sit on the device.
- This appliance is not a toy! Keep away from children and animals. Do not leave the device unattended during operation.
- Check accessories and connection parts for possible damage prior to every use of the device. Do not use any defective devices or device parts.
- Ensure that all electric cables outside of the device are protected from damage (e.g. caused by animals). Never use the device if electric cables or the power connection are damaged!
- The electrical connection must correspond to the specifications in chapter Technical data.
- Insert the mains plug into a properly secured mains socket.
- Observe the device’s power input, cable length and intended use when selecting extensions to the power cable. Completely unroll extension cables. Avoid lectrical overload.
- Before carrying out maintenance, care or repair work on the device, remove the mains plug from the mains socket. Hold onto the mains plug while doing so.
- Switch the device off and disconnect the power cable from the mains socket when the device is not in use.
- Do not under any circumstances use the device if you detect damages on the mains plug or power cable.
If the power cable is damaged, it must be replaced by the manufacturer, its service agent or similarly qualified persons in order to avoid a hazard.
Defective power cables pose a serious health risk! - When positioning the device, observe the minimum distances from walls and other objects as well as the storage and operating conditions specified in the Technical data chapter.
- Make sure that the air inlet and outlet are not obstructed.
- Make sure that the suction side is kept free of dirt and loose objects.
- Do not remove any safety signs, stickers or labels from the device. Keep all safety signs, stickers and labels in legible condition.
- Only transport the device in an upright position with an emptied water tank.
- Empty the water tank before transport and storage. Do not drink the water. Health hazard!
- Note that high humidity levels may enhance the growth of biological organisms in the environment.
- Make sure that objects in the surroundings of the device do not become wet or damp. If moisture is present, the output must be reduced. If the output cannot be reduced, the device must only be operated in intervals. Absorbent materials such as carpeting, curtains, sheers or tablecloths must not become damp.
- Make sure that the water in the water thank is replaced every 3 days. Otherwise there is a risk of microorganisms growing in the water tank which presents a health hazard if they get into the air or water.
- Only fill the water tank with fresh drinking water, ice cubes made of fresh drinking water and/or suitable ice packs.
- Ice packs are not toys. Keep away from children and animals.
- Never open an ice pack. The liquid inside the ice packs can be harmful to health.
- Do not eat the ice that may form on the ice packs. Health hazard!
- Do not insert rechargeable batteries into the remote control.
Intended use
Only use the device for cooling the air in interior spaces while adhering to and following the technical data.
Intended use comprises cooling the air in:
- living spaces
- museums
- warehouses and archives
- libraries
- call centres and computer rooms
Foreseeable misuse
- Do not place the device on wet or flooded ground.
- Do not place any objects, e.g. clothing, on the device.
- Do not use the device outdoors.
- Any unauthorised modifications, alterations or structural changes to the device are forbidden.
- Any other use than the one described in the chapter “Intended use” is regarded as reasonably foreseeable misuse.
Personnel qualifications
People who use this device must:
- be aware of the dangers that occur when working with electric devices in damp areas.
- have read and understood the operating manual, especially the Safety chapter.
Maintenance tasks which require the housing to be opened must only be carried out by specialist electrical companies or by Trotec.
Safety signs and labels on the device
Note
Do not remove any safety signs, stickers or labels from the device. Keep all safety signs, stickers and labels in legible condition.
The following safety signs and labels are attached to the device:
| Symbols | Meaning |
| This symbol located on the device indicates that the filter has to be checked and, if necessary, to be cleaned prior to each operation. Replace the filter if it is defective. Do not insert a wet filter into the device. Wait until the filter has dried. |
| Symbols | Meaning |
| This symbol located on the device indicates that the water tank should be cleaned every 3 days. Change the water in the water tank every 3 days. Disconnect the device from the mains before cleaning the water tank. |
Residual risks
Warning of electrical voltage
Work on the electrical components must only be carried out by an authorised specialist company!
Warning of electrical voltage
Before any work on the device, remove the mains plug from the mains socket!
Do not touch the mains plug with wet or damp hands.
Hold onto the mains plug while pulling the power cable out of the mains socket.
Warning
The liquid inside the ice packs can be harmful to health!
If the liquid was swallowed, immediately seek medical attention.
If the liquid came into contact with your eyes, rinse with water and immediately consult an ophthalmologist.
Warning
Dangers can occur at the device when it is used by untrained people in an unprofessional or improper way!
Observe the personnel qualifications!
Warning
The device is not a toy and does not belong in the hands of children.
Warning
Risk of suffocation!
Do not leave the packaging lying around. Children may use it as a dangerous toy.
Note
Do not operate the device without an air filter inserted into the air inlet!
Without the air filter, the inside of the device will be heavily contaminated. This could reduce the performance and result in damage to the device.
Behaviour in the event of an emergency
- Switch off the device.
- In an emergency, disconnect the device from the mains feed-in: Hold onto the mains plug while pulling the power cable out of the mains socket.
- Do not reconnect a defective device to the mains.
Information about the device
Description of the device
The air cooler lowers the room temperature to a comfortable degree by evaporation-based cooling.
The device is filled with cold water or optionally with ice cubes and / or ice packs in order to cool down the incoming warm air at the evaporation filter and to blow out the cold air thus generated via the fan.
Besides its cooling function, the device can also be used for air freshening: thanks to an integrated air filter and the evaporation filter’s honeycomb structure, the sucked-in air is filtered and humidified.
The fan speed can be set to three stages.
The discharge direction of the cooled air can be manually adjusted via the ventilation flaps as well as via the optionally selectable automatic swing mode.
The device has a night mode enabling ultra-silent operation at bedtime.
The device can be operated via the control panel at the device or via the infrared remote control.
Moreover, using the timer function, the device can be switched off automatically with time delay.
Device depiction
![]() | ![]() |
![]() | |
| No. | Designation |
| 1 | Transport handle |
| 2 | Control panel |
| 3 | Air outlet with adjustable ventilation flaps |
| 4 | Air flaps for swing function |
| 5 | Compartment for the remote control |
| 6 | Air inlet with air filter and evaporation filter |
| 7 | Water tank |
| 8 | Wheels |
| 9 | Air filter |
| 10 | Remote control |
| 11 | Ice packs |
| 12 | Evaporation filter |
| 13 | Water level indicator |
| 14 | Remote control receiver (only PAE 11) |
Transport and storage
Note
If you store or transport the device improperly, the device may be damaged.
Note the information regarding transport and storage of the device.
Transport
To make the device easier to transport, it is fitted with wheels.
To make the device easier to transport, it is fitted with a carry handle.
Before transporting the device, observe the following:
- Switch off the device.
- Hold onto the mains plug while pulling the power cable out of the mains socket.
- Empty the water tank.
- Do not use the power cable to drag the device.
- Only wheel the device on a level and smooth surface.
After transporting the device, observe the following: - Set up the device in an upright position after transport.
Storage
Before storing the device, proceed as follows:
- Empty and clean the water tank prior to storage (see chapter Maintenance).
- Allow the evaporation filter to dry prior to storage.
Otherwise the device may distribute a musty smell after restart. - If necessary, carry out the evaporation filter drying function (see chapter Operation).
- Hold onto the mains plug while pulling the power cable out of the mains socket.
When the device is not being used, observe the following storage conditions:
- dry and protected from frost and heat
- in an upright position where it is protected from dust and direct sunlight
- with a cover to protect it from invasive dust, if necessary
- Place no further devices or objects on top of the device to prevent it from being damaged.
- Remove batteries from the remote control.
Assembly and start-up
Scope of delivery
- 1 x Device
- 1 x Evaporation filter
- 1 x Air filter
- 2 x Ice pack
- 1 x Remote control
- 1 x Battery (3 V type CR 2032)
- 1 x Manual
Unpacking the device
- Open the cardboard box and take the device out.
- Completely remove the packaging.
- Fully unwind the power cable. Make sure that the power cable is not damaged and that you do not damage it during unwinding.
Start-up
When positioning the device, observe the minimum distance from walls or other objects as described in the chapter Technical data.

- Before restarting the device, check the condition of the power cable. If there are doubts as to the sound condition, contact the customer service.
- Only put up the device in an upright, stable position on firm ground.
- Do not create tripping hazards when laying the power cable or other electric cables, especially when positioning the device in the middle of the room. Use cable bridges.
- Make sure that extension cables are completely unrolled.
- Make sure that no curtains or other objects interfere with the air flow.
Prior to initial start-up, insert batteries in the remote control.
Filling the water tank
The device requires fresh drinking water for air cooling.
Note
Fill the device with fresh drinking water only. The water temperature must not exceed 40 °C.
Info
If possible, change the water every 3 days to prevent bacterial growth.
Info
Use the drip catcher (black sponge) in the designated compartment in the water tank to avoid dripping noises. Upon delivery the drip catcher is already preassembled.
Info
Optionally, you can put ice packs into the water tank for additional cooling.
Observe the following when using the ice packs:
- Put the ice packs into a freezer for at least 4 hours before use.
- Put the ice packs into the water tank before filling water into the tank.
Info
When using ice packs at high outside temperatures, condensation may form at the water tank and drip onto the floor.
- Release the water tank by turning the clip from its vertical position into the horizontal position.

- Remove the water tank.

- Fill the water tank with fresh drinking water only.
Optionally, you can add ice cubes made of drinking water for additional cooling.
Observe the minimum and maximum filling level at the filling level indicator.
The water tank must be filled up to minimum filling level to enable pump operation.
- If required, put the ice packs into the water tank for additional cooling.
Observe the labelling on the bottom of the water tank.
The ice packs can only be inserted into one side.
Otherwise, the pump is blocked.
- Reinsert the water tank and lock it with the clip.

- Make sure that the device is neither damp nor wet on the outside. Otherwise wipe it dry.
Inserting evaporation filter and air filter
Note
When set to air cooling mode, the device should not be operated without the evaporation filter, otherwise cooling will not work.
Note
Do not operate the device without an air filter inserted into the air inlet!
Without the air filter, the inside of the device will be heavily contaminated. This could reduce the performance and result in damage to the device.
- Make sure that both the evaporation and the air filter are installed before switching the device on.
![]() | ![]() |
Adjusting the ventilation flaps
- Prior to switching the device on, adjust the ventilation flaps at the air outlet.

Connecting the power cable
- Insert the mains plug into a properly secured mains socket.
Operation
- Avoid open doors and windows.
Control panel

| No. | Designation | Meaning |
| 14 | Receiver for remote control (only PAE 11) | Device receives the IR signal of the remote control |
| 20 | Fan speed LEDs | Fan speed indication stage 1 = low stage 2 = medium stage 3 = high |
| 21 | LED Air cooling | Illuminated when air cooling mode is activated |
| 22 | Ventilation LED | Illuminated when ventilation mode is activated |
| 23 | Air freshening LED | Illuminated when air freshening mode is activated |
| 24 | Night mode LED | Illuminated when night mode is activated. |
| 25 | Hours LEDs | Illuminated when timer for automatic switch-off is activated |
| 26 | LED Swing | Illuminated when swing function is activated |
| 27 | Swing button | Switching the swing function on or off |
| 28 | Timer button | Switching the timer function on or off: 1 h, 2 h, 4 h, 8 h |
| 29 | Mode button | Selection button for ventilation, air freshening and night mode |
| 30 | Air cooling button | Switching the air cooling mode on or off |
| 31 | Speed button | Setting the fan speed Switch on evaporation filter drying function |
| 32 | On/Off button | Switching the device on or off |
Switching the device on
Once you have completely installed the device as described in the Start-up chapter, you can switch it on.
- Press the On / Off button (32).
The device starts in ventilation mode at fan stage 1.
The LEDs ventilation (22) and fan stage 1 (20) light up.
Setting the operating mode
The device comes with the following operating modes:
- Air cooling
- Ventilation
- Air freshening
- Night mode
Air cooling
The air cooling mode can be switched on in addition during all other operating modes.
During air cooling the pump is switched on and the water is distributed over the evaporation filter to cool the circulating air.
Please proceed as follows to activate Air cooling:
- Press the Air cooling button (30).
The Air cooling LED (21) is illuminated.
The pump starts. - Press the Speed button (31) to set the desired fan stage (1 to 3).
- Press the Cooling button (30) again to switch Air cooling off.
The Sleep LED (21) goes out.
The device continues to run in the previously selected operating mode.
Note
When Air cooling mode is activated, the air and evaporation filter must not be removed, otherwise the water from the filter will drip down into the device.
Ventilation
In ventilation mode, you can select all 3 fan speeds manually. It is possible to additionally switch on air cooling.
Please proceed as follows to activate ventilation:
- Press the Mode button (29) until the Ventilation LED (22) is illuminated.
- To adjust the fan stage, press the Speed button (31) until the LED for the desired Fan stage (20) is illuminated.
Air freshening
In air freshening mode, it is possible to additionally switch on air cooling.
In air freshening mode, the fan speed increases and decreases alternately to generate a pleasant, natural air stream.
Please proceed as follows to activate air freshening:
- Press the Mode button (29) until the Air freshening LED (23) is illuminated. The fan stages are automatically adjusted.
Night mode
In night mode, it is possible to additionally switch on air cooling.
In night mode, the device operates using a preset programme with different fan speeds to generate an air stream that is adapted to human sleeping habits.
- Press the Mode button (29) until the Night mode LED (24) is illuminated.
Setting the timer
The function can be set in all operating modes.
The number of hours can be set to 1 h, 2 h, 4 h or 8 h.
Automatic switch-off
The device is switched on.
- Press the Timer button (28) until the desired number of hours is displayed by the Hours LEDs (25).
The timer setting equals the desired number of hours.
The device switches off automatically after the set number of hours has elapsed.
Notes regarding automatic switch-off:
- Pressing the On / Off button (32) deactivates the automatic switch-off function.
Swing function
The swing function can be switched on in any operating mode if required.
Behind the horizontal ventilation flaps, there are vertical air flaps integrated in the device. By means of the swing function, these air flaps are moved automatically and thus ensure continuous air circulation.
- Press the Swing button (27) to switch the swing function on or off.
Remote control
All settings of the device can also be made using the remote control included in the scope of delivery.
| No. | Designation | Meaning |
| 27 | Swing button | For switching the swing function on or off |
| 28 | Timer button | Switching the timer function on or off: 1 h, 2 h, 4 h, 8 h |
| 29 | Mode button | Selection button for ventilation, air freshening and night mode |
| 30 | Air cooling button | Switching the air cooling mode on or off |
| 31 | Speed button | Setting the fan speed Switch on evaporation filter drying function |
| 32 | On / Off button | Switching the device on or off |
Memory function
If you switch the device back on from standby mode, the settings selected for the operating mode and swing function are saved. Any activated timer or night mode will not be saved in the device.
Adding water
Observe the following when using the ice packs:
- Put the ice packs into a freezer for at least 4 hours before use.
- Put the ice packs into the water tank before filling water into the tank.
- Only place the ice packs into the designated compartment in the water tank, otherwise the pump will not function properly.
Info
When using ice packs at high outside temperatures, condensation may form at the water tank and drip onto the floor.
- Disconnect the device from the mains before refilling water or putting ice packs into the device.
- Release the water tank by turning the clip from its vertical position into the horizontal position.

- Remove the water tank from the device.

- Fill the water tank with fresh drinking water only.
Optionally, you can add ice cubes made of drinking water for additional cooling.
Observe the minimum and maximum filling level at the filling level indicator.
The water tank must be filled up to minimum filling level to enable pump operation. - If required, put the ice packs into the compartment inside the water tank to achieve an enhanced cooling effect.
Observe the labelling on the bottom of the water tank.
The ice packs can only be inserted into one side.
Otherwise, the pump is blocked.
- Reinsert the water tank and lock it with the clip.

- Make sure that the device is neither damp nor wet on the outside. Otherwise wipe it dry.
Evaporation filter drying function
Carry out the evaporation filter drying function prior to storage.
To do so, please proceed as follows:
- Press the button Speed (31) on the control panel or the remote control for 3 s.
The device switches to the highest fan stage for 20 min.
The LED Speed (20, stage 3) flashes.
No other functions or operating modes can be switched on. - Press the button On/Off (32) on the control panel or the remote control if you like to terminate the evaporation filter drying function prematurely.
Shutdown
Warning of electrical voltage
Do not touch the mains plug with wet or damp hands.
- Switch off the device.
- Hold onto the mains plug while pulling the power cable out of the mains socket.
- Empty and clean the water tank (see chapter Maintenance).
- Clean the device according to the Maintenance chapter.
- Store the device according to the Storage chapter.
Available accessories
Warning
Only use accessories and additional equipment specified in the operating manual.
Using insertion tools or accessories other than those specified in the operating manual may cause a risk of injury.
| Designation | Article number |
| Evaporation filter PAE 11/PAE 12 | 7.710.000.960 |
Errors and faults
The device has been checked for proper functioning several times during production. If malfunctions occur nonetheless, check the device according to the following list.
The device does not start:
- Check the power connection.
- Check the power cable and mains plug for damage.
- Check the on-site fusing.
- Wait for 10 minutes before restarting the device. If the device is not starting, have the electrics checked by a specialist company or by Trotec.
The device works with reduced or no capacity:
- Check the position of the horizontal ventilation flaps. They should be opened to the maximum.
- Check the air filter for dirt. If necessary, clean or replace the air filter.
- Check the minimum distance to walls or other objects.
Position the device a little more in the room’s centre if required.
The device is running, but there is no air cooling or pump operation:
- Check whether air cooling mode is activated.
- Check the filling level of the water tank (see chapter Filling the water tank).
- Check whether there are any objects blocking the pump inlet. Make sure that the pump inlet is not blocked.
- In case the pump does not operate despite a correctly filled water tank and activated air cooling mode, the pump might be defective. Please contact the customer service.
Water is leaking:
- Check the device for leaks.
- Check the water tank for tight fit.
The swing function is not working:
- The swing function motor might be defective. Please contact the customer service.
The device is loud or vibrates:
- Check whether the device is set up in a stable and upright position.
The device does not respond to the infrared remote control:
- Check whether the distance between remote control and device is too large and reduce it if necessary.
- Make sure there are no obstacles, such as furniture or walls, between the device and the remote control. Ensure visual contact between device and remote control.
- Check the charging status of the batteries and change them if required.
- If the batteries have just been changed, check them for correct polarity.
Your device still does not operate correctly after these checks?
Please contact the customer service. If necessary, bring the device to an authorised specialist electrical company or to Trotec for repair.
Maintenance
Maintenance intervals
| Maintenance and care interval | before every start-up | as needed | every 3 days | at least every 2 weeks | at least every 4 weeks | at least every 6 months | at least annually |
| Clean the water tank | x | ||||||
| Check air inlets and outlets for dirt and foreign objects and clean if necessary | x | x | |||||
| Clean the exterior | x | x | |||||
| Visually check the inside of the device for dirt | x | x | |||||
| Check the air filter for dirt and foreign objects and clean if necessary | x | x | |||||
| Replacing the evaporation filter | x | ||||||
| Check for damage | x | ||||||
| Check attachment screws | x | x | |||||
| Test run | x |
Maintenance and care log
Device type: ………………………………………
| Maintenance and care interval | 1 | 2 | 3 | 4 | 5 | 6 | 7 | 8 | 9 | 10 | 11 | 12 | 13 | 14 | 15 | 16 |
| Clean the water tank | ||||||||||||||||
| Check air inlets and outlets for dirt and foreign objects and clean if necessary | ||||||||||||||||
| Clean the exterior | ||||||||||||||||
| Visually check the inside of the device for dirt | ||||||||||||||||
| Check the air filter for dirt and foreign objects and clean if necessary | ||||||||||||||||
| Replacing the evaporation filter | ||||||||||||||||
| Check for damage | ||||||||||||||||
| Check attachment screws | ||||||||||||||||
| Test run | ||||||||||||||||
| Remarks: | ||||||||||||||||
| 1. Date: ……………………………. Signature: ……………………………. | 2. Date: ……………………………. Signature: ……………………………. | 3. Date: ……………………………. Signature: ……………………………. | 4. Date: ……………………………. Signature: ……………………………. |
| 5. Date: ……………………………. Signature: ……………………………. | 6. Date: ……………………………. Signature: ……………………………. | 7. Date: ……………………………. Signature: | 8. Date: ……………………………. Signature: ……………………………. |
| 9. Date: ……………………………. Signature: ……………………………. | 10. Date: ……………………………. Signature: ……………………………. | 11. Date: ……………………………. Signature: ……………………………. | 12. Date: ……………………………. Signature: ……………………………. |
| 13. Date: ……………………………. Signature: ……………………………. | 14. Date: ……………………………. Signature: ……………………………. | 15. Date: ……………………………. Signature: ……………………………. | 16. Date: ……………………………. Signature: ……………………………. |
Activities required before starting maintenance
Warning of electrical voltage
Do not touch the mains plug with wet or damp hands.
- Switch the device off.
- Hold onto the mains plug while pulling the power cable out of the mains socket.
Warning of electrical voltage
Tasks which require the housing to be opened must only be carried out by authorised specialist companies or by Trotec.
Visual inspection of the inside of the device for dirt
- Remove the air filter.
- Use a torch to illuminate the openings of the device.
- Check the inside of the device for dirt.
- If you see a thick layer of dust, have the inside of the device cleaned by a specialist electrical company or by Trotec.
- Put the air filter back in.

Cleaning the housing
Clean the housing with a soft, damp and lint-free cloth. Make sure that no moisture enters the housing. Protect electrical components from moisture. Do not use any aggressive cleaning agents such as cleaning sprays, solvents, alcohol-based or abrasive cleaners to dampen the cloth.
Cleaning the water tank
Warning
Use citric acid as cleaning/descaling agent for the water tank. Always wear gloves and protection glasses when cleaning the device since the acid may have caustic effects.
Additionally, please observe the manufacturer’s specifications and hazard warnings for citric acid.
Note
Clean the device with citric acid if you detect visible signs of limescale. To clean the device, heat it to max. 40 °C. Otherwise, the formation of citrate may cause damages to the device.
Before a longer period of non-use or storage the water tank should be drained.
- Release the water tank by turning the clip from its vertical position into the horizontal position.

- Remove the water tank from the device.

- Thoroughly rinse the water tank with citric acid (descaling agent). Allow the citric acid to work for max. 20 minutes.
- Then rinse the inside of the device with water.
- Dry the inside of the tank with a lint-free cloth.
- Fill the water tank with fresh drinking water if you want to continue operation (see chapter Adding water).
- Refit the water tank into the device.
- Lock the water tank by turning the clip from its horizontal position into the vertical position.

- In doing so, make sure that the water tank is inserted correctly, for otherwise the device cannot be switched back on.
Cleaning the air filter
The air filter has to be cleaned as soon as it is dirty. This is brought to light e.g. by a reduced capacity (see chapter Errors and faults).
Warning
Ensure that the air filter is not worn or damaged. The corners and edges of the air filter must not be eformed or rounded. Before reinserting the air filter, make sure that it is undamaged and dry!
- Remove the air filter from the device.

- Remove the evaporation filter from the air filter.

- Clean the filter using a slightly damp, soft, lint-free cloth. If the filter is heavily contaminated, clean it with warm water mixed with a neutral cleaning agent.
- Allow the filter to dry completely. Do not insert a wet filter into the device!
- Reinsert the evaporation filter to the air filter.

- Reinsert the air filter into the device.

Replacing the evaporation filter
Note
When set to air cooling mode, the device should not be operated without the evaporation filter, otherwise cooling will not work.
Note
Do not operate the device without an inserted air filter!
Without the air filter, the inside of the device will be heavily contaminated. This could reduce the performance and result in damage to the device.
The evaporation filter should be replaced in case of heavy soiling.
In standard operation, the interval for replacing the evaporation filter is approx. 1 year.
Allow the evaporation filter to dry before removing it from the device.
- Remove the air filter from the device.

- Remove the evaporation filter from the air filter.

- Dispose of used evaporation filter according to the national regulations.
- Insert the new evaporation filter into the air filter.

- Reinsert the air filter into the device.

Activities required after maintenance
If you want to continue using the device:
- Reconnect the device to the mains.
If you do not intend to use the device for a considerable time: - Store the device according to the Storage chapter.
Technical annex
Technical data
| Parameter | Value | Value |
| Model | RAE 11 | PAE 12 |
| Evaporation capacity | 460 ml/h | 460 ml/h |
| Air volume | 90 m3/h | 90 m3/h |
| Mains connection | 220 — 240 V / 50 Hz | 220 — 240 V / 50 Hz |
| Nominal current consumption | 0.2 A | 0.2 A |
| Power input | 45 W | 45 W |
| Sound pressure level (at a distance of 1 m) | 55 dB(A) | 55 dB(A) |
| Water tank capacity | 31 | 3 I |
| Weight | 3.5 kg | 4 kg |
| Dimensions (length x width x height) | 227 x 221 x 596 mm | 227 x 221 x 596 mm |
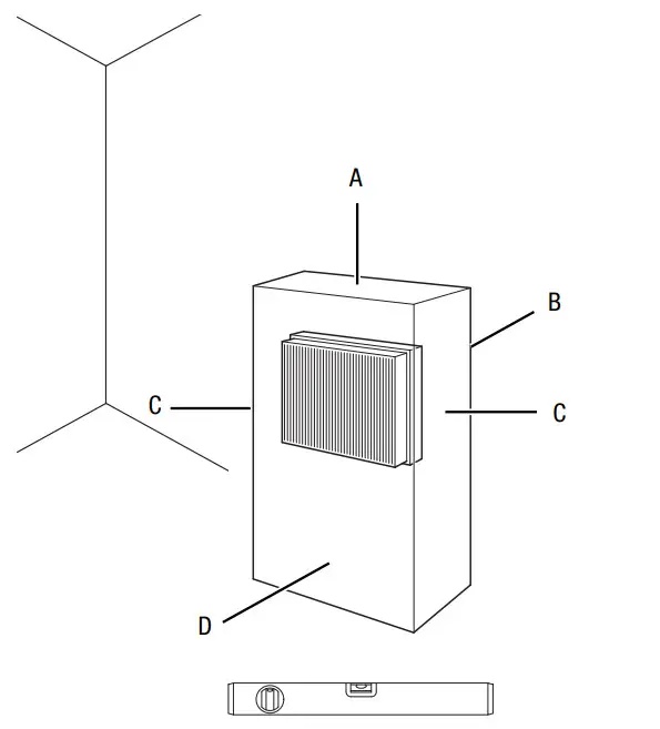
| Minimum distance to walls and other objects: top (A): rear (B): sides (C): front (D): | 20 cm 20 cm 20 cm 20 cm | 20 cm 20 cm 20 cm 20 cm |
| Remote control batteries | CR2032 – 3 V | CR2032 – 3 V |
Disposal
The icon with the crossed-out waste bin on waste electrical or electronic equipment stipulates that this equipment must not be disposed of with the household waste at the end of its life. You will find collection points for free return of waste electrical and electronic equipment in your vicinity. The addresses can be obtained from your municipality or local administration. For further return options provided by us please refer to our website https://de.trotec.com/shop/.
The separate collection of waste electrical and electronic equipment aims to enable the re-use, recycling and other forms of recovery of waste equipment as well as to prevent negative effects for the environment and human health caused by the disposal of hazardous substances potentially contained in the equipment.
In the European Union, batteries and accumulators must not be treated as domestic waste, but must be disposed of professionally in accordance with Directive 2006/66/EC of the European Parliament and of the Council of 6 September 2006 on batteries and accumulators. Please dispose of batteries and accumulators according to the relevant legal requirements.
Trotec GmbH
Grebbener Str. 7
D-52525 Heinsberg
+49 2452 962-400
+49 2452 962-200
[email protected]
www.trotec.com











































