ZANUSSI ZNLN18FS1 267 Litre Low Frost Integrated Fridge Freezer User Manual
SAFETY INFORMATION
Before the installation and use of the appliance, carefully read the supplied instructions. The manufacturer is not responsible for any injuries or damage that are the result of incorrect installation or usage. Always keep the instructions in a safe and accessible location for future reference.
CHILDREN AND VULNERABLE PEOPLE SAFETY
- This appliance can be used by children aged from 8 years and above and persons with reduced physical, sensory or mental capabilities or lack of experience and knowledge if they have been given supervision or instruction concerning the use of the appliance in a safe way and understand the hazards involved.
- Children aged from 3 to 8 years are allowed to load and unload the appliance provided that they have been properly instructed.
- This appliance may be used by persons with very extensive and complex disabilities provided that they have been properly instructed.
- Children of less than 3 years of age should be kept away from the appliance unless continuously supervised.
- Children should be supervised to ensure that they do not play with the appliance.
- Children shall not carry out cleaning and user maintenance of the appliance without supervision.
- Keep all packaging away from children and dispose of it appropriately.
GENERAL SAFETY
- This appliance is for storing food and baverages only.
- This appliance is designed for single household domestic use in an indoor environment.
- This appliance may be used in, offices, hotel guest rooms, bed & breakfast guest rooms, farm guest houses and other similar accommodation where such use does not exceed (average) domestic usage levels.
- To avoid contamination of food respect the followinginstructions:
- do not open the door for long periods;
- clean regularly surfaces that can come in contact with food and accessible drainage systems;
- store raw meat and fish in suitable containers in the refrigerator, so that it is not in contact with or drip onto other food.
- WARNING: Keep ventilation openings, in the appliance enclosure or in the built-in structure, clear of obstruction.
- WARNING: Do not use mechanical devices or other means to accelerate the defrosting process, other than those recommended by the manufacturer.
- WARNING: Do not damage the refrigerant circuit.
- WARNING: Do not use electrical appliances inside the food storage compartments of the appliance, unless they are of the type recommended by the manufacturer.
- Do not use water spray and steam to clean the appliance.
- Clean the appliance with a moist soft cloth. Only use neutral detergents. Do not use abrasive products, abrasive cleaning pads, solvents or metal objects.
- When the appliance is empty for long period, switch it off, defrost, clean, dry and leave the door open to prevent mould from developing within the appliance.
- Do not store explosive substances such as aerosol cans with a flammable propellant in this appliance.
- If the supply cord is damaged, it must be replaced by the manufacturer, its Authorised Service Centre or similarly qualified persons in order to avoid a hazard.
INSTALLATION
WARNING! Only a qualified person must install this appliance.
- Remove all the packaging.
- Do not install or use a damaged appliance.
- Do not use the appliance before installing it in the built-in structure due to safety manner.
- Follow the installation instructions supplied with the appliance.
- Always take care when moving the appliance as it is heavy. Always use safety gloves and enclosed footwear.
- Make sure the air can circulate around the appliance.
- At first installation or after reversing the door wait at least 4 hours before connecting the appliance to the power supply. This is to allow the oil to flow back in the compressor.
- Before carrying out any operations on the appliance (e.g. reversing the door), remove the plug from the power socket.
- Do not install the appliance close to radiators or cookers, ovens or hobs.
- Do not expose the appliance to the rain.
- Do not install the appliance where there is direct sunlight.
- Do not install this appliance in areas that are too humid or too cold.
- When you move the appliance, lift it by the front edge to avoid scratching the floor.
- The appliance contains a bag of desiccant. This is not a toy. This is not food. Please dispose of it immediately.
ELECTRICAL CONNECTION
WARNING! Risk of fire and electric shock.
WARNING! When positioning the appliance, ensure the supply cord is not trapped or damaged.
WARNING! Do not use multi-plug adapters and extension cables.
- The appliance must be earthed.
- Make sure that the parameters on the rating plate are compatible with the electrical ratings of the mains power supply.
- Always use a correctly installed shockproof socket.
- Make sure not to cause damage to the electrical components (e.g. mains plug, mains cable,
compressor). Contact the Authorised Service Centre or an electrician to change the electrical components. - The mains cable must stay below the level of the mains plug.
- Connect the mains plug to the mains socket only at the end of the installation. Make sure that there is access to the mains plug after the installation.
- Do not pull the mains cable to disconnect the appliance. Always pull the mains plug.
USE
WARNING! Risk of injury, burns, electric shock or fire.
The appliance contains flammable gas, isobutane (R600a), a natural gas with a high level of environmental compatibility. Be careful not to cause damage to the refrigerant circuit containing isobutane.
- Do not change the specification of this appliance.
- Any use of the built-in product as free-standing is strictly prohibited.
- Do not put electrical appliances (e.g. ice cream makers) in the appliance unless they are stated applicable by the manufacturer.
- If damage occurs to the refrigerant circuit, make sure that there are no flames and sources of ignition in the room. Ventilate the room.
- Do not let hot items to touch the plastic parts of the appliance.
- Do not put soft drinks in the freezer compartment. This will create pressure on the drink container.
- Do not store flammable gas and liquid in the appliance.
- Do not put flammable products or items that are wet with flammable products in, near or on the appliance.
- Do not touch the compressor or the condenser. They are hot.
- Do not remove or touch items from the freezer compartment if your hands are wet or damp.
- Do not freeze again food that has been thawed.
- Follow the storage instructions on the packaging of frozen food.
- Wrap the food in any food contact material before putting it in the freezer compartment.
INTERNAL LIGHTING
WARNING! Risk of electric shock.
- This product contains a light source of energy efficiency class G.
- Concerning the lamp(s) inside this product and spare part lamps sold separately: These lampsare intended to withstand extreme physical conditions in household appliances, such as temperature, vibration, humidity, or are intended to signal information about the operational status of the appliance. They are not intended to be used in other applications and are not suitable for household room illumination.
CARE AND CLEANING
WARNING! Risk of injury or damage to the appliance.
- Before maintenance, deactivate the appliance and disconnect the mains plug from the mains socket.
- This appliance contains hydrocarbons in the cooling unit. Only a qualified person must do the maintenance and the recharging of the unit.
- Regularly examine the drain of the appliance and if necessary, clean it. If the drain is blocked, defrosted water collects in the bottom of the appliance.
SERVICE
- To repair the appliance contact the Authorised Service Centre. Use original spare parts only.
- Please note that self-repair or non-professional repair can have safety consequences and might void the guarantee.
- The following spare parts will be available for 7 years after the model has been discontinued:
thermostats, temperature sensors, printed circuit boards, light sources, door handles, door hinges, trays and baskets. Please note that some of these spare parts are only available to professional repairers, and that not all spare parts are relevant for all models. - Door gaskets will be available for 10 years after the model has been discontinued.
WARNING! Risk of injury or suffocation
- Disconnect the appliance from the mains supply.
- Cut off the mains cable and discard it.
- Remove the door to prevent children and pets to be closed inside of the appliance.
- The refrigerant circuit and the insulation materials of this appliance are ozone-friendly.
- The insulation foam contains flammable gas.
Contact your municipal authority for information on how to discard the appliance correctly. - Do not cause damage to the part of the cooling unit that is near the heat exchanger.
INSTALLATION
WARNING! Refer to Safety chapters.
WARNING! Refer to installation instruction document to install your appliance.
WARNING! Fix the appliance in accordance with installation instruction document to avoid a risk of nstability of the appliance.
DIMENSIONS

Overall dimensions ¹
| H1 | mm | 1772 |
| W1* | mm | 548 |
| D1 | mm | 549 |
¹ the height, width and depth of the appliance without the handle including the width of the bottom hinges (8 mm)
Space required in use ²
| H2 (A+B) | mm | 1816 |
| W2* | mm | 548 |
| D2 | mm | 551 |
Space required in use ²
| A | mm | 1780 |
| B | mm | 36 |
² the height, width and depth of the appliance including the handle, plus the space necessary for free circulation of the cooling air including the width of the bottom hinges (8 mm)
Overall space required in use ³
| H3 (A+B) | mm | 1816 |
| W3* | mm | 548 |
| D3 | mm | 1071 |
³ the height, width and depth of the appliance including the handle, plus the space necessary for free circulation of the cooling air, plus the space necessary to allow door opening to the minimum angle permitting removal of all internal equipment including the width of the bottom hinges (8 mm)
LOCATION
To ensure appliance’s best functionality, you should not install the appliance in the nearby of the heat source (oven, stoves, radiators, cookers or hobs) or in a place with direct sunlight. Make sure that air can circulate freely around the back of the cabinet. This appliance should be installed in a dry, well ventilated indoor position.
This appliance is intended to be used at ambient temperature ranging from 10°C to 43°C.
The correct operation of the appliance can only be guaranteed within the specified temperature range.
If you have any doubts regarding where to install the appliance, please turn to the vendor, to our customer service or to the nearest Authorised Service Centre.
It must be possible to disconnect the appliance from the mains power supply. The plug must therefore be easily accessible after installation.
ELECTRICAL CONNECTION
CAUTION! Any electrical work required to install this appliance should be carried out by a qualified
electrician or competent person.
WARNING! This appliance must be earthed.
The manufacturer declines any liability should these safety measures not be observed.
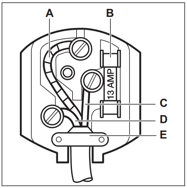
The wires in the mains lead are coloured in accordance with the following code:
- A – green and yellow: Earth
- C – brown: Live
- D – blue: Neutral
As the colours of the wires in the mains lead of this appliance may not correspond with the coloured markings identifying the terminals in your plug, proceed as follows:
- Connect the wire coloured green and yellow to the terminal marked either with the letter “E“ or by the earth symbol or coloured green and yellow.
- Connect the wire coloured blue to the terminal either marked with the letter “N“ or coloured black.
- Connect the wire coloured brown to the terminal either marked with the “L“ or coloured red.
- Check that no cut, or stray strands of wire is present and the cord clamp (E) is secure over the outer sheath.
Make sure the electricity supply voltage is the same as that indicated on the appliance rating plate. - Switch on the appliance.
The appliance is supplied with a 13 amp fuse (B). In the event of having to change the fuse in the plug supplied, a 13 amp ASTA approved (BS 1362) fuse must be used.
WARNING! A cut off plug inserted into a 13 amp socket is a serious safety (shock) hazard. Ensure that it is disposed of safely.
ENTILATION REQUIREMENTS
The airflow behind the appliance must be sufficient.
CAUTION! Refer to the installation instructions for the installation.
DOOR REVERSIBILITY
Please refer to the separate document with instructions on installation and door reversal.
CAUTION! At every stage of reversing the door protect the floor from scratching with a durable material.
CONTROL PANEL
- Temperature indicator LED
- FastFreeze indicator
- FastFreeze button
- Temperature regulator ON/OFF button

SWITCHING ON
- Insert the plug into the wall socket.
- Touch the temperature regulator button if all
LED indicators are off.
SWITCHING OFF
Keep touching the temperature regulator button for 3 seconds.
All indicators light off.
TEMPERATURE REGULATION
To operate the appliance, touch the temperature regulator until the LED corresponding to the required temperature lights up. Selection is progressive, varying from 2°C to 8°C. Recommended setting is 4°C.
- Touch temperature regulator.
Current temperature indicator blinks. Any time you touch the temperature regulator, the setting moves by one position. The corresponding LED blinks for a while. - Touch the temperature regulator until the required temperature is selected.
The set temperature will be reached within 24 hours. After a power failure the set temperature remains stored.
FASTFREEZE FUNCTION
The FastFreeze function is used to perform prefreezing and fast freezing in sequence in the freezer compartment. This function accelerates the freezing of fresh food and, at the same time, protects food products already stored in the freezer compartment from undesirable warming.
To freeze fresh food activate the FastFreeze function at least 24 hours before placing the food to complete pre-freezing.
To activate FastFreeze function press the FastFreeze button. The FastFreeze indicator switches on.
This function stops automatically after 52 hours.
It is possible to deactivate the function at any time by pressing FastFreeze button again. The FastFreeze indicator switches off.
DOOR OPEN ALARM
If the fridge door is left open for approximately 5 minutes, the sound is on.
During the alarm the sound can be muted by pressing any button. The sound switches off automatically after around one hour to avoid disturbing.
The alarm deactivates after closing the door.
DAILY USE
POSITIONING THE DOOR SHELVES
To permit storage of food packages of various sizes, the door shelves can be placed at different heights.
- Gradually pull the shelf up until it comes free.
- Reposition as required.

MOVABLE SHELVES
The walls of the refrigerator are equipped with a series of runners so that the shelves can bepositioned as desired.
Do not move the glass shelf above the vegetable drawer to ensure correct air circulation.
VEGETABLE DRAWERS
There are special drawers in the bottom part of the appliance suitable for storage of fruits and vegetables.
FREEZING FRESH FOOD
The freezer compartment is suitable for freezing fresh food and storing frozen and deep-frozen foodfor a long time.
To freeze fresh food activate the FastFreeze function at least 24 hours before placing the food to be frozen in the freezer compartment.
Store the fresh food evenly distributed in all compartments or drawers.
The maximum amount of food that can be frozen without adding other fresh food during 24 hours is specified on the rating plate (a label located inside the appliance).
When the freezing process is complete, the appliance automatically returns to the previous temperature setting (see “FastFreeze Function”).
In this condition, the temperature inside the refrigerator might change slightly.
For more information refer to “Hints for freezing”.
STORAGE OF FROZEN FOOD
When activating an appliance for the first time or after a period out of use, before putting the products in the compartment let the appliance run at least 3 hours with the FastFreeze function switched on.
The freezer drawers ensure that it is quick and easy to find the food package you want. If large quantities of food are to be stored, remove all drawers and place the food on shelves. Keep the food no closer than 15 mm from the door.
CAUTION! In the event of accidental defrosting, for example due to a power failure, if the power has been off for longer than the value shown on rating plate under “rising time”, the defrosted food must be consumed quickly or cooked immediately then cooled and then re-frozen.
THAWING
Deep-frozen or frozen food, prior to being consumed, can be thawed in the refrigerator or inside a plastic bag under cold water.
This operation depends on the time available and on the type of food. Small pieces may even be cooked still frozen.
ICE-CUBE PRODUCTION
This appliance is equipped with one or more trays for the production of ice-cubes.
Do not use metallic instruments to remove the trays from the freezer.
- Fill these trays with water.
- Put the ice trays in the freezer compartment.
HINTS AND TIPS
HINTS FOR ENERGY SAVING
- Freezer: The internal configuration of the appliance is the one that ensures the most efficient use of energy.
- Fridge: Most efficient use of energy is ensured in the configuration with the drawers in the bottom part of the appliance and shelves evenly distributed. Position of the door bins does not affect energy consumption.
- Do not open the door frequently or leave it open longer than necessary.
- Freezer: The colder the temperature setting, the higher the energy consumption.
- Fridge: Do not set too high temperature to save energy unless it is required by the characteristics of the food.
- If the ambient temperature is high and the temperature control is set to low temperature and the appliance is fully loaded, the compressor may run continuously, causing frost or ice formation on the evaporator. In this case, set the temperature control toward higher temperature to allow automatic defrosting and to save energy this way.
- Ensure a good ventilation. Do not cover the ventilation grilles or holes.
HINTS FOR FREEZING
- Activate FastFreeze function at least 24 hours before placing the food inside the freezer compartment.
- Before freezing wrap and seal fresh food in: aluminium foil, plastic film or bags, airtight containers with lid.
- For more efficient freezing and thawing divide food into small portions.
- It is recommended to put labels and dates on allyour frozen food. This will help to identify foods and to know when they should be used before their deterioration.
- The food should be fresh when being frozen to preserve good quality. Especially fruits and vegetables should be frozen after the harvest to preserve all of their nutrients.
- Do not freeze bottles or cans with liquids, in particular drinks containing carbon dioxide – they may explode during freezing.
- Do not put hot food in the freezer compartment. Cool it down at room temperature before placing it inside the compartment.
- To avoid increase in temperature of already frozen food, do not place fresh unfrozen food directly next to it. Place food at room temperature in the part of the freezer compartment where there is no frozen food.
- Do not eat ice cubes, water ices or ice lollies immediately after taking them out of the freezer.
Risk of frostbites. - Do not re-freeze defrosted food. If the food has defrosted, cook it, cool it down and then freezeit.
HINTS FOR STORAGE OF FROZEN FOOD
- Freezer compartment is the one marked with.

- The medium temperature setting ensures good preservation of frozen food products. Higher temperature setting inside the appliance may lead to shorter shelf life.
- The whole freezer compartment is suitable for storage of frozen food products.
- Leave enough space around the food to allow air to circulate freely.
- For adequate storage refer to food packaging label to see the shelf life of food.
- It is important to wrap the food in such a waythat prevents water, humidity or condensation from getting inside.
SHOPPING TIPS
After grocery shopping:
- Ensure that the packaging is not damaged – the food could be deteriorated. If the package is swollen or wet, it might have not been stored in the optimal conditions and defrosting may have already started.
- To limit the defrosting process buy frozen goods at the end of your grocery shopping and transport them in a thermal and insulated cool bag
- Place the frozen foods immediately in the freezer after coming back from the shop.
- If food has defrosted even partially, do not refreeze it. Consume it as soon as possible.
- Respect the expiry date and the storage information on the package.
SHELF LIFE FOR FREEZER COMPARTMENT
| Type of food | Shelf life (months) |
| Bread | 3 |
| Fruits (except citrus) | 6 – 12 |
| Vegetables | 8 – 10 |
| Leftovers without meat | 1 – 2 |
| Daily Food: | |
| Butter | 6 – 9 |
| Soft cheese (e.g. mozzarella) | 3 – 4 |
| Hard cheese (e.g. parmesan, cheddar) | 6 |
| Seafood: | |
| Fatty fish (e.g. salmon, mackerel) | 2 – 3 |
| Lean fish (e.g. cod, flounder) | 4 – 6 |
| Shrimps | 12 |
| Shucked clams and mussels | 3 – 4 |
| Cooked fish | 1 – 2 |
| Meat: | |
| Poultry | 9 – 12 |
| Beef | 6 – 12 |
| Pork | 4 – 6 |
| Lamb | 6 – 9 |
| Sausage | 1 – 2 |
| Ham | 1 – 2 |
| Leftovers with meat | 2 – 3 |
HINTS FOR FRESH FOOD REFRIGERATION
- Good temperature setting that ensures preservation of fresh food is a temperature less than or equal to +4°C.
Higher temperature setting inside the appliance may lead to shorter shelf life of food. - Cover the food with packaging to preserve its freshness and aroma.
- Always use closed containers for liquids and for food, to avoid flavours or odours in thecompartment.
- To avoid the cross-contamination between cooked and raw food, cover the cooked food and separate it from the raw one.
- It is recommended to defrost the food inside the fridge.
- Do not insert hot food inside the appliance.
Make sure it has cooled down at room temperature before inserting it. - To prevent food waste the new stock of food should always be placed behind the old one.
HINTS FOR FOOD REFRIGERATION
- Fresh food compartment is the one marked (on the rating plate) with
. - Meat (all types): wrap in a suitable packaging and place it on the glass shelf above the vegetable drawer. Store meat for at most 1-2 days.
- Fruit and vegetables: clean thoroughly (eliminate the soil) and place in a special drawer (vegetable drawer).
- It is advisable not to keep the exotic fruits like bananas, mangos, papayas etc. in the refrigerator.
- Vegetables like tomatoes, potatoes, onions, and garlic should not be kept in the refrigerator.
- Butter and cheese: place in an airtight container or wrap in an aluminium foil or a polythene bag to exclude as much air as possible.
- Bottles: close them with a cap and place them on the door bottle shelf, or (if available) on the bottle rack.
- Always refer to the expiry date of the products to know how long to keep them.
CARE AND CLEANING
WARNING! Refer to Safety chapters.
CLEANING THE INTERIOR
Before using the appliance for the first time, the interior and all internal accessories should be washed with lukewarm water and some neutral soap to remove the typical smell of a brand-new product, then dried thoroughly.
CAUTION! Do not use detergents, abrasive powders, chlorine or oilbased cleaners as they will damage the finish.
CAUTION! The accessories and parts of the appliance are not suitable for washing in a dishwasher.
PERIODIC CLEANING
The equipment has to be cleaned regularly:
- Clean the inside and accessories with lukewarm water and some neutral soap.
- Regularly check the door seals and wipe them clean to ensure they are clean and free from debris.
- Rinse and dry thoroughly.
DEFROSTING OF THE REFRIGERATOR
Frost is automatically eliminated from the evaporator of the refrigerator compartment duringnormal use. The defrost water drains out through a trough into a special container at the back of the appliance, over the motor compressor, where it evaporates.
It is important to periodically clean the defrost water drain hole in the middle of the refrigerator compartment channel to prevent the water overflowing and dripping onto the food inside.
For this purpose use the tube cleaner provided with the appliance.
DEFROSTING OF THE FREEZER
CAUTION! Never use sharp metal tools to scrape off frost from the evaporator as you could damage it.
Do not use a mechanical device or any artificial means to speed up the thawing process other than those recommended by the manufacturer. Do not use the supplied ice scraper to prepare food.
About 12 hours prior to defrosting set a lower temperature in order to build up sufficient chill reserve in case of any interruption in operation.
A certain amount of frost will always form on the freezer shelves and around the top compartment. Defrost the freezer when the frost layer reaches a thickness of about 3-5 mm.
- Switch off the appliance or pull out electrical plug from the wall socket.
- Remove any stored food and put it in a cool place.
CAUTION! A temperature rise of the frozen food packs during defrosting may shorten their safe storage life.
Do not touch frozen goods with wet hands. Hands can freeze to the goods. - Leave the door open. Protect the floor from the defrosting water e.g. with a cloth or a flat vessel.
- In order to speed up the defrosting process, place a pot of warm water in the freezer compartment. In addition, remove pieces of ice that break away before defrosting is complete.
Use the supplied ice scraper for this purpose. - When defrosting is complete, dry the interior thoroughly. Keep the ice scraper for the future use.
- Switch on the appliance and close the door.
- Set the temperature regulator to obtain the maximum coldness and run the appliance for at least 3 hours using this setting.
Only after this time put the food back into the freezer compartment.
PERIOD OF NON-OPERATION
When the appliance is not in use for long period, take the following precautions:
- Disconnect the appliance from electricity supply.
- Remove all food.
- Defrost the appliance.
- Clean the appliance and all accessories.
- Leave the doors open to prevent unpleasant smells.
TROUBLESHOOTING
WARNING! Refer to Safety chapters.
WHAT TO DO IF…
| Problem | Possible cause | Solution |
| The appliance does not oper- ate. | The appliance is switched off. | Switch on the appliance. |
| The mains plug is not connec- ted to the mains socket cor- rectly. | Connect the mains plug to the mains socket correctly. | |
| There is no voltage in the mains socket. | Connect a different electrical appliance to the mains socket. Contact a qualified electrician. | |
| The appliance is noisy. | The appliance is not supported properly. | Check if the appliance stands stable. |
| Acoustic or visual alarm is on. | The cabinet has been recently switched on. | Refer to “Door Open Alarm” or “High Temperature Alarm”. |
| The temperature in the appli- ance is too high. | Refer to “Door Open Alarm” or “High Temperature Alarm”. | |
| The door is left open. | Close the door. | |
| The compressor operates con- tinually. | Temperature is set incorrectly. | Refer to “Control Panel” chap- ter. |
| Many food products were put in at the same time. | Wait a few hours and then check the temperature again. | |
| The room temperature is too high. | Refer to “Installation” chapter. | |
| Food products placed in the appliance were too warm. | Allow food products to cool to room temperature before stor- ing. | |
| The door is not closed correct- ly. | Refer to “Closing the door” section. | |
| The FastFreeze function is switched on. | Refer to “FastFreeze function” section. | |
| The compressor does not start immediately after pressing the “FastFreeze”, or after changing the temperature. | The compressor starts after a period of time. | This is normal, no error has oc- curred. |
| Door is misaligned or interferes with ventilation grill. | The appliance is not levelled. | Refer to installation instruc- tions. |
| Door does not open easily. | You attempted to re-open the door immediately after closing. | Wait a few seconds between closing and re-opening of the door. |
| The lamp does not work. | The lamp is in stand-by mode. | Close and open the door. |
| The lamp is defective. | Contact the nearest Author- ized Service Centre. | |
| There is too much frost and ice. | The door is not closed correct- ly. | Refer to “Closing the door” section. |
| The gasket is deformed or dirty. | Refer to “Closing the door” section. | |
| Food products are not wrap- ped properly. | Wrap the food products better. | |
| Temperature is set incorrectly. | Refer to “Control Panel” chap- ter. | |
| Appliance is fully loaded and is set to the lowest temperature. | Set a higher temperature. Re- fer to “Control Panel” chapter. | |
| Temperature set in the appli- ance is too low and the ambi- ent temperature is too high. | Set a higher temperature. Re- fer to “Control Panel” chapter. | |
| Water flows on the rear plate of the refrigerator. | During the automatic defrost- ing process, frost melts on the rear plate. | This is correct. |
| There is too much condensed water on the rear wall of the re- frigerator. | Door was opened too fre- quently. | Open the door only when nec- essary. |
| Door was not closed com- pletely. | Make sure the door is closed completely. | |
| Stored food was not wrapped. | Wrap food in suitable packag- ing before storing it in the ap- pliance. | |
| Water flows inside the refriger- ator. | Food products prevent the wa- ter from flowing into the water collector. | Make sure that food products do not touch the rear plate. |
| The water outlet is clogged. | Clean the water outlet. | |
| Water flows on the floor. | The melting water outlet is not connected to the evaporative tray above the compressor. | Attach the melting water outlet to the evaporative tray. |
| Temperature cannot be set. | The “FastFreeze function” is switched on. | Switch off “FastFreeze func- tion” manually, or wait until the function deactivates automati- cally to set the temperature. Refer to “FastFreeze function” section. |
| The temperature in the appli- ance is too low/too high. | The temperature is not set cor- rectly. | Set a higher/lower tempera- ture. |
| The door is not closed correct- ly. | Refer to “Closing the door” section. | |
| The food products’ tempera- ture is too high. | Let the food products temper- ature decrease to room tem- perature before storage. | |
| Many food products are stored at the same time. | Store less food products at the same time. | |
| The thickness of the frost is greater than 4-5 mm. | Defrost the appliance. | |
| The door has been opened of- ten. | Open the door only if necessa- ry. | |
| The FastFreeze function is switched on. | Refer to “FastFreeze function” section. | |
| There is no cold air circulation in the appliance. | Make sure that there is cold air circulation in the appliance. Refer to “Hints and Tips” chap- ter. | |
| Some specific surfaces inside the fridge compartment are warmer at some times. | This is a normal state. | |
| Temperature setting LEDs flash at the same time. | An error has occurred in meas- uring the temperature. | Contact the nearest Author- ised Service Centre. The cool- ing system will continue to keep food products cold, but temperature adjustment will not be possible. |
If the advice does not lead to the desired result, call the nearest Authorized Service Centre.
REPLACING THE LAMP
The appliance is equipped with a longlife LED interior light.
Only service is allowed to replace the lighting device. Contact your Authorised Service Centre.
CLOSING THE DOOR
- Clean the door gaskets.
- If necessary, adjust the door. Refer to installation instructions.
- If necessary, replace the defective door gaskets. Contact the Authorised Service Centre.
NOISES

TECHNICAL DATA
The technical information is situated in the rating plate on the internal side of the appliance and on the energy label.
The QR code on the energy label supplied with the appliance provides a web link to the information related to the performance of the appliance. Keep the energy label for reference together with the user manual and all other documents provided with this appliance.
INFORMATION FOR TEST INSTITUTES
Installation and preparation of the appliance for any EcoDesign verification shall be compliant with BS EN 62552. Ventilation requirements, recessdimensions and minimum rear clearances shall be as stated in this User Manual at Chapter 3. Please contact the manufacturer for any other further information, including loading plans.
ENVIRONMENTAL CONCERNS
Recycle materials with the symbol
. Put the packaging in relevant containers to recycle it. Help protect the environment and human health by recycling waste of electrical and electronic appliances. Do not dispose of appliances marked with the symbol
with the household waste. Return the product to your local recycling facility or contact your municipal office.
Support





















