
User Manual
Fridge Freezer
ZBB27450SA
Safety information
Before the installation and use of the appliance, carefully read the supplied instructions. The manufacturer is not responsible if an incorrect installation and use cause injuries and damages. Always keep the instructions with the appliance for future reference.
Children and vulnerable people’s safety
- This appliance can be used by children aged 8 years and above and persons with reduced physical, sensory or mental capabilities or lack of experience and knowledge if they have been given supervision or instruction concerning the use of the appliance in a safe way and understand the hazards involved.
- Do not let children play with the appliance.
- Cleaning and user maintenance shall not be made by children without supervision.
- Keep all packaging away from children.
General Safety
- This appliance is intended to be used in household and similar applications such as:
– Farmhouses; staff kitchen areas in shops, offices, and other working environments
– By clients in hotels, motels, bed and breakfast, and other residential type environments - Keep ventilation openings, in the appliance enclosure or in the built-in structure, clear of obstruction.
- Do not use mechanical devices or other means to accelerate the defrosting process, other than those recommended by the manufacturer.
- Do not damage the refrigerant circuit.
- Do not use electrical appliances inside the food storage compartments of the appliance, unless they are of the type recommended by the manufacturer.
- Do not use water spray and steam to clean the appliance.
- Clean the appliance with a moist soft cloth. Only use neutral detergents. Do not use abrasive products, abrasive cleaning pads, solvents, or metal objects.
- Do not store explosive substances such as aerosol cans with a flammable propellant in this appliance.
- If the supply cord is damaged, it must be replaced by the manufacturer, its Authorised Service Centre, or similarly qualified persons in order to avoid a hazard.
Safety instructions
Installation
WARNING!
Only a qualified person must install this appliance.
- Remove all the packaging.
- Do not install or use a damaged appliance.
- Obey the installation instruction supplied with the appliance.
- Always be careful when you move the appliance because it is heavy. Always wear safety gloves.
- Make sure the air can circulate around the appliance.
- Wait at least 4 hours before connecting the appliance to the power supply. This is to allow the oil to flow back into the compressor.
- Do not install the appliance close to radiators or cookers, oven, or hobs.
- The rear of the appliance must stand against the wall.
- Do not install the appliance where there is direct sunlight.
- Do not install this appliance in areas that are too humid or too cold, such as the construction appendices, garages, or wine cellars.
- When you move the appliance, lift it by the front edge to avoid scratching the floor.
Electrical connection
WARNING!
Risk of fire and electrical shock.
- The appliance must be earthed.
- Make sure that the electrical information on the rating plate agrees with the power supply. If not, contact an electrician.
- Always use a correctly installed shockproof socket.
- Do not use multi-plug adapters and extension cables.
- Make sure not to cause damage to the electrical components (e.g. mains plug, mains cable, compressor). Contact the Authorised Service Centre or an electrician to change the electrical components.
- The main cable must stay below the level of the mains plug.
- Connect the mains plug to the mains socket only at the end of the installation. Make sure that there is access to the mains plug after the installation.
- Do not pull the main cable to disconnect the appliance. Always pull the mains plug.
Use
WARNING!
Risk of injury, burns, electrical shock , or fire.
- Do not change the specification of this appliance.
- Do not put electrical appliances (e.g. ice cream makers) in the appliance unless they are stated applicable by the manufacturer.
- Be careful not to cause damage to the refrigerant circuit. It contains isobutane (R600a), a natural gas with a high level of environmental compatibility. This gas is
flammable. - If damage occurs to the refrigerant circuit, make sure that there are no flames and sources of ignition in the room. Ventilate the room.
- Do not let hot items touch the plastic parts of the appliance.
- Do not put soft drinks in the freezer compartment. This will create pressure on the drink container.
- Do not store flammable gas and liquid in the appliance.
- Do not put flammable products or items that are wet with flammable products in, near or on the appliance.
- Do not touch the compressor or the condenser. They are hot.
- Do not remove or touch items from the freezer compartment if your hands are wet or damp.
- Do not freeze again food that has been thawed.
- Obey the storage instructions on the packaging of frozen food.
Care and cleaning
WARNING!
Risk of injury or damage to the appliance.
- Before maintenance, deactivate the appliance and disconnect the mains plug from the mains socket.
- This appliance contains hydrocarbons in the cooling unit. Only a qualified person must do the maintenance and the recharging of the unit.
- Regularly examine the drain of the appliance and if necessary, clean it. If the drain is blocked, defrosted water collects in the bottom of the appliance.
Disposal
WARNING!
Risk of injury or suffocation.
- Disconnect the appliance from the main supply.
- Cut off the mains cable and discard it.
- Remove the door to prevent children and pets to be closed inside of the appliance.
- The refrigerant circuit and the insulation materials of this appliance are ozone-friendly.
- The insulation foam contains flammable gas. Contact your municipal authority for information on how to discard the appliance correctly.
- Do not cause damage to the part of the cooling unit that is near the heat exchanger.
Operation
Switching on
Insert the plug into the wall socket.
Switching off
To turn off the appliance, turn the temperature regulator to the “0” position.
Temperature regulation
The temperature is regulated automatically.
A medium setting is generally the most suitable.
However, the exact setting should be chosen to keep in mind that the temperature inside the appliance depends on:
- room temperature,
- how often the door is opened,
- the quantity of food stored,
- the location of the appliance.
- Turn the Temperature regulator toward lower settings to obtain the minimum coldness.
- Turn the Temperature regulator toward higher settings to obtain the maximum coldness.
CAUTION!
If the ambient temperature is high or the appliance is fully loaded, and the appliance is set to the lowest temperatures, it may run continuously causing frost to form on the rear wall. In this case, the dial must be set to a higher temperature to allow automatic defrosting and therefore reduced energy consumption.
Daily Use
Cleaning the interior
Before using the appliance for the first time, wash the interior and all internal accessories with lukewarm water and some neutral soap so as to remove the typical smell of a brand-new product, then dry thoroughly.
WARNING!
Do not use detergents or abrasive powders, as these will damage the finish.
Movable shelves
The walls of the refrigerator are equipped with a series of runners so that the shelves can be positioned as desired.

Positioning the door shelves
To permit the storage of food packages of various sizes, the door shelves can be placed at different heights.
- Gradually pull the shelf in the direction of the arrows until it comes free

- Reposition as required.
Freezing fresh food
The freezer compartment is suitable for freezing fresh food and storing frozen and deep-frozen food for a long time.
To freeze fresh foods it is not necessary to change the medium setting.
However, for a faster freezing operation, turn the temperature regulator toward higher settings to obtain the maximum coldness.
In this condition, the refrigerator compartment temperature might drop below 0°C. If this occurs reset the temperature regulator to a warmer setting.
Place the fresh food to be frozen in the second compartment.
The maximum amount of food that can be frozen in 24 hours is specified on the rating plate, a label located on the inside of the appliance. The freezing process lasts 24 hours: during this period do not add other food to be frozen.
Ice-cube production
This appliance is equipped with one or more trays for the production of ice-cubes.
Do not use metallic instruments to remove the trays from the freezer.
- Fill these trays with water
- Put the ice trays in the freezer compartment.
Thawing
Deep-frozen or frozen food, prior to being used, can be thawed in the refrigerator compartment or at room temperature, depending on the time available for this operation.
Small pieces may even be cooked still frozen, directly from the freezer: in this case, cooking will take longer.
Storage of frozen food
When first starting-up or after a period out of use, before putting the products in the compartment let the appliance run at least 2 hours on the higher settings.
If large quantities of food are to be stored, remove all drawers and baskets from the appliance and place food on cooling shelves to obtain the best performance.
WARNING!
Make sure that foods do not exceed the load limit stated on the side of the upper section (where applicable)
![]()
In the event of accidental defrosting, for example, due to a power failure, if the power has been off for longer than the value shown in the technical characteristics chart under “rising time”, the defrosted food must be consumed quickly or cooked immediately and then re-frozen (after cooling).
Hints and tips
Normal operating sounds
The following sounds are normal during operation:
- A faint gurgling and bubbling sound from coils sound when the refrigerant is pumped.
- A whirring and a pulsating sound from the compressor when the refrigerant is pumped.
- A sudden cracking noise from inside appliance caused by thermic dilatation (a natural and not dangerous physical phenomenon).
- A faint click noise from the temperature regulator when the compressor switches on or off.
Hints for energy saving
- Do not open the door frequently or leave it open longer than absolutely necessary.
Hints for fresh food refrigeration
To obtain the best performance: - do not store warm food or evaporating liquids in the refrigerator
- do cover or wrap the food, particularly if it has a strong flavour
- position food so that air can circulate freely around it
Hints for refrigeration
Useful hints:
- Meat (all types): wrap in polythene bags and place on the glass shelf above the vegetable drawer.
- For safety, store in this way only one or two days at the most.
- Cooked foods, cold dishes, etc..: these should be covered and may be placed on any shelf.
- Fruit and vegetables: these should be thoroughly cleaned and placed in the special drawer(s) provided.
- Butter and cheese: these should be placed in special airtight containers or wrapped in aluminum foil or polythene bags to exclude as much air as possible.
- Bottles: these need a cap and should be stored on the door bottle shelf, or (if equipped) on the bottle rack.
- Bananas, potatoes, onions, and garlic, if not packed, must not be kept in the refrigerator.
Hints for freezing
To help you make the most of the freezing process, here are some important hints:
- the maximum quantity of food which can be frozen in 24 hrs. is shown on the rating plate;
- the freezing process takes 24 hours. No further food to be frozen should be added during this period;
- freeze only top quality, fresh, and thoroughly cleaned, foodstuffs;
- prepare food in small portions to enable it to be rapidly and completely frozen and to make it possible subsequently to thaw only the quantity required;
- wrap up the food in aluminum foil or polythene and make sure that the packages are airtight;
- do not allow fresh, unfrozen food to touch food that is already frozen, thus avoiding a rise in temperature of the latter;
- lean foods store better and longer than fatty ones; salt reduces the storage life of food;
- water ices, if consumed immediately after removal from the freezer compartment, can possibly cause the skin to be freeze burnt;
- it is advisable to show the freezing in date on each individual pack to enable you to keep a tab of the storage time.
Hints for storage of frozen food
To obtain the best performance from this appliance, you should:
- make sure that the commercially frozen foodstuffs were adequately stored by the retailer;
- be sure that frozen foodstuffs are transferred from the food store to the freezer in the shortest possible time;
- not open the door frequently or leave it open longer than absolutely necessary;
- once defrosted, food deteriorates rapidly and cannot be refrozen;
- do not exceed the storage period indicated by the food manufacturer.
Care and cleaning
WARNING!
Refer to Safety chapters. Periodic cleaning
CAUTION!
Do not pull, move or damage any pipes and/or cables inside the cabinet.
CAUTION!
Take care not to damage the cooling system.
CAUTION!
When moving the cabinet, lift it by the front edge to avoid scratching the floor.
The equipment has to be cleaned regularly:
- Clean the inside and accessories with lukewarm water and some neutral soap.
- Regularly check the door seals and wipe them clean to ensure they are clean and free from debris.
- Rinse and dry thoroughly.
- If accessible, clean the condenser and the compressor at the back of the appliance with a brush. This operation will improve the performance of the appliance and save electricity consumption.
Defrosting of the refrigerator
Frost is automatically eliminated from the evaporator of the refrigerator compartment every time the motor compressor stops, during normal use. The defrost water drains out
through a trough into a special container at the back of the appliance, over the motor compressor, where it evaporates.
It is important to periodically clean the defrost water drain hole in the middle of the refrigerator compartment channel to prevent the water from overflowing and dripping onto the food inside.
Defrosting the freezer
CAUTION!
Never use sharp metal tools to scrape off frost from the evaporator as you could damage it. Do not use a mechanical device or any artificial means to speed up the thawing
process other than those recommended by the manufacturer.
A temperature rise of the frozen food packs, during defrosting, may shorten their safe storage life.
About 12 hours prior to defrosting, set a lower temperature, in order to build up sufficient chill reserve for the interruption in operation.
A certain amount of frost will always form on the freezer shelves and around the top compartment.
Defrost the freezer when the frost layer reaches a thickness of about 3-5 mm.
- Switch off the appliance, or pull out electrical plug from the wall socket.
- Remove any stored food, wrap it in several layers of newspaper, and put it in a cool place.
WARNING!
Do not touch frozen goods with wet hands. Hands can freeze to the goods. - Switch on the appliance. After three hours reload the previously removed food into the freezer compartment.
Periods of non-operation
When the appliance is not in use for long periods, take the following precautions:
- Disconnect the appliance from the electricity supply.
- Remove all food.
- Defrost (if necessary) and clean the appliance and all accessories.
- Clean the appliance and all accessories.
- Leave the door/doors open to prevent unpleasant smells.
WARNING!
If the cabinet will be kept on, ask somebody to check it once in a while to prevent the food inside from spoiling in case of a power failure.
Troubleshooting
WARNING!
Refer to Safety chapters.
What to do if…
| Problem | Possible cause Solution | |
| The appliance does not operate. | The appliance is switched off. | Switch on the appliance. |
| The mains plug is not connected to the mains socket correctly. | Connect the mains plug to the mains socket correctly. | |
| There is no voltage in the main socket. | Connect a different electrical appliance to the main socket. Contact a qualified electrician. | |
| Problem | Possible cause Solution | |
| The appliance is noisy. | The appliance is not supported properly. | Check if the appliance stands stable. |
| The compressor operates continually. | Temperature is set incorrectly. | Refer to the “Operation” chapter. |
| Many food products were put in at the same time. | Wait some hours and then check the temperature again. | |
| The room temperature is too high. | Refer to the climate class chart on the rating plate. | |
| Food products placed in the appliance were too warm. | Allow food products to cool to room temperature before storing. | |
| The door is not closed correctly. | Refer to “Closing the door”. | |
| The water drainage plug is not correctly positioned. | Position the water drainage plug in the correct way. | |
| Food products are not wrapped- ped properly. | Wrap the food products better. | |
| Temperature is set incorrectly. | Refer to the “Operation” chapter. | |
| Water flows inside the refrigerator. | The water outlet is clogged. | Clean the water outlet. |
| Food products prevent that water flows into the water collector. | Make sure that food products do not touch the rear plate. | |
| Water flows on the floor. | The melting water outlet is not connected to the evaporative tray above the compressor. | Attach the melting water outlet to the evaporative tray. |
| The temperature in the appliance is too low/too high. | The temperature regulator is not set correctly. | Set a higher/lower temperature. |
| The door is not closed correctly. | Refer to “Closing the door”. | |
| The food products’ temperature is too high. | Let the food products temperature decrease to room temperature be- fore storage. | |
| Many food products are stored at the same time. | Storeless food products at the same time. | |
| The thickness of the frost is greater than 4-5 mm. | Defrost the appliance. | |
| The door has been opened often. | Open the door only if necessary. | |
| Problem | Possible cause Solution | |
| There is no cold air circulation in the appliance. | Make sure that there is cold air circulation in the appliance. | |
If the advice does not lead to the desired result, contact the nearest Authorised Service Centre.
Replacing the lamp
CAUTION!
Disconnect the plug from the main socket.
- At the same time, with the fingers expand up and down the transparent cover and unhook it in the direction of the arrows.

- Replace the lamp with one of the same power and shape, specifically designed for household appliances. (the maximum power is shown on the light bulb cover).
- Reassemble the lamp cover.
- Connect the plug to the main socket.
- Open the door. Make sure that the light comes on.
Closing the door
- Clean the door gaskets.
- If necessary, adjust the door. Refer to “Installation”.
- If necessary, replace the defective door gaskets. Contact the Authorised Service Centre.
Technical information
Technical data
| Dimensions of the recess | ||
| Height | mm | 1780 |
| Width | mm | 560 |
| Depth | mm | 550 |
| Rising time | Hours | 22 |
| Voltage | Volts | 230 – 240 |
| Frequency | Hz | 50 |
The technical information are situated in the rating plate, on the external or internal side of the appliance, and in the energy label.
Installation
WARNING!
Refer to Safety chapters.
Positioning
This appliance can be installed in a dry, well ventilated indoors where the ambient temperature corresponds to the climate class indicated on the rating plate of the appliance:
| Climate class | Ambient temperature |
| SN | +10°C to + 32°C |
| N | +16°C to + 32°C |
| ST | +16°C to + 38°C |
| T | +16°C to + 43°C |
Some functional problems might occur for some types of models when operating outside of that range. The correct operation can only be guaranteed within the specified temperature range. If you have any doubts regarding where to install the appliance, please turn to the vendor, to our customer service or to the nearest Authorised Service
Centre.
Electrical connection
- Before plugging in, ensure that the voltage and frequency is shown on the rating plate correspond to your domestic power supply.
- The appliance must be earthed. The power supply cable plug is provided with a contact for this purpose. If the domestic power supply socket is not earthed, connect the
appliance to a separate earth in compliance with current regulations, consulting a qualified electrician. - The manufacturer declines all responsibility if the above safety precautions are not observed.
- This appliance complies with the E.E.C. Directives.
Electrical Connection
CAUTION!
Any electrical work required to install this appliance should be carried out by a qualified electrician or competent person.
WARNING!
This appliance must be earthed.
The manufacturer declines any liability should these safety measures not be observed.
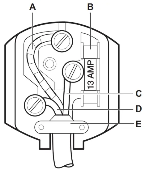
The wires in the mains lead are colored in accordance with the following code:

- A – green and yellow: Earth
- C – Brown: Live
- D – blue: Neutral
As the colors of the wires in the mains lead of this appliance may not correspond with the colored markings identifying the terminals in your plug, proceed as follows:
- Connect the wire coloured green and yellow to the terminal marked either with the letter “E“ or by the earth symbol
or coloured green and yellow. - Connect the wire coloured blue to the terminal either marked with the letter “N“ or coloured black.
- Connect the wire coloured brown to the terminal either marked with the “L“ or coloured red.
- Check that no cut or stray strands of wire are present and the cord clamp (E) is secure over the outer sheath. Make sure the electricity supply voltage is the same as that indicated on the appliance rating plate.
- Switch on the appliance.
The appliance is supplied with a 13 amp fuse (B). In the event of having to change the fuse in the plug supplied, a 13 amp ASTA approved (BS 1362) fuse must be used.
WARNING!
A cut-off plug inserted into a 13 amp socket is a serious safety (shock) hazard. Ensure that it is disposed of safely.
Ventilation requirements
The airflow behind the appliance must be sufficient.

Door reversibility
WARNING!
Before carrying out any operations, remove the plug from the power socket.
CAUTION!
To carry out the following operations, we suggest that this be made with another person that will keep a firm hold on the doors of the appliance during the operations.
- Loosen the upper pin and remove the spacer.
- Remove the upper pin and the upper door.

- Loosen the middle hinge.

- Remove the lower door.
- Loosen the lower pin.

- Install the lower pin on the opposite side.
- Tighten the middle hinge.
- Install the upper door.
- Tighten the spacer and tighten the upper pin.
Do a final check to make sure that:
- All screws are tightened.
- The magnetic seal adheres to the cabinet.
- The door opens and closes correctly.
If the ambient temperature is cold (i.e. in Winter), the gasket may not fit perfectly to the cabinet. In that case, wait for the natural fitting of the gasket.
In case you do not want to carry out the above-mentioned operations, contact the nearest Authorised Service Centre. The Authorised The service specialist will carry out the
reversibility of the doors at your cost.
Installing the appliance
Make sure that the main cable can move freely.
- If necessary cut the adhesive sealing strip and then apply it to the appliance as shown in the figure.

- Push the appliance in the direction of the arrows (1) until the upper gap cover stops against the kitchen furniture.
- Push the appliance in the direction of the arrows (2) against the cupboard on the opposite side of the hinge.

- Make sure that the distance between the appliance and the cupboard front-edge is 44 mm.
The lower hinge cover (in the accessories bag) makes sure that the distance between the appliance and the kitchen furniture is correct. - Make sure that the clearance between the appliance and the cupboard is 4 mm.
- Open the door. Put the lower hinge cover in position.
- Attach the appliance to the niche with 4 screws.

- Remove the correct part from the hinge cover (E). Make sure to remove the part DX, in the case of the right hinge, SX in the opposite case.

- Attach the covers (C, D) to the lugs and the hinge holes.

- Install the vent grille (B).
- Attach the hinge covers (E) to the hinge.
- Connect the appliance laterally to the kitchen furniture sidewall:
a. Loosen the screws of the part (G) and move the part (G) till the furniture is sidewall.
b. Tighten the screws of the part (G) again.
c. Attach the part (H) to the part (G).
- Disconnect the parts (Ha), (Hb), (Hc), and (Hd).

a. Install the part (Ha) on the inner side of the kitchen furniture.
b. Push the part (Hc) on the part (Ha).
- Open the appliance door and the kitchen furniture door at an angle of 90°.
a. Insert the small square (Hb) into the guide (Ha).
b. Put together the appliance door and the furniture door and mark the holes. - Remove the brackets and mark a distance of 8 mm from the outer edge of the door where the nail must be fitted (K).

- Place the small square on the guide again and fix it with the screws supplied.
- Align the kitchen furniture door and the appliance door by adjusting the part Hb.

- Press the part (Hd) on the part (Hb).

Do a final check to make sure that:
- All screws are tightened.
- The magnetic sealing strip is attached tightly to the cabinet.
If the ambient temperature is low (for example, in winter), the size of the gasket decreases. The size of the gasket increases when the ambient temperature increases.
ENVIRONMENT CONCERNS
Recycle the materials with the symbol
. Put the packaging in applicable containers to recycle it. Help protect the environment and human health and to recycle waste of electrical and electronic appliances. Do not dispose appliances marked with the symbol
with the
household waste. Return the product to your local recycling facility or contact your municipal office.
www.zanussi.com/shop
![]()
222371023-A-472014
www.zanussi.com







The lower hinge cover (in the accessories bag) makes sure that the distance between the appliance and the kitchen furniture is correct.




b. Push the part (Hc) on the part (Ha).
b. Put together the appliance door and the furniture door and mark the holes.

















