WA Library 6167 Big Book Display Box Instruction Manual
Parts Supplied
A![]() | B![]() | C![]() | D![]() | E![]() | F![]() | G![]() | H![]() | I![]() |
| 2 x End Panels 380mm x 420mm | 1 x Base Panel 725mm x 385mm | 2 x Metal Castor Rod | 2 x Side Panels 725mm x 385mm | 2 x Internal Divider Panels 725mm x 390mm | 1 x Centre Panel 725mm x 400mm | 2 x swivel castors & 2 x locking castors | 18 x Cam Pins | x Nut & Bolt Set |
ASSEMBLY INSTRUCTION
Step 1: screw all cam pins (H) into metal screw holes in (A) & (D)
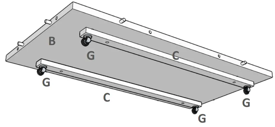
Step 2: Put bolt (I) through top of base board (B) and rail (C), secure with bolt. Attach castors (G) to rail.
Step 3: Push centre panel (F) into centre of base panel (B)
Step 3: Push internal dividers panels (E) into base panel (B)
Step 4: Push side panels (D) into base panel (B). Lock cam pins in by turning cam locks 90 degrees.
Step 5: Finish unit by adding end panels (A). Lock cam pins in by turning cam locks 90 degrees


























