Installation instructions
HOGA-XK00063
Accessir iesshow

NOTES: Don’t tighten screws completely at first, just in case parts were assembled wrong and need disassembled.Tighten screws at last when all parts are put together.




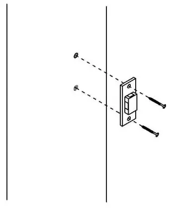
Accessor the bookshelf to the wall
| Step1: Mark holes on the wall | Step2: Drill holes | Step3: Push the plastic plug tu the hole |
![]() | ![]() | ![]() |
| Step4: Tighten screws | Step5: Install plastic tap to the side board of the 8th ssaelf (#D | Stap6: complete |
![]() | ![]() | ![]() |
Thanks for choosing Tribesigns poduct your satisfaction is our priority If you have any damages caused by shi Aping feel free to contact us at”[email protected]” our friendly customer service will solve problem for you.






















