LENOXX BCD120 CD Recorder Music System with Encode and Bluetooth

IMPORTANT SAFETY INSTRUCTIONS
- Read these instructions. All instructions must be read before the device is used.
- Keep these instructions. If the Player changes hands, please send these instructions with the Player.
- When using the player, all safety guidelines must be respected.
- This device must not be used near water or be in contact with moisture.
- This device is not a toy. Children should not use the device unless they have been given instruction on its proper use by an adult.
- When moving the device, be careful to dropping damaging the device.
- Do not block the device’s output ports or openings.
- Do not place this device near a heat source (e.g. heater). Do not expose it to the Sun.
- Always plug the device in as indicated on these instructions.
- This device has a surge protector. If the replacement of the surge protector is required, please ensure that a licensed technician performs and and all repairs.
- When cleaning the device, please follow all instructions in this booklet. Do not use any other cleaning techniques or products.
- The power cord should be unplugged during a long period of disuse.
- Device shall be repaired by a qualified person when:
- the plug or power cord is damaged,
- objects have fallen into the device or a liquid has been spilled into the device,
- the device was exposed to the rain,
- the device stops working without notable exterior change,
- the device fell and sustained damage.
- The user should not try to repair or fix this device beyond that which is described in this information form. Failure to follow this instruction will void the device’s warranty.
- The device should not be exposed to dripping or splashing and no objects filled with liquids (such as vases) should be placed on the device.
- The main plug can be used as an emergency shutdown. The main plug should not be obstructed while in use. To completely disconnect the power input, the main plug of the device should be disconnected from the mains. Always grip the main plug by the head and never by the cord.
Location of Controls
- Remote Sensor
- BT LED indicator
- Standby LED Indicator
- LCD Display
- Standby/On button
- Function Button
- CD Open/Close Button
- CD tray
- CD eject hole
- Volume Up/Down button
- Finalize Button
- CD Stop / FM ST/MONO button
- Erase button
- CD Play/Pause button
- Track Separate button
- Tune/CD Skip Up / Down Button
- Folder / Pre Up / Down Button
- Record button
- 3.5mm headphone Jack
- 3.5mm Aux-In Jack
- USB socket
- Right speaker
- Rubber feet

- Cassette Fast Forward/Eject button
- Cassette Door Cover
- Line Out Connectors
- FM Radio Antenna
- AC Mains Cable

- Dust Cover
- Alignment Screw with Rubber Cover
- Counterweight
- Pitch Adjustment Control
- Turntable Speed Selector
- Cueing Lever
- Tonearm Rest
- Manual Pick Up Holder
- Spindle Adaptor – this is a small round insert that goes in the middle of a 45-rpm Record so it can be played on the LP or 78 rpm size spindle of your Turntable.

Remote Control

- Eject: In CD mode: to open/close the CD door
- Function button: Press to change the function mode such as Tuner, CD, USB…etc
- Program: In CD/USB/Tuner mode, press to active programming function
- Skip up /down: Press to select previous / next tracks in CD mode. In Radio mode: Press to tune frequency up/down
- Play/Pause: In CD/USB mode, press once to start playback. Press again to enter pause mode. In Recording/Encoding mode: Press to confirm function.
- Stop/FM Mono/St: In CD/USB mode, press to stop playback. In FM Radio mode: Press to Select FM Stereo/Mono Mode.
- Folder/Preset In Radio mode: Press to recall radio preset channel
- Up /Down upward/downward. In USB mode: Press to select Music Folder up/down
- Volume +/-: Press to adjust the volume level
- Record: Press to active Record/Encode function
- Rec Level+/-: Press to select CD-R record level
- Erase: Press to erase file in USB thumb drive or CD-RW
- Auto / Manual: Press to activate Auto or Manual TS (Track Separation) function
- Finalize: Press to Finalize the CD-R/RW disc after recording
- Clear: Press to delete the latest track of programmed tracks
- TS (Track Separation): Press to activate the Manual Track Separation function
- Display: Press to change CD/USB playback time information on LCD
- Repeat: In CD/USB mode: Press to activate CD Repeat 1/all
- Random: In CD/USB mode: Press to activate shuffle play function
Installing Batteries into Your Remote Control
The Battery Compartment is located on the reverse of the Remote Control.

- Remove the Battery Compartment Door by pressing in on the tab and gently lifting off the Door.
- Insert two (2) AAA size batteries (not included) into the Battery Compartment following the polarity markings inside the Battery Compartment.
- Replace the Battery Compartment Door.
Battery Precautions
- Do not mix old and new batteries.
- Do not mix alkaline, standard (carbon-zinc) or rechargeable (nickel-cadmium) batteries.
- Do not short-circuit the Battery terminals.
- Do not recharge non-rechargeable batteries.
- Always remove exhausted batteries from the unit.
- Always insert batteries with the correct polarity.
- Battery replacement must always be undertaken by an adult.
- Never dispose of batteries in fire as batteries may explode or leak.
- Always dispose of batteries correctly.
Connection
Connect the AC mains cable (28) to the Mains power supply. Press the Standby/On button (5). The LCD display will light up and your system is ready to use. (Note: There may be some white noise when you first switch on the unit. This is normal. Simply turn down the volume (10) while you set the System).
Then press the Function button (6) to choose the functions and the order of each function will be:
FM ⇒ AM ⇒ CD ⇒ USB ⇒ BLUETOOTH ⇒ TAPE ⇒ PHONO ⇒ AUX
HOW TO USE THE RADIO
Tips for BEST FM/AM Radio Reception
Always turn OFF any other radios in close proximity to the Unit before trying to tune into radio stations.
FM: The Unit has a built-in FM Wire Antenna (27) at the rear of the unit. This should be fully unravelled and extended. Do not connect the FM Antenna to an outside antenna.
AM: The Unit also has a built-in AM Antenna. If the AM Radio reception is weak, slightly rotate or re-position the main unit. This will usually improve the AM Radio reception.
How to MANUALLY tune into a Radio Station
- Press the Standby/On button (5) and the LCD display (4) will light up and start in FM mode.
- To switch to AM radio, press the Function button (6) once to change the LCD display (4) to ‘AM’.
- Press the Tune Skip Up / Down buttons (17) to tune to your chosen station
- Adjust the Volume (10) to the required level.
How to AUTOMATICALLY tune into a Radio Station
- Press the Standby/On button (5) and the LCD display (4) will light up and starts in FM mode.
- To switch to AM radio, press the Function button (6) once to change the LCD display (4) to ‘AM’.
- Press and hold Tune Skip Up / Down buttons (17) on the main unit for 1-2 seconds and then release. The unit will automatically start seeking a Radio Station and stop once a radio station has been found.
- Repeat Step 3 until your desired Radio Station has been reached.
- Adjust the Volume (10) to the required level.
How to PRE-SET Your Favorite Radio Stations Using Your Remote Control
The Unit can store up to 60 radio stations (FM – 30 stations/AM – 30 stations) in the device’s memory.
- Press the Standby/On button (5) and the LCD display (4) will light up in FM mode.
- Tune to the desired Radio Station using either the Manual or Automatic tuning methods as described above.
- Press the Program button (on your Remote Control). The PROGRAM indicator will appear on the LCD display (4) of the main unit showing “P-” plus a flashing programme number.
- Press the Reverse or Forward buttons on the unit (16) or on the remote control to select the desired station pre-set number.
- Now press the Program button (on your Remote Control) to lock the Radio Station onto the selected pre-set number.
Please note:
- After 5 seconds (when NO buttons are pressed) the main unit always automatically return to normal Tuner mode.
- Once your pre-set stations have been locked in, you can change the pre-set station currently playing by pressing the FOLDER/PRE or FOLDER/PRE buttons on your Remote Control or FOLDER/PRE (17) on the main unit at any time.
- You can also overwrite a pre-set station by simply storing another frequency in its place using the instructions above.
IMPORTANT!
When you disconnect the main unit from the main power supply, the pre-set Station Memory will be permanently deleted. To avoid this, always leave the main unit in Standby Mode.
How to SELECT FM or FM-Stereo reception
- Press the /ST/MO button (12) to switch between Stereo and Mono reception mode.
- This enables the device to receive FM radio stations in either Stereo or Mono. We recommend that you use the Mono reception mode when Stereo signals are weak.
- When Stereo signals are being received, the Stereo Indicator will appear on the LCD display (4) on the main unit.
HOW TO PLAY A CASSETTE TAPE
- Press the Standby/On button (5) and Function button (6) until it reads ‘TAPE’.
- Insert a Cassette Tape into the Cassette Door (25), which is situated on the right side of the main unit.

- The System will start playing your Cassette Tape automatically.
- To Fast Forward the Cassette Tape during play, gently press the Fast Forward/Eject button (24) halfway inwards.
- To resume Play, lightly press the Fast Forward/Eject once again.
- To stop playing your Cassette Tape, press the Fast Forward/Eject button (24) next to the Cassette Door (on the side of the main unit) firmly and fully inwards.
- The Cassette Tape will then stop playing and eject.

IMPORTANT!
- Always ensure that the Cassette Tape is inserted into the device the correct way around.
- There will be some audible noise when the Cassette is fast forwarding, this is normal.
- Always remove the Cassette Tape from the system when not in use.
HOW TO PLAY A VINYL RECORD
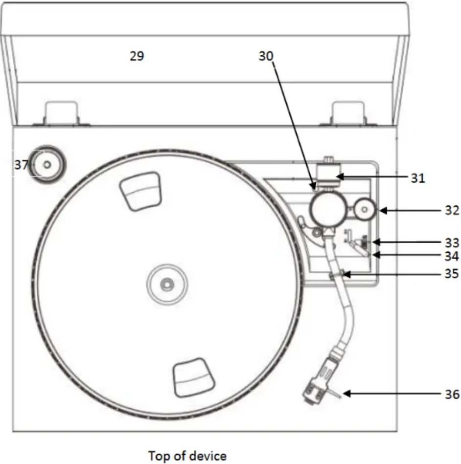
Before playing a Vinyl on your Unit, you must ensure that the Tonearm and Stylus are properly balanced by the Counterweight, ready for play.
How to install the COUNTERWEIGHT
- Gently slide the Counterweight onto the rear of the Tone Arm until it cannot go any further.
- Now, gently turn the Counterweight clockwise and backwards until it is in line with the T at the end of the white line on the Tonearm.
- Keeping the Counterweight in this position, line the ‘1’ up with the T on the white line.
- The Tonearm should now be in the correct position for playing your records, but can be adjusted at any time to achieve the correct balance.

Please note: The working pressure of the Stylus provided with your Unit is between 4-6 grams. However, all styluses have their own working pressure, so please refer to the manufacturer’s specification for other styluses. When properly balanced, the Tone Arm should be parallel with the Turntable and sit comfortably in the grooves in the Record, without jumping during play. It may take a few attempts to get this correct.
The life expectancy of the Stylus tip is about 400 hours. To preserve maximum sound quality and avoid damage to your records, we recommend replacing the stylus within this time limit. Always lock the Tone Arm on its rest when not in use.

How to use the RECORD PLAYER
Before playing a Record, please remove the Stylus protector from the Stylus. Ensure that the Tonearm is released from the Tonearm Rest (35). Note: Always re-secure the Tonearm back in the Tonearm Lock once play is finished.
- Press the Standby/On button (5) and the LCD display (4) will light up.
- Press the Function button (6) until the LCD display (4) reads ‘PHONO’. The Turntable will spin a few times and then stop. This is normal.
- Set the Turntable Speed Selector (33) to the required position, depending on the Record to be played (33rpm, 45rpm or 78rpm).
- Place your Record on the Turntable (use the Spindle Adaptor (37) if required).
- Set the Cueing lever (34) to the UP position.
- Lift the Tonearm from the Tone Arm rest and slowly move it to the side of the Record. The Turntable will start to rotate.
- Position the Tone Arm over the desired position/track on the Record.
- Lower the Cueing lever.
- The Tone Arm will slowly lower onto the Record and play will begin.
- When the Record has finished playing, the Tonearm will lift off the Record, and return to the Tone Arm rest automatically. (If the Tonearm does not lift off the Record, and return to the Tone Arm rest automatically, see ‘How to align the Tone Arm STOP position’ below).
How to STOP playing a VINYL manually
Move the Cueing lever backwards, to the UP position. This will lift the Tonearm from the Record and instantly stop play.
How to ADJUST TURNTABLE speed
Turn the Pitch Adjustment Control (32) to gently increase or decrease the speed of the Turntable.
How to ALIGN the TONE ARM ‘stop’ position
When the last track on a Vinyl has finished playing, the Tone Arm should lift off and return to the Tone Arm rest automatically. If this does not happen, the Tone Arm rest can easily be adjusted via the Alignment Screw (30) using a small Phillips head screwdriver:
- If the Tone Arm lifts off the Vinyl and returns to the Tonearm rest before completely playing the Vinyl, use a small Phillips screwdriver to gently turn the Alignment Screw in a clockwise direction. The STOP’ and ‘LIFT’ position of the Tone Arm will move inwards to lift off closer to the Centre of the Record, when play is completed.
- If the Tone Arm lifts off the Vinyl but does not return to the Tone Arm rest automatically after playing the Vinyl, use the Phillips screw driver to gently turn the Alignment Screw in an anti-clockwise direction. The ‘STOP’ and ‘LIFT’ position of the Tone Arm will move outwards to lift off further from the Centre of the Record, when play is completed.
Please note: The default ‘STOP’ position is based on the most common setting, but may vary between different users and different records. Simply adjust to the most suitable position based on your own Record collection. Occasionally check the stop position during adjustment. Avoid over-turning the alignment screw.

HOW TO PLAY A CD
The Unit is designed for playing normal compact disc format Audio CD’s. MP3/WMA format discs are not supported.
Getting Started
- Press the Standby/On button (5) and press the Function button (6) to select CD mode.
- The LCD display (4) will show ‘—bUSY’ for a second, then change to ‘NO disc’.
- Press the CD Open/Close button (7) to open the CD tray.
- Place your Audio CD (print side up) inside the CD Drawer (8).
- Press the CD Open/Close tray button to close the CD tray.
- The system will perform a search and the LCD display will show ‘—bUSY’.
- Please be patient.
- As soon as the search is complete, the LCD display will show the total number of tracks and the total playing time.
- Press CD Play/Pause button on either the main unit (14) or on your Remote Control (round button).
- The first track will start playing.
How to PAUSE a CD
- To pause the CD at any time, press the CD Play/Pause button on either the main unit (14) or on your Remote Control (round button) again.
- The CD will pause and the playing time will be displayed on the LCD display.
- Press the CD Play/Pause button on either the main unit or on the Remote Control again to resume Play.
How to STOP a CD playing
- Press the CD Stop button (12) at any time during Play or Pause mode and the CD will stop.
- The total number of tracks will be shown on the LCD display (4).
- ALWAYS press the CD Stop button and wait for the CD to stop before pressing the CD Open/Close button (7) to open the CD tray and remove the disc.
How to SKIP CD Tracks
During Play or Pause mode, you can either:
- Press the CD track skip forward button on the main unit or on the Remote Control to skip to the next track on the CD. The next track will start playing automatically.
- Press the CD track skip back button on the main unit or on the Remote Control to skip to the previous track on the CD. The previous track will start playing automatically.
IMPORTANT!
- When changing a CD always press the CD Stop button (12) first. Wait a couple of seconds and then press the CD Open/Close tray button (7) to open the CD tray.
- Please be patient when waiting for functions as there can be a slight delay after pressing buttons. If you keep pressing buttons, it may cause your device to malfunction. If this occurs, please switch off and restart the device.
- The time it takes to read and play a CD-R(W) disc can vary from brand to brand. It depends on the compatibility of the disc being used.
How to REPEAT PLAY your CD (using the Remote Control)
By pressing the REPEAT button on your Remote Control before or during play, a single track or all the tracks on a CD can be played in various modes as follow:

How to RANDOM PLAY your CD (using the Remote Control)
By pressing the RANDOM button on your Remote Control before or during play, you can listen to all the MP3 files in a random order and the display will show “RAN”. Press RANDOM button to turn off the function.
How to PROGRAM a CD (using the Remote Control)
The Unit can be programmed to play up to 32 CD tracks in the order of your choice.
- With a CD in the unit, press the Standby/On button (5) and press the Function button (6) to select CD mode.
- Stop the Disc playing by pressing the CD Stop button .
- Now press the PROGRAM button.
- The word PROGRAM will display on the LCD display on the main unit.
- The program number (00 1P-01) will show on the LCD display.
- Select the desired track by pressing the CD skip forward and back buttons (16).
- Press the PROGRAM button (above the circular button) once to store the track into the Memory.
- Repeat steps 6 and 7 to add additional tracks to Memory if required.
- When all your chosen tracks have been programmed, press the CD Play/Pause button to play the disc in the assigned order.
- To cancel the programmed tracks, press the CD Stop button twice until the PROGRAM indicator disappears on the LCD display on the main unit.
How to DELETE CD Programmed tracks (using the Remote Control)
After programming the play order of a CD, you can delete the programmed tracks in order, from the last one programmed to the first one programmed.
- When the programmed tracks start to play, press the CD Stop button on your Remote Control.
- Now press the CLEAR button (on the Remote Control).
- One programmed track is deleted from the Memory each time you press the CLEAR button.
How to PLAY MP3 tracks from a USB Memory stick
The max size capacity for USB stick is 16GB. USB stick needs to be FAT 32 format.
The Unit can decode and play all MP3 files stored on a USB Memory stick. Please always ensure that the USB Memory stick is inserted the correct way up, as failure to do so could result in damage to the audio system or the storage media.
- Press the Standby/On button (5) and press the Function button (6) to any function except USB mode.
- Insert the USB Memory stick into the USB Slot on the front of the unit (21).
- Press the Function button (6) again to select USB mode. The system will automatically read the files stored on the USB Memory stick and the LCD display (4) will show the total number of MP3 files stored.
- Press Play/Pause button (14) to start playback.
How to PAUSE MP3 Play
During play, if you:
- Press the Play/Pause button (14) on the main unit once.
Play will PAUSE and the indicator will shown on the LCD display (4).
To resume play, press the Play/Pause button (14) again. - Press the CD STOP / button (12) on the main unit. Play will STOP and the total number of tracks on the MP3 will show on the LCD display (4). Press the Play/Pause button (14) again to resume play.
How to SKIP MP3 Tracks
During play:
- Press the USB Track Skip forward button (16).
The unit will skip to the next track and play will resume. - Press the USB Track Skip Back button (16).
The unit will skip to the previous track and play will resume.
How to SELECT an MP3 FOLDER (using your Remote Control)
- Press the FOLDER/PRE or FOLDER/PRE button on your Remote Control or press the FOLDER/PRE-UP/-DOWN (17) on the main unit.
- The folder number on the media device will change accordingly.
- Press the USB Track Skip forward button or Track Skip back button on your Remote Control.
- The track number on the media device will change accordingly.
- When the desired folder and track has been selected, press the /CD STOP button on the Remote Control to begin play.
MP3 Track Format Requirements/Notes
- The MP3 bit rate range is: 32 kbps – 256 kbps.
- The sound quality of MP3 files will vary according to the quality of the Recording Disc and the method of recording.
How to use REPEAT/RANDOM mode (using your Remote Control)
Repeat play modes
Repeat a single file, or all your files.
Simply press the REPEAT button on the Remote Control before or during play.
Each press of the REPEAT button will cycle through the Play options (the selected Play mode will display on the LCD display) as follows:
- (10) Repeat a single MP3 file
- (4) Repeat all tracks in all folders
- (3) Repeat mode OFF.
Repeat Folder
Press the Stop button first. The display will show total number of track and “Folder”.
Press FOLDER/PRE or FOLDER/PRE button on your Remote Control or press the FOLDER/PRE-UP/-DOWN (17) on the main unit to select the folder. Then press Repeat button once with display showing . Press the Play/Pause button to play all tracks in the folder repeatedly.
Random Play Modes
You can listen to all the MP3 files in a random order by selecting this function and the display will show “RAN”. Press RANDOM button to turn off the function.
How to PROGRAM MP3 files (using your Remote Control)
Up to 32 tracks can be programmed into a custom play order. Note: This can only be done whilst the unit is in STOP Mode.
- Insert the USB. Press I/ on the main unit to activate out of Standby mode.
- Press the FUNCTION button on your Remote Control to set the system to USB mode.
- Stop the Disc playing by pressing the CD Stop button .
- Now press the PROGRAM button.
- The word PROGRAM will display on the LCD display on the main unit.
- The program number (00 1P-01) will show on the LCD display.
- Select the desired track by pressing the skip forward and back buttons .
- Press the PROGRAM button once to store the track into the Memory.
- Repeat steps 7 and 8 to add additional tracks to Memory if required.
- When all your chosen tracks have been programmed, press the Play/Pause button to play the disc in the assigned order.
- To cancel the programmed tracks, press the CD Stop button twice until the PROGRAM indicator disappears on the LCD display on the main unit.
IMPORTANT!
- The system can only read and play MP3 format files through the USB, it will not read or play other format music files.
- Some MP3 players will not read through the USB socket. This is not a malfunction, it is caused by variances in the MP3 encoding format of the device.
- The USB port does not support connections through a USB extension cable and is not designed to be used to connect to a computer.
Bluetooth Connection and Playback
- Press the Standby/On button (5) and press the Function button (6) to select BT mode (the BT icon will appear on the display).
- The Bluetooth LED Indicator (2) is flashing in blue color meaning the unit is in non-connection/searching mode.
- Switch on the Bluetooth function of your Bluetooth device (e.g. mobile phone) and select the device named ‘BCD120’ to pair the Bluetooth device with the music system.
- Once the pairing process has connected successfully, the Bluetooth LED Indicator (2) will light up in blue color.
- You can now begin playing of your Bluetooth device.
- To connect a different Bluetooth device, turn off the Bluetooth function of your device to disconnect the existing connected Bluetooth device. This device cannot connect to two devices simultaneously.
- The Bluetooth LED Indicator (2) is flashing in blue color again.
- Repeat steps 3 & 4 to connect another Bluetooth device.
How to CONNECT and PLAY an AUXILIARY DEVICE
You can connect any Auxiliary Device (i.e. MP3 player, iPod®) to the system by plugging one end of a 3.5mm Aux Cable (not provided) into the 3.5mm Jack on the Auxiliary Device and the other end into AUX-IN (20) on the music system.
- Press the Standby/On button (5) and press the Function button (6) to select ‘AUX’ mode.
- Begin playback on your Auxiliary Device, adjusting the volume up or down buttons (10) on the main unit to the desired level. Note: If the volume is too high, you can reduce the level on your Auxiliary Device as well as on the main unit.
How to RECORD to CD using CD-R or CD-RW discs
As well as playing CDs, the Unit can record CDs using CD-R and CD-RW discs. This is done using the CD, Cassette Tape, Phono (Record), Auxiliary in, USB and Bluetooth play modes. The disc will be recorded as an ‘Audio-CD’ format disc. Other CD types cannot be used for recording.
IMPORTANT!
- You can only record onto a CD-R disc ONCE. You cannot erase or re-record data onto a CD-R disc using this device.
- The playback quality of CD-R and CD-RW discs varies on different audio CD players.
- The revolving speed of a CD burner is higher than a normal CD mechanism. Therefore, there may be some mechanical noise and vibration of the unit during operation. This is normal and is NOT a malfunction of the system.
- Due to the variety in quality and compatibility of CD-R and CD-RW discs, please change to another brand if you find that one you are using does not record or perform to your satisfaction.
TROUBLESHOOTING – CD Door Locks
If the power is interrupted or something goes wrong during the CD burning stage, it may cause the system to become locked and you may not be able to open the CD tray. If this occurs:
- Switch off the power and push a thin object into the small hole below the CD drawer (9)
- Some of the CD drawer will eject mechanically.
- Manually, gently pull out the CD drawer completely.
- Remove the disc and restart the system again.
HOW TO RECORD TO CD (using your Remote Control)
Apart from the CD playback function, this system’s CD mechanism can also record from Phono/Aux/Tape/USB modes to CD. However, it can only copy a pre-recorded Audio CD to CD via *USB Buffering*.
*Note: Before starting the CD-to-CD Copying process via USB Buffering, it will be necessary to connect a USB Memory stick (not supplied) with enough space (a minimum of 2GB memory is required to copy an entire CD).
Important Notes:
- All recorded tracks will be stored in “AUDIO-CD” format.
- A “CD-R” disc can be recorded on only once and cannot be erased or re-recorded onto. This can only be done on a CD-RW (Re-Writable) disc. Also, a DVD disc cannot be used with this system.
- The playback quality of either a CD-R or CD-RW disc varies when played back on different types of audio CD players.
- The revolving speed of a CD Burner is higher than that of a normal CD mechanism, therefore, some mechanical noise and vibration of the unit’s cabinet may occur during operation. This is not a malfunction of the system. Due to the variety in the quality and compatibility of CD-R(W) discs available in the market place, please change to another brand of recordable disc if you find it is not possible to record on the one used or its performance is not stable.
Getting Started
Whichever media you choose to record from, please complete the following procedures before recording onto a CD:
- Press the CD open/close button (7) on your main unit to open the CD tray.
- Place the blank CD-R or CD-RW Disc into the CD Drawer (8).
- Press the CD Drawer Open/Close button to close the tray.
- The system will perform a search and the LCD display will show ‘—bUSY’.
- Please be patient.
- When the LCD display (4) shows ‘NO TOC’ (in small letters, meaning ‘No Table of Contents’) you can record onto this disc.
NOTE: If ‘NO TOC’ does not display, you cannot record onto this disc.
RECORDING from a VINYL RECORD or Aux-in or Bluetooth
- Press the Function button (6) to select PHONO (record player) or AUX mode (for an external audio player) or Bluetooth.
- For Phono: Place the vinyl record you wish to record to CD on the turntable and get it ready for playback.
- For Aux-in: Connect an external audio device (such as an MP3 player, CD player, DAB Radio, etc.) via its output socket to the 3.5mm dia. Aux-in jack (20) on this unit (a connecting cable with 3.5mm dia. stereo input plug will be required – not supplied).
- For Bluetooth: Connect the Bluetooth with the external Bluetooth device and select the track you wish to record and get it ready for playback.
- Press the REC button (18) and the LCD display will show “—Cd” and
- Press the PLAY/PAUSE button (14) to start recording – and the “CD” icon will be flashing, and the Time Counter will start: 00:00 ¨ 00:01 ¨ 00:02 ¨ 00:03 ¨ and so on – indicating the system is now recording.
- Now start playback of the record (Phono), or the music on the external device (Aux-in)/Bluetooth. Separate the tracks during recording (if required) by pressing the Track Separation button (15) once. The track number will advance by one.
- When your recording has finished press the STOP button (12) and then stop playback of the vinyl record or the music of the audio player connected to Aux-in or the music of the Bluetooth device.
- Press the Function button (6) until the LCD display (4) reads ‘CD’.
- Press the Play/Pause button (14) and your CD will play the music recorded from your media.
- “Finalize” the recorded disc as described elsewhere in this manual.
RECORDING from a Cassette Tape
- Press the Function button (6) to select ‘Tape’ mode.
- Place the Cassette Tape you wish to record into the Cassette Slot (25). Do not fully insert the tape.
- Press the REC button (18) and the LCD display will show ‘—Cd’ and
- Press the PLAY/PAUSE button (14) to start recording – and the ‘CD’ icon will be flashing, and the Time Counter will start: 00:00 ¨ 00:01 ¨ 00:02 ¨ 00:03 ¨ and so on – indicating the system is recording now.
- Now fully insert the Cassette Tape into the Cassette Compartment. It will immediately begin play. Separating the tracks during recording if required by pressing the Track Separation button (15) once, the track number will be changed.
- When recording is complete, press the STOP button (12)
- To stop playing your Cassette Tape, press the Fast Forward/Eject button
Door (on the side of the main unit) firmly and fully inwards. - Press the Function button (6) until the LCD display (4) reads ‘CD’.
- Press the Play/Pause button (14) and your CD will play the music recorded from your Cassette Tape.
RECORDING from an Audio CD via USB Buffering (A USB drive is required – minimum 2GB)
Although this system has a single CD Player-Recorder it is able to copy and record a pre-recorded Audio CD via the USB socket. The recorded disc will be in AUDIO-CD format.
- Before starting this process, first insert a USB memory stick (not supplied) into the USB socket (21) with enough memory for recording – a minimum of 2GB is required for copying an entire CD disc.
- Then press the Function button (6) to select the CD function – make sure it is in STOP mode.
Recording the 1st Track or an entire Audio CD to CD (via USB)
- Press the CD OPEN/CLOSE button (7) to open the CD drawer (8) and place the audio CD in the tray –printed side facing upwards.
- The CD operation DISPLAY area (4) will show the TOC (Table of Contents) of the pre-recorded CD.
- Select between recording the 1st track or an entire CD:
- Press the REC button (18) – the LCD display will show “SEL 1” (the 1st track of the CD Disc).
- Press the REC button again – the LCD display will show “SEL ALL” (the entire CD Disc).
- Then Press the PLAY/PAUSE button (14) to confirm and start CD recording – the LCD display will show “CPY 99” and start counting down from 99 to 0.
- After recording has finished, the CD tray (8) will open automatically.
- Remove the original CD and replace it with a blank recordable CD-R(W) disc for CD copying.
- Close the CD Door with the OPEN/CLOSE button (7) – the LCD will show “ dup 99 “ and start counting down from 99 to 0.
- After copying has finished, the LCD display will go back to normal and show the total track and TOC information on the disc and remain in stop mode.
Recording a Selected Track from a CD Disc by PROGRAM function
- Press the CD OPEN/CLOSE button (8) to open the CD Tray (8) and place the audio CD you wish to record in the tray – printed side facing upwards.
- Select the desired tracks by following the previous – CD Disc Programming – procedures and stays in stop mode after input all tracks (meaning it is NO NEED to press the Play/Pause button (14)).
- Press the REC button (18) directly for the system to start the Recording mode.
- Repeat steps 5 – 7 as above to complete the recording then “Finalize” the disc.
Notes:
- During copying mode, no sound will be coming from the Speakers.
- In general, free memory size needs a minimum of 2GB for copying an entire CD disc (this varies between different CD formats).
- Press the STOP button (12) to interrupt and abort the Copy function at any time after starting the procedure.
RECORDING from a USB Stick
- Insert the USB media device into the USB port (21).
- Turn the Power/Function button (6) until the LCD display (4) reads ‘USB’
- Select between recording one track or all tracks or programmed track in a USB:
- One track:
- Select the songs you wish to record by using Skip forward / back button (16) and/or FOLDER/PRE / button (17) and press playback
- Press the REC button (18)
- All tracks in a USB
- Press the Play/pause button to start playback of the USB
- Press the Auto/Manual button once on the remote control and the display will show “AUTO TRACK”
- Press the REC button (18)
- Programmed tracks in a USB
- Select the desired tracks by following the previous – MP3 Program – procedures and press Play/Pause button (14) at the end of programming
- Press the REC button (18)
- One track:
- The system will start recording.
- After recording has finished, the LCD display will go back to normal and begin playback of the tracks.
“Finalize” the recorded disc.
How to PAUSE/RE-START the RECORDING PROCESS
- To pause the recording process at any time, press the CD Play/pause button (the round button on your Remote Control). ‘—bUSY’ will flash for a second on the LCD display. The system will then generate a new recording track number and the recording process will pause.
- To restart recording, press the CD Play/Pause button again. The play indicator will show on the LCD display.
Note: When the CD-R or CD-RW is full, the LCD display will show ‘full’. Press the CD Stop button (12) and change to another empty CD-R or CD-RW disc to continue recording.
Managing RECORDING SETTINGS
How to adjust RECORDING LEVELS (using your Remote Control)
The recording level can be adjusted by pressing the Recording Level buttons (REC LEVEL– and REC LEVEL+) on your Remote Control. This function can be used to reduce distortion during recording.
NOTE: REC LEVEL+/- buttons have no function in recording CD to USB or USB to CD-R/RW.
How to RECORD music TRACK-BY-TRACK (using your Remote Control)
You can separate the music you are recording ‘track by track’ during recording by using Auto or Manual modes.
A. Recording music track-by-track in AUTO mode
- Press the AUTO/MANUAL Recording button (on your Remote Control).
- The LCD display (4) will show -20dB, -30dB, or -40dB (decibels) after each press of the AUTO/MANUAL Recording button, and the ‘AUTO TRACK’ icon will appear on the LCD display.
- You are now in AUTO recording mode.
- When the recording sound level drops below the -20/-30/-40 dB respectively, the unit will recognize that a recording track has ended and automatically generate a new track, and continue recording.
Please note:
Recommended decibel/sound levels for each of the play modes whilst recording are:
- -20dB or -30dB for recording from USB or Auxiliary-in/Bluetooth with a digital music source.
- -30dB or -40dB for recording from Cassette or Vinyl Record.
These levels are only recommendations. The actual performance may vary depending on the selected music source at the time. If these levels are incorrect for your music files, please use Manual mode (below).
B. Recording music track-by-track in MANUAL mode
- Select the Manual Track Separation mode by pressing the AUTO/MANUAL Recording button on your Remote Control repeatedly until ‘—‘ is displayed on the LCD display (4).
- To separate tracks whilst recording, press the Track Separation button (15) during recording, the system will automatically generate a new track and continue recording. the word ‘—bUSY’ will briefly show on LCD display (4).
FINALISING a CD
What is FINALISING a CD?
If you wish to play a CD you have recorded on your Unit on another Audio CD player, you must convert a CD-R(W) disc into a standard Audio Format CD. This process is known as ‘Finalizing’. When you finalize a CD, a ‘Table of Contents’ (TOC) is simultaneously written onto the disc.
How to FINALISE a CD-R/CD-RW Disc
- Select the CD Function mode by pressing the Function button (6). ‘CD’ will appear on the LCD display (4).
- Press the CD Open/Close button (7) to open the CD tray (8).
- Place your Audio CD that you wish to finalize (print side up) inside the CD Drawer (8).
- Press the CD Open/Close tray button to close the CD tray.
- The system will perform a search and the LCD display will show ‘—bUSY’.
- Please be patient.
- Press the FINALISE button on your Remote Control in CD stop mode.
- ‘Fin-dIC’ will appear on the LCD display on the main unit.
- Press the CD Play/Pause button to start the finalizing process.
- The LCD display (4) will show ‘—bUSY’ during this process. Note: You can stop CD Finalize mode (if required) at any time by pressing the CD Stop button (12).
- When Finalizing is complete, ‘OPEN’ will appear on the LCD display and the CD tray will open automatically.
- Your CD is now converted into a standard Audio Format CD and can be played on any other Audio CD player.
IMPORTANT!
- The time it takes to finalize a CD depends on the number of tracks recorded. If you are recording multiple tracks the process may take up to 15 minutes.
- ALL button functions are disabled during the finalizing process.
- NEVER turn off the Power or un-plug the Power cord during the finalizing process.
- CD-R discs cannot be recorded onto again after they have been finalized.
- REMEMBER! After being Finalized, CD-R discs CAN be played on ordinary CD players, but CD-RW discs CANNOT be played on ordinary CD players.
NOTE
Owing to the differing compatibility of CD-R or CD-RW discs, you may find the recording performance of certain discs below expectation. In this case, please change to another brand of CD-R or CD-RW. Poor recording performance is not a malfunction of the system. Recording to CD will never improve the original audio quality.
UN-FINALISING or ERASING a CD-RW disc
You can erase the last recorded track on a finalized disc, or erase an entire recorded disc. However, if you want erase the last track of the finalized CD-RW, the disc must first be un-finalized (see below).
How to UN-FINALISE a CD-RW disc (using your Remote Control)
- Select the CD Function mode by pressing the Function button (6)
- Press the CD Open/Close button (7) to open the CD tray.
- Place the CD-RW disc you would like to un-finalize into the CD Drawer (8).
- Press the CD Open/Close tray button to close the CD tray.
- The system will perform a search and the LCD display (4) will show ‘—bUSY’.
- Please be patient.
- Press the ERASE button whilst in CD stop mode
- The LCD display will display ‘UNF-dIC’.
- Press the CD Play/Pause button to start erasing.
- ‘—bUSY’ will appear on the LCD display.
- Once the un-finalizing process has finished, the LCD display will show the disc’s total number of tracks and the total playing time.
- The ‘NO TOC’ (No Table of Contents) indicator will appear on the LCD display.
How to ERASE ONE TRACK AT A TIME on an UN-FINALISED CD-RW disc (using your Remote Control)
- Select the CD Function mode by pressing the Function button (6)
- Press the CD Open/Close button (7) to open the CD tray.
- Place the un-finalized CD-RW disc from which you would like to delete tracks, into the CD drawer (8).
- Press the CD Open/Close tray button to close the CD tray.
- The system will perform a search and the LCD display (4) will show ‘—bUSY’.
- Please be patient.
- Press the ERASE button whilst in CD stop mode.
- The LCD display (4) will display ‘ErS’ (erase) and the last track number will appear on the LCD display.
- Press the CD Play/Pause button (the circular button on your Remote Control) to erase the last track from the disc.
- ‘—bUSY’ will appear on the LCD display.
- Once the erasing process has finished, the LCD display will show the disc’s total number of tracks and the total playing time.
- Repeat steps 8 to 9 to continue erasing tracks.
- The ‘NO TOC’ (No Table of Contents) indicator will appear on the LCD display when ALL tracks have been deleted.
How to ERASE ALL TRACKS on a CD-RW disc (using your Remote Control)
Please note: This operation cannot be undone. The ‘erase one track only’ function cannot be performed on a CD-RW disc recorded from another system, but the ‘erase all’ function can be performed on a CD-RW disc recorded from another system.
- Select the CD Function mode by pressing the Function button (6)
- Press the CD Open/Close button (7) on the main unit to open the CD tray.
- Place the un-finalized CD-RW disc you would like to delete tracks from into the CD drawer (8).
- Press the CD Open/Close tray button to close the CD tray.
- The system will perform a search and the LCD display (4) will show ‘—bUSY’.
- Please be patient.
- Press the ERASE button twice whilst in CD stop mode.
- The LCD display will display ‘Er ALL’ (erase all).
- Press the CD Play/Pause button (the circular button on your Remote Control) to erase all of the tracks from the disc.
- The LCD display will display ‘—bUSY’ during the erasing process.
- Once the erasing process has finished, the LCD display will display ‘0000000’. This confirms the erase process is completed.
How to ERASE ALL TRACKS on a CD-RW disc (using your Remote control)
Please note: This operation cannot be undone. The ‘erase one track only’ function cannot be performed on a CD-RW disc recorded from another system, but the ‘erase all’ function can be performed on a CD-RW disc recorded from another system.
- Select the CD Function mode by pressing the Function button (6)
- Press the CD Open/Close button (7) on the main unit to open the CD tray.
- Place the un-finalized CD-RW disc you would like to delete tracks from into the CD drawer (8).
- Press the CD Open/Close tray button to close the CD tray.
- The system will perform a search and the LCD display will show ‘—bUSY’.
- Please be patient.
- Press and hold the ERASE button whilst in CD stop mode.
- The LCD display (4) will display ‘ErS ALL’ (erase all).
- Press the CD Play/Pause button (the circular button on your remote) to erase all of the tracks from the disc.
- The LCD display (4) will display “—bUSY” during the erasing process.
- Once the erasing process has finished, the LCD display (4) will display “00:00”. This confirms the erase process is completed.
How to Encode to MP3 files
The Unit can digitally encode (convert) normal CDs/Vinyl Records/Aux in/Cassette Tape music tracks into MP3 format files, and record them onto a USB Memory Stick via the USB port (21).
The max size capacity for USB stick is 16GB. USB stick needs to be FAT 32 format.
How to ENCODE a single track or an entire Audio CD to USB in MP3 format
- Insert your USB Memory Stick into the USB port (21) on the main unit. Ensure there is sufficient space available for encoding.
- Select ‘CD’ mode by pressing the Function button (6).
- The LCD display (4) will show ‘—bUSY’ for a second, then change to ‘NO disc’.
- Press the CD Open/Close button (7) to open the CD tray.
- Place your CD (print side up) inside the CD Drawer (8).
- Press the CD Open/Close tray button to close the CD tray.
- The system will perform a search and the LCD display will show ‘—bUSY’.
- Please be patient.
- Once the CD mechanism recognize all the tracks of the CD and display the total number of tracks.
- To record one track: select the desired track to record and start playback. Then press the Record button (18) once.
- To record all tracks: press Play/Pause button (14) to start playback the CD. Then press Auto/Manual button once and the display will show “—AU” and “AUTO TRACK”. Press the Record button (18) once.
- The LCD display (4) will show ‘—bUSY’ and the system will now check the USB storage device. After a few seconds the icons will show on the LCD display with flashing icon. Encoding is now starts.
- The encoding will stop automatically once completed and the unit will continue playback of the next tracks. You may press stop button (12) to stop the CD playing.
- You can also press the Stop button (12) to stop the encoding anytime.
How to ENCODE a RECORD or Aux or Bluetooth
- Insert your USB Memory Stick into the USB port (21) on the main unit. Ensure there is sufficient space available for encoding.
- Press the Function button (6) to select PHONO (record player) or AUX mode (for an external audio player) or Bluetooth.
- For Phono: Place the vinyl record you wish to record to CD on the turntable and get it ready for playback.
- For Aux-in: Connect an external audio device (such as an MP3 player, CD player, DAB Radio, etc.) via its the headphone or other output socket to the 3.5mm dia. Aux-in jack (20) on this unit (a connecting cable with 3.5mm dia. stereo input plug will be required – not supplied).
- For Bluetooth: Connect the Bluetooth with the external Bluetooth device and select the track you wish to record and get it ready for playback.
- Press the Record button (18) once, the LCD display (4) will show “—Cd”. Then press it a 2nd time until the display shows “—USB”.
- Press Play/Pause button (14) to start the encoding process – the LCD will show and the USB icon will flash – encoding has started now.
- After completing the encoding, press the Stop button (12) to stop the encoding.
Then stop the media playing.
How to ENCODE a CASSETTE TAPE

- Press the Function button (6) to select ‘TAPE’ mode.
- Place the recorded Cassette tape into the Cassette Slot (25) on the side of the main unit. Do not fully insert the tape.
- Press the Record button (18) once, the LCD display (4) will show “—Cd”. Then press it a 2nd time until the display shows “—USB”.
- Press Play/Pause button (14) to start the encoding process – the LCD will show and the USB icon will flash – encoding has started now.
- Fully insert a Cassette Tape into the Cassette Door (25) see fig 1, which is situated on the right side of the main unit.
- The System will start playing the Cassette Tape automatically.
- After completing the encoding, press the Record button (18) again to stop the encoding
- To stop playing your Cassette Tape, press the Fast Forward/Eject button (24) next to the Cassette Door (on the side of the main unit) firmly and fully inwards.
- The Cassette Tape will stop playing and eject.
How to ENCODE a single track or an entire Audio CD to USB in MP3 format
- Insert your USB Memory Stick into the USB port (21) on the main unit. Ensure there is sufficient space available for encoding.
- Turn the Power/Function button (6) to select FM radio and tune to the desired radio that you wish to encode.
- Press the Record button (18) once, the LCD display (4) will show “—USB”
- Press Play/Pause button (14) to start the encoding process – the LCD will show and the USB icon will flash – encoding has started now.
- After completing the encoding, press the Stop button (12) to stop the encoding.
IMPORTANT!
- The system will create a ‘RECORD’ folder on the USB memory stick and then store the encoded tracks within this folder.
- The recording format is set at MP3 bit rate – 128 kbps, and has a sampling rate of 44.1kHz.
- No song title will be recorded during the encoding mode.
- To interrupt a recording, simply press the Record button (18) on the main unit at any time during ‘Record mode’.
How to SEPARATE TRACKS
You can divide the music being recorded track by track during encoding from Phono (vinyls), Cassette Tape, FM radio, Bluetooth and Aux in play functions.
- Press and hold the TS (USB Track Separation) button for 3-4 seconds during encoding
- The system will generate a new track and encoding will continue with flashing icon on the display.
- The unit has now created a new track successfully and encoding will continue.
How to DELETE a file stored in a USB (using your Remote Control)
The Unit is able to erase MP3 files stored on the USB memory stick:
A. To delete A SINGLE FILE (using your Remote Control)
- Press the Function button (6) to select USB mode.
- Select the file you would like to delete by pressing the Skip forward button or Track Skip back button on your Remote Control.
- Press and hold the Erase button on your Remote Control for 2-3 seconds.
- The LCD display will show “ErS ALL”, then press the Erase button again until showing “ErS xxx”.
- Press the Play/Pause button on your Remote Control to confirm the deletion and the display will show “—bUSY”.
- The LCD display will now show the total number of MP3 files still on the USB memory stick after the delete has been completed.
B. To delete ALL FILES (using your Remote Control)
- Press the Function button (6) to select USB mode.
- Press and hold the Erase button on your Remote Control for 2-3 seconds.
- The LCD display will show “ErS ALL”.
- Press the Play/Pause button on your Remote Control to confirm the deletion and the display will show “—bUSY”.
- The LCD display will now show ‘ALL 0’ (i.e. no files) after the delete has been completed.
How to REMOVE a USB Memory stick from the device
Before removing a USB memory stick from the main unit, ALWAYS first turn off the Unit, or switch the Function mode to either ‘TAPE’ or ‘PHONO’ mode. Only then remove the USB Memory stick by pulling it from the device.
How to CONNECT the Unit to a HI-FI SYSTEM
You can connect the Unit to a Hi-Fi system by connecting an RCA cable (not included) to the Line out connectors (26) on the back of the unit.
How to CONNECT your EARPHONES
Connect your Earphones (not included) to the Earphone Jack (19) on the front of the unit. Adjust the volume to the desired level using the Volume Up or Down buttons (10) on the main unit.
Please note:
- Whilst listening to music through earphones, avoid extended play at very high volumes as it may impair your hearing.
- If you experience any ringing in your ears, reduce the volume or switch off.
- Always keep the volume at a reasonable level even if your earphones are an ‘open-air’ style design to allow you to hear outside sounds. Excessively high volume can block outside sounds and cause a hazard.
www.lenoxxx.com.au
1300 666 848
























