ARCTIC WIND 2AP7500A Portable Air Conditioner
SAFETY INFORMATION
- Disconnect the appliance from its power source during service and when replacing parts and cleaning.
- Check the rating label tor the type ot rengerarnt gas used in your appliance.
- Do not pierce the cooling circuit of the machine.
- This hermetically sealed system contains fluorinated greenhouse gases.
- At the end of its useful life, deliver the appliance to a special waste collection center for disposal.
- GWP (Global warming Potential: R410A: 2088, R134a: 1430, R290: 3, R32: 675.
- ENVIRONMENTAL INFORMATION: This unit contains fluorinated greenhouse gases covered by the Kyoto Protocol.
- Do not use this unit for functions other than those described in this instruction manual.
- Make Sure the plug is plugged Timely and completely into the outlet.
- A loose connection can result in the risk of electric shock or ire.
- Do not plug other appliances into the same outlet, it can result in the risk of electric shock.
- Do not disassemble or modify the appliance or the power cord, it can result in the risk of electric shock or fire, All services should he ord, t can result in the risk of electric shock nla plane near neater, radiator, or other heat sources.
- It can result in his unit is equipped with a cord that has a grounded wire connected to a pin or grounding tab. Ihe plug n or rounding tab from this plug.
- The unit should h O this plug The unit so un the unit immediately if this occurs. aer, etc.) Unplug the unit immediately if from moisture (e Aways transport your appliance n a vertical position and place it on a stable, level surface during use. ne units transported laying on ts site it Should De Stooa up and let unplugged Tor b hours.
- Always use the switch on the control panel or remote control to turn the unit off.
- Do not start or stop the that protects it from moisture (e.g. condensation, operation by plugging in or unplugging the power cord.
- It can result in the risk of electric shocK.
- Do not touch the buttons on the control panel with wet or damp fingers.
- Do not use hazardous chemicals to clean the unit.
- To prevent damage to the surface finish, use only a soft cloth to clean the appliance.
- Do not use wax, thinner, or a strong detergent.
- Do not use the unit in the presence of inflammable substance or vapor such as alcohol, insecticides, gasoline, etc. the appliance is making unusual sounds or is emitting smoke or an unusual odor, unplug it immediately.
- Do not clean the unit with water.
- Water can enter the unit and damage the insulation, creating a shock hazard.
- If water enters the unit, unplug it immediately and contact Customer Service.
- For your safety, it is best to use two or more people to lift and install the unit.
- Always grasp the plug when plugging in or unplugging the appliance.
- Never unplug by pulling on the cord.
- It can result in the risk of electrical shock and damage.
- Install the appliance on a sturdy, level floor capable of supporting up to 110lbs(50kg).
- Installation on a weak or unlevel floor can result in the risk of property damage and personal injury.
- The appliance is compliant with the RE Directive (2014/53/EU).
- If the power cord is damaged it must be replaced by the manufacturer, its service agent, or a similarly qualified person to avoid a hazard.
- The appliance should be installed in accordance with national wiring regulations.
- Minimum Installation Clearance: 17.5 inches around the unit and 17.5 inches above the unit.
- This appliance is not intended for use by persons (including children)with reduced physical, sensory or mental capabilities, or lack of experience and knowledge unless they have been given supervision or instruction concerning the use of the appliance by a person responsible for their safety.
- Children should be supervised to ensure that they do not play with the appliance.
The following information is provided for appliances employing flammable refrigerants:
WARNING
- Do not use means to accelerate the defrosting process or to clean, other than those recommended by the manufacturer.
- The appliance shall be stored in a room without continuously operating ignition sources (for example open flames, an operating gas appliance, or an operating electric heater.
- Do not pierce or burn.
- Be aware that refrigerants may not contain an odor.
- Refer to the unit’s rating label for the maximum refrigerant charge amount
- Refer to your local codes and ordinances for information on the handling, installation, cleaning, servicing, and disposal of refrigerant
- Keep any required ventilation openings clear of obstruction.
- Service shall be performed only as recommended by the manufacturer.
- The unit should be stored in a well-ventilated area where the room size corresponds to the room area as specified for operation;
- The unit should be stored in a room without continuously operating open flames (for example an operating gas appliance) and ignition sources (for example an operating electric heater).
GROUNDING METHOD
READ ALL INSTRUCTIONS BEFORE USE
ELECTRICAL SAFETY
For additional safety, the power cord features an integrated circuit breaker. Test and reset buttons are provided on the plug case. The circuit breaker should be tested periodically by pressing the TEST button. If it does not cause the circuit breaker to trip, or if the RESET button will not stay engaged, unplug the air conditioner immediately and contact your service technician.
Note: Your unit’s power cord and plug may differ from the above diagram.
Due to potential safety hazards, the use of an adapter plug is strongly discouraged
To prevent damage to the adapter’s ground terminal, hold the adapter in place while plugging in or unplugging the air conditioner. Attaching the adapter ground terminal to the wall receptacle cover screw does not ground the appliance unless the cover screw is metal and not insulated, and the wall receptacle is grounded through the house wiring. Frequent connection and disconnection can damage the ground terminal on the adapter. Never use a broken or damaged adapter.
This product is factory equipped with a power supply cord that has a three-pronged grounded plug. It must be plugged into a grounding-type receptacle in acoordance with the National Electrical Code and applicable Ocal codes and ordinances. the circuit does not nave a grounaing-type receptacie, It is tne responsibty and oDligaton ot the customer to exchange the existing receptacle in accordance with the Nationa Electrical Code and applicable local codes and ordinances. Ihe third grOund prong should not, under any Circumstances, be Cut or removed. Never use the cord, the plug, or the appliance when they show any Sign of damage. Do not use your appliance with an extension cord unless it has been checked and tested by a qualified electrical supplier. Improper connection of the grounding plug can result in the risk of fire, electric shock, and/or injury to persons associated with the appliance. Check with a qualified service representative there is doubt that the appliance is properly grounded.
UNIT DESCRIPTION

- Control panel
- Handle (both side)
- Castors
- Deflector
- Intake grill
- Air outlet grill
- Intake grill
- Power cable
- Plug fixer
- Middle condenser drain
- Condenser drain
ACCESSORIES
| PARTS | PARTS NAME | QUANTITY |
|
| Exhaust hose Hose outlet Hose inlet | 1 set |
| | Window slider kit | 1 set |
![]() | Remote Control Batteries (Two AAA 1.5V) | 1 set |
![]() | Window Sealing Sponge Assembly | 1 set |
![]() | Drain Hose | 1 PC |
NOTE: All the illustrations in this manual are for explanatory purposes only. Your appliance may be slightly different. Be sure all accessories are removed from the packing before use.
INSTALLATION INSTRUCTIONS
EXHAUSTING HOT AIR
In the Cool Mode the appliance must be placed close to a window or opening so that the warm exhaust air can be ducted outside. First position unit on a flat floor and make sure there’s a minimum of 17.7″ (45cm) clearance around the unit, and is within the vicinity of a single circuit outlet power source.
- Extend either side of the hose (Fig.1)

- Screw the hose inlet (Fig.2)
- Screw it to the hose inlet (Fig.3).

- Install the hose inlet into the unit (Fig.4).

- Affix the hose outlet into the window slider kit and seal. (Fig.5&6).

The window slider kit has been designed to tit most standard vertical and horizontal window applications, however, it may be necessary for you to modity some aspects of the installation procedures for certain types of windows. The window slider kit can be fastened with screws.
NOTE: If the window opening is less than the minimum length of the window slider kit, cut the end without the hole to fit in the window opening. Never cut the panel with the hole in your window slider kit.
WINDOW SLIDER KIT INSTALLATION
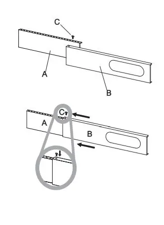
- Parts
- A) Panel
- B) Panel with one hole
- C) Screw to lock window kit in place
- Assembly: Slide Panel B into Panel A and size to window width. Window sizes vary. When sizing the window width, be sure that the window kit assembly is free from gaps and/or air pockets when taking measurements.
- Lock the screw into the holes that correspond with the width that your window requires to ensure that there are no gaps or air pockets in the window kit assembly after installation.
- Use the provided foam window kit sealer to close any gaps or air pockets.
- Cut the foam seal (adhesive type) to the proper length and attach it to the window sash.
- Attach the window slider kit to the window sash. Adjust the length of the window slider kit according to the width of window. If necessany, mark the kit and cut one end down to properly fit the window.
- Cut the foam seal (adhesive type) to the proper length and attach it on the top of the window.
- Close the window securely against the window slider kit.
- Secure the window slider kit to the window sash.
- Cut the foam seal to an appropriate length and seal the open gap between the top window frame and outer window frame.

LOCATION
- The unit should be placed on a firm foundation to minimize noise and vibration.
- For safe and secure positioning, place the unit on a smooth, level floor strong enough to support the unit.
- The unit has casters to aid placement, but it should only be rolled on smooth, flat surfaces.
- Use caution when rolling on carpeted surfaces.
- Use caution and protect floors when rolling over wood floors.
- Do not attempt to roll the unit over objects.
- The unit must be placed within reach of a properly rated grounded socket.
- Never place any obstacles around the air inlet or outlet of the unit. Allow at least 17.5″ (45cm) of space away from the wall for efficient air conditioning.
- The hose can be extended, but it is best to keep the length to a minimum of 15.7″ (40cm).
- Make sure that the hose does not have any sharp bends or sags.
OPERATION INSTRUCTIONS
- Timer button A . Cool symbol
- Fan button B. Dehumidify symbol
- Increase button C. Fan symbol
- Display screen D. High-Speed Fan symbol
- Decrease button
- Low-Speed Fan symbol
- Mode button F. Timer symbol
- ON/OFF button
TURNING THE APPLIANCE ON
Plug into the mains socket, then the appliance is on standby.
Press the O button to make the appliance turn on. The last function active when it was turned off will appear. Never turn the air conditioner off by unplugging from the outlet. Always press the power button O, then wait for a few minutes before unplugging. This allows the appliance to perform a cycle of checks to verify operation.
COOL mode
ideal for hot muggy weather when you need to cool and dehumidify the room. To set this mode: Press the” ” button number of times until the “Cool” symbol light appears. Select the target temperature 64° F-90°F(18°C-32″C) by pressing the “A” or “” button until the corresponding value is displayed. Select the required fan speed by pressing the”button. Different fan speeds have different functions:
- High- Reach the temperature as quickly as possible.
- Low- Lower noise levels.

The most suitable temperature for the room during the summer varies from 75°F-81°F (24°C- 27°C). It’s recommended not to set a temperature much below the outdoor temperature. This will cause unnecessary power consumption.
FAN mode
When using the appliance in this mode, the air hose does not need to be attached. To set this mode correctly: Press the ” button a number of times until the “Fan” symbol appears. Select the required fan speed by pressing the “”button.
Two speeds are available: High/Low.
DRY mode
ldeal to reduce room humidity without cooling. (spring and autumn, damp rooms, rainy periods, etc). Before using the dry mode the appliance should be prepared in the same way as for cool mode, with the air exhaust hose attached to enable the moisture to be discharged outside. To set this mode correctly
- Press the “”button uber of times until the “Dry” symbol light appears the screen will appear “d
- In this mode fan speed is selected automatically by the appliance.

SETTING THE TIMER
This timer can be used to delay the appliance’s startup or shutdown. This avoids wasting electricity by optimizing operating periods.
Programming startup
- Turn on the appliance, and choose the model you desire, for example, cooling. (75°F) 24°C and high fan speed.
- Turn off the appliance. Press the” g button once and the screen will display 1 hour
- Press several times until the corresponding time is displayed, up to 24 hours.
- Wait 5 seconds for the timer to activate, then the “Timer” symbol is displayed on the screen.
- Press again the ” ” button, the timer will be canceled, and the “Timer” symbol will disappear from screen.
Programming shut down
- While the unit is running press the ” button, and the screen will display 1-24 hours.
- Press several times until the corresponding time is displayed.
- Wait about 5 seconds, the timer will be active, then the “Timer” symbol is displayed on screen.
- Press again the “button, the timer will be canceled, and the “Timer symbol will disappear from the screen.
Switch the unit of temperature (Fahrenheit or Celsius)
Hold on”A” and ” V buttons down at the same time for three seconds to switch between Celsius and Fahrenheit.
SELF-DIAGNOSIS
The appliance has a self-diagnosis system to identify unit malfunctions. Error messages are displayed on the appliance display.
REMOTE CONTROL
NOTE
This model has no auto swing function.
- Point the remote control at the sensor on the appliance.
- The remote control must be no more than 23ft away from the appliance without obstacles between the remote control and the receiver.
- Ihe remote control must be handled with extreme care.
- Do not drop it or expose it to direct sunlight or sources of heat. if the remote control does not work, check the batteries and replace them with new batteries.
- Do not mix new and old batteries

INSERTING OR REPLACING THE BATTERIES
- Remove the cover on the rear of the remote control;
- Insert two “AAA” 1.5V batteries in the correct position (see instructions inside the battery compartment);
NOTE
- If the remote control unit is replaced or disposed of the batteries must be removed and discarded in accordance with current legislation, as they are harmful to the environment.
- Do not mix old and new batteries.
- Do not mix alkaline, standard (carbon-zinc) or rechargeable (nickel-cadmium) batteries.
- Batteries may explode or leak if exposed to open flames. Dispose of batteries accordingly.
- If the remote control is not being used for extended periods of time (winter storage), remove the batteries and store in a cool, dry location.
- COOL mode Press the 8 buttons a number of times until the “Cool” symbol light appears.
- Select the target temperature 64°F-90°F (18°C-32°C) by pressing the” A “or ” V “button until the corresponding value is displayed. Select the required fan speed by pressing the “” button.
- FAN mode Press the8″ button a number of times until the “Fan” symbol light appears. Select the required fan speed by pressing the””button.
- Two speeds are available: High/Low If appear “” symbol standard for high speed fan, and”- .” stands for low-speed fan.

DRY mode
- Press the8″ button a number of times until the “Dry” symbol light appears, and the screen will appear “DH”
- In this mode, fan speed is selected automatically by the appliance and the default low-speed fan.

SWING function
NOTE
This unit has no auto swing function. Please adjust the deflectors by manual to the suitable position.
- A: Horizon deflectoR
- B: Vertical defector A

SLEEP function
This function is useful for the night as it gradually reduces the operation of the appliance to save energy. To set this function correctly:
- Select the cool or heat mode as described above.
- Press the”A” button.
The appliance operates in the previously selected mode. When you choose the sleep function, the screen will reduce the brightness, and the fan speed is low. The SLEEP function maintains the room at optimum temperature without excessive fluctuations in either temperature or humidity with silent operation. Fan speed is always at Low, while room temperature and humidity vary gradually to ensure the most comfortable. When in CoOL mode, the selected temperature will increase by 1°F per hour in a 2 hour period. This new temperature will be maintained for the next 6 hours before shutting off. The SLEEP function can be canceled at any time during operation by pressing the “Sleep’, “Mode” or “fan speed” button. SLEEP function cannot be set in FAN or DRY mode.
SETTING THE TIMER
This timer can be used to delay the appliance startup or shutdown, this avoids wasting electricity by optimizing operating periods.
Programming startup
- Turn on the appliance, and choose the model you desire, for example, cooling.
- Turn off the appliance.
- Press the”0″ button, the screen will display 1-24 hours.
- Press several times until the corresponding time is displayed.
- Wait about 5 seconds, for the timer to activate, then the “Timer” symbol is displayed on the screen.
- Press the”button again to cancel the timer, the timer will be canceled, and the “Timer” symbol will disappear from the screen.
Programming shut down
While the appliance is running press the “O” button, the screen will display 1-24 hours. Press the “O” button again to cancel the timer, and the “Timer” symbol will disappear from the screen.
Switch from Celsius to Fahrenheit
When the appliance is in standby, press the ” “CI’F” button to change the unit of temperature.
TIPS FOR USE
To get the optimal performance from your appliance, follow these recommendations:
- Close the windows and doors in the room to be air-conditioned (Fig. 21).

- When installing the appliance semi-permanently, you should leave a door slightly open (as little as 1 cm) to guarantee correct ventilation. Protect the room from direct exposure to the sun by partialy closing curtains and/or blinds to make the appliance much more economical to run (Fig. 22).

- Never rest objects of any kind on the appliance. Do not obstruct the air intake and outlet (Fig. 23).
- Leave the grilles free. Make sure there are no heat sources in the room.
- Never use the appliance in very damp rooms (laundry room, for example).
- Never use the appliance outdoors.
- Make sure the appliance is standing on a level surface.
WATER DRAINAGE METHOD
when there is excess water condensation inSide the unit, the appliance stops running and shows “FE (FULL TANK as mentioned in SELF-DIAGNOSE). This indicates that the water condensation needs to be drained using the following procedures:
Manual Draining (Fig.24)
- Unplug the unit from power source.
- Place a pan (not provided) under the lower drain plug. See diagram.
- Remove the lower drain plug.
- Water will drain out and collect in the pan.
- After the water is drained, replace the lower drain plug firmly.
- Turn on the unit.
Continuous Draining (Fig.25)
- Unplug the unit from the power source.
- Remove the drain plug. While doing this operation some residual water may spill so please have a pan (not provided) to collect the water.
- Connect the drain hose (1/2″ or 12.7mm, maybe not supplied). See diagram.
- The water can be continuously drained through the hose into a floor drain or bucket.
- Turn on the unit.
NOTE: Please be sure that the height of and section of the drain hose should not be higher than that of the drain outlet, or the water tank may not drain.(Fig.26 and Fig.27)
Middle drainage
When the unit is running in Dry mode, you can choose the way below for drainage.
- Unplug the unit from the power source
- Remove the drain plug (Fig.A). While doing this operation some residual water may spill so please have a pan to collect the water.

- Connect the drain hose (1/2″ or 12.7mm, maybe not supplied). (Fig.B)
- The water can be continuously drained through the hose into a floor drain or bucket.
- Turn on the unit.
NOTE: Please be sure that the height of and section of the drain hose should not be higher than that of the drain outet, or the water tank may not drain. Please see Following tig.
CLEANING
Before cleaning or maintenance, turn the appliance off by pressing the button on the control panel or remote control, wait for a few minutes then unplug from the mains socket.
CLEANING THE CABINET
You should clean the appliance with a slightly damp cloth then dry with a dry cloth, do not use water to wash appliance
- Never submerge the appliance in water.
- It could be dangerous.
- Never use gasoline, alcohol or solvents to clean the appliance.
- Never spray insecticide liquids or similar
CLEARING THE AIR FILTE
To keep your appliance working efficiently, you should clean the filter every week of operation. Follow the Fig.28 direction and open the unit grill, then take out evaporator from the back of grill. Use a vacuum cleaner to remove dust accumulations from the filter. If it is very dirty, immerse in warm water and rinse a number of times. The water should never be hotter than 104°F (40°C). After washing, leave the filiter to dry then attach the intake grille to the appliance.
START AND END OF SEASON OPERATIONS
START OF SEASON
Make sure the power cable and plug are undamaged and the grounding system is efficient Follow the installation instructions precisely.
END OF SEASON
To empty the internal circuit completely of water, remove the cap. Run off all water left into a basin. When all the water has been drained, put the cap back in place. Clean the fiter and dry thoroughly before putting back.
TROUBLESHOOTING ROOM CONDITIONS
Temperature of room 64°F-95°F (18°C-35°C) (Cooling) Temperature of room 50°F-77°F (10″C-25°C) (Heating)

SAFETY INFORMATION









































