
Powered Stair Climbing Hand Truck
Operator’s Manual

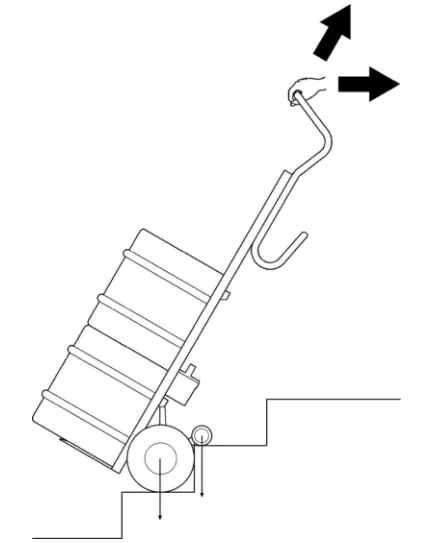
Installation of Nose
To install the nose, place the Powered Stair Climber on its back-side. Locate the three bolts included in packaging and secure the nose to the fixed nose plate mounting bracket with a T-40 Torx wrench. The longer bolt goes in the middle.
Introduction
Weighing only 35 pounds, the Powered Stair Climber efficiently climbs at a rate of up to 48 steps per minute. With capacities up to 375 pounds, we promise the Powered Stair Climber will be faster than you are! The heavy duty battery handles 220 steps at full load and over 300 steps with a half load on a single charge. The Powered Stair Climber is able to go up and down stairs depending on your delivery demands. Many options are available to customize your Powered Stair Climber to meet your specific needs. Several noses, various handles, and puncture proof tires are a few of the options offered.
The Powered Stair Climber has a mechanical clutch that prevents damage if the unit is used to descend tairs with the controls in the ascend position. The Powered Stair Climber features electronic overload protection preventing operation with a load over the weight limit. The Powered Stair Climber has a slow and fast ascending speed and one descending speed.
2.1 General Safety Instructions
- Always make sure no one is beneath the Powered Stair Climber on the stairs
- Always secure the load with the appropriate accessories
- Always wear skid-proof, steel-toed shoes
- Never reach anything into the lifting mechanism when the battery is inserted
- Always remove the battery when unit is not in use, during transit, and prior to any maintenance procedures to prevent accidental operation.
- Always use a Magliner Powered Stair Climber Battery Charger to charge your Powered Stair Climber battery
2.2 Before Using Your Powered Stair Climber
- Read the entire Operator’s Manual
- Fully charge battery
- Install nose following directions above
- Familiarize yourself with Powered Stair Climber controls and buttons
- Install fully charged battery
- Practice using your Powered Stair Climber on a stairway with no load at first, then with approximately 60 pounds
2.3 Specifications of Powered Stair Climber Models
| Specifications | 170 Ergo | 140 Ergo 140 Ergo BW | 140 Uni | 110 Fold |
| Capacity | 375 lbs. | 300 lbs. | 300 lbs. | 240 lbs. |
| Maximum speed (steps/minute) | 29 | 35 | 35 | 48 |
| Weight without battery | 35 lbs. | 35 lbs. | 35 lbs. | 35 lbs. |
| Maximum step height | 8″ | 8″ | 8″ | 8″ |
| Overall height | 62″ | 62″ | 58″ | 38 1/2″ folded 60″ unfolded |
| Width | 19 “ | 19 “ | 19 “ | 19 “ |
| Depth | 18″ to 24″ Depends on nose | 18″ to 24″ Depends on nose | 18″ to 24″ Depends on nose | 18″ to 24″ Folded |
2.4 Specifications of Powered Stair Climber Battery
| Powered Stair Climber Battery | |
| Fuse | Internal blowout fuse (30 amps) |
| Plug Socket for charger | DC Jack 0 2.1 x 9.5 |
| Weight | 9 Pounds |
| Capacity | 5 Ah |
| Voltage | 24 VDC (2 x 12 VDC — 5 Ah) |
| Batters/ Cells | Sealed lead- acid maintenance-free and approved for air travel by DOT and IATA |
Controls
3.1 Model

3.2 Safety Flap
It may be necessary to use your foot to assist in tilting back your loaded Powered Stair Climber. To do this, use the swing arm, a main wheel, or the lower portion of the drive unit. The safety flap prevents your foot from getting jammed under the swing arm by automatically ceasing all Powered Stair Climber operation when depressed. To resume use if this occurs, release safety flap and press the round up switch.
Caution !
Only turn main battery switch on after tilting the load.
3.3 Main Switch
The main switch is located on the battery cover and is used to turn the power supply on and off (see section 3.1 Model).
Power can be shut off by doing one of the following:
- Turning the main switch on the battery unit
- Removing the battery
- Pressing the ascend / descend button for 3 seconds or longer
- Automatically after 10 minutes of non-use
3.4 Control Box
Indicator Light
- Constant green means the Powered Stair Climber is in ascend mode and the round up switch in the handle bar is active. The lifting mechanism operates when the round up switch is depressed and stops when released.
- Flashing green means the Powered Stair Climber is in descend mode and the round up switch is inactive.
- Constant red means the Powered Stair Climber is in descend mode and the support wheels move quickly to the descend position.
- Flashing red means the Powered Stair Climber is overloaded and the indicator light will flash for 3 seconds and shut off.

3.5 Safety Beep (high traffic areas)
Powered Stair Climbers purchased after December 1, 2016 are equipped with a MESAL electronic card with a safety beep feature. To turn “on,” press and hold the ascend/descend battery for approximately 30 seconds until you hear the unit beep. Press and hold round up switch to ensure intermittent beeps while in use have been activated. To turn “off” press and hold the ascend/descend button for approximately 30 seconds.
3.6 Round Up Switch
The round up switch (see page 5) is active only in the ascend mode and turns the lifting mechanism on and off. The swing arm assembly will begin to rotate when the round up switch is depressed. Powered Stair Climbers purchased after December 1, 2016 are equipped with a MESAL electronic card with a tilting sensor that prevents the swing arm from moving when the unit is horizontal (such as in storage during transport). This prevents accidental activation of the swing arms.
Battery
Caution !
Always remove the battery when Powered Stair Climber is not in use and when performing any maintenance procedures.
Improper installation and removal of battery will cause premature wear of battery case and cause battery to fall out during use.
4.1 Installing the Battery
- Locate corner “A” on both sides of battery and slide into hook “B” on the inner part of the frame
- Snap battery forward to engage locking hooks

4.2 Removing the Battery
Pull battery upward to unlock. Battery must be lifted vertically to disengage locking hook. Failure to lift vertically will wear locking clips and will lead to battery falling out during operation. Do not hinge back. Lift straight up to clear the locking hooks.
Charging the Battery
The battery-cells within the battery housing are maintenance-free, sealed and rechargeable. Their durability largely depends on the charge/discharge cycles. It is possible for instance to extract far more than 1,000 partial discharges from lead-acid batteries if total discharge is avoided.
- For this reason, avoid total discharge. Recharge as often as possible.
- Lead-acid batteries are subjected to ‘self-discharge’. For this reason, the snap-on battery should be recharged after a maximum of three weeks of disuse.
- The charger automatically switches to trickle charging so overcharging is not possible.
- Do not leave the battery discharged or half discharged. Always charge immediately after use.
- If the batteries should become damaged it is possible to have them replaced in any reputable mechanical workshop. The old lead batteries are fully recyclable and are not to be disposed of.
- The optimum temperature for charging is 68 – 77 °F (20 – 25 °C). Too cold or too warm has a negative effect on the capacity. If the battery has not been fully charged or tends to lose charge too rapidly, this will reduce the speed and capacity of the Powered Stair Climber and it may go into the overload mode as a result, even with light loads
Caution !
Do not leave the battery completely discharged or half charged. Keep fully charges at all times
5.1 Battery Chargers
There are two optional DC chargers and one AC charger available from Magline for your Powered Stair Climber. The AC charger is included with each new Powered Stair Climber purchase. Prior to every use, check your battery charger for any damaged wires.
AC Charger with U.S. Blade (part number 045141K) This charger comes standard with every Powered Stair Climber purchase.
The charger unit supplied is extremely powerful. An LED display clearly indicates the charge status. The charge display shows whether the battery is fully charged or not. It is advised to make sure that the battery is fully charged before using the Powered Stair Climber.
The charge status is displayed as follows by an LED:
- If the LED is constantly red, the battery is charging.
- If the LED is constantly green, the battery is fully charged. The charger unit can remain connected after the battery is fully charged (green light) without causing any damage to the battery. The charger consumes minimal power in this standby mode (when the battery is fully charged), keeping the battery fully charged and extending its service life. All of these factors are achieved by an electronic circuit that controls and regulates the charging current sent from the charger unit to the battery being charged.
Technical Data
| Powered Stair Climber Battery Charger | |
| Main voltage (50/60 Hz. 0.7A) | 100-240 V AC |
| Nominal rating (input) | 24 W |
| Charging voltage | 24 V DC |
| Theoretical charging current | 1.0 A |
| Protection class | IPX4 |
| Conformity marks | UL. cUL. CE |
Optional DC Battery Charger less mounting plate (part number 930600)
This type of charger is optional and enables charging the battery in your vehicle while leaving the battery conveniently inserted in your Powered Stair Climber. The green light by itself indicates the power is on. The other three lights indicate the level of charge:
- Green – battery is fully charged but is still being trickle charged to compensate for the internal loss of capacity when battery is not in use.
- Yellow – battery is 70-80% charged and is trickle charging.
- Red – battery is discharged and is charging fast.
Optional DC Battery Charger with mounting plate (part number 930114)
This type of charger is optional. To charge, the battery must be removed from the Powered Stair Climber and properly positioned on the mounting plate. The green light by itself indicates the power is on. The other three lights indicate the level of charge:
- Green – battery is fully charged but is still being trickle charged to compensate for the internal loss of capacity when battery is not in use.
- Yellow – battery is 70-80% charged and is trickle charging
- Red – battery is discharged and is charging fast
5.2 Charger Safety Guidelines
Please take care of the following points:
- Protect against moisture.
- Only charge in a well-ventilated space.
- Do not pull the plug out of the socket by its cord.
- Never use the charger unit if it has a damaged cable or plug; replace damaged chargers immediately.
- Only use the charging unit if protected from direct sunlight and moisture.
Use the charger only for the intended purpose.
- The charger unit is designed exclusively for charging lead acid batteries containing liquid, gel-type and fabric-type electrolyte.
- It is not permissible to charge NiCd or NiMH batteries or primary cells.
Operation

6.1 Ascending/Descending Stairs
Press ascend / descend button briefly until the indicator light shines green continuously (see section 3.4 Control Box). The Powered Stair Climber is now in the ascend mode. Select high or low speed.
Pressing the round up switch in the upper handle operates the support wheels and will lift the Powered Stair Climber over the step continuing until the button is released.
As the main wheels rest on the stair, immediately pull the Powered Stair Climber back to touch the rise of the next step up.
Caution !
Holding the Powered Stair Climber too flat on stairs with open risers can result in partially trapping the support wheels under the stair. This may cause excessive pressure on the drive unit and cause unit to go into overload mode and shut down. To resume use, press the ascend / descend button to reset.

With the support wheels in the descend position, the Powered Stair Climber can be rolled over the step and the support wheels will lower the Powered Stair Climber onto the next step down. When the main wheels land on the lower step, the support wheels automatically rotate to the descend position for the descent onto the next step, all within approximately half a second.
During the descent, the indicator light changes to constant red. After reaching the descend position, the indicator light changes back to flashing green.
Caution !
As soon as the Powered Stair Climber rolls off the step, be sure the main wheels are kept against the rise until the support wheels reach the descend position.
Just before the swing arm reaches the descending position, the support wheels reach the upper edge of the stair and lift the Powered Stair Climber approximately half an inch.
In the case of closed risers with low steps the support wheels may touch the stair riser and the Powered Stair Climber could move approximately 3 to 4 inches forward. This is normal as the Powered Stair Climber prepares to advance to the next step.
It is unnecessary to press the round up switch to descend the stairs. The support wheels operate automatically at a set speed.
6.2 Important Operator Information
When ascending, the balance of the load changes as soon as the support wheels start lifting the load.
Care should be taken at the point where the support wheels take the load during ascent. There is a forward movement of the Powered Stair Climber. This is easily compensated by tilting the handle backwards.

To eliminate any major forward movements, lower the Powered Stair Climber backwards about 15° before the support wheels begin to lift.
Do not overload the Powered Stair Climber. Exceeding the load capacity activates the overload mode causing the Powered Stair Climber to stop and lower the main wheels slowly to the lower step. The indicator light flashes red for about 3 seconds after which the ascend / descend button will need to be reset.
Caution !
Once the battery is discharged, the unit goes into overload even with loads below the specified capacity.
Never throw loads onto the Powered Stair Climber. The impact of throwing loads onto the Powered Stair Climber could result in fracturing the drive unit. If necessary to load the Powered Stair Climber in a horizontal position be sure the support wheels are raised between the main wheels and carefully place the item on the Powered Stair Climber.

During normal operations, the battery is held securely in place by locking hooks. A strong, vertical pull is required to remove it. Moving backwards very quickly and striking a high step or similar equipment abuse could result in the battery ejecting from its location. If this happens, the Powered Stair Climber will cease operation. Failure to negotiate steps “square-on” will damage the underside of the drive unit.

CE Marking
All Powered Stair Climber battery chargers meet the fundamental requirements of the Low-Voltage and Electromagnetic Compatibility Directive and is thus CEmarked.
Warranty and Liability
7.1 Warranty
The warranty period for the Powered Stair Climber is 12 months (6 months for batteries) from the date of purchase and covers defective material and production faults. Exclusions in the warranty are:
- Normal wear and tear on parts
- Damage resulting from abnormal load
- Damage due to the excessive exertion of force
- Modifications to the Powered Stair Climber, accessories, or parts
7.2 Liability
SANO Transportgeräete GmbH as manufacturer and Magline, Inc. as distributor are not responsible for the safety of the Powered Stair Climber if:
- The Powered Stair Climber is used for purposes other than those for which it is intended
- The Powered Stair Climber is not regularly maintained properly by a mechanical workshop
- The instructions in this Operator’s Manual are not observed
- Non-Powered Stair Climber parts are installed or connected to the Powered Stair Climber
- Original parts are removed
LiftKar® is a registered trademark of SANO Transportgeräete GmbH.
Copyright 2005-2022 Magline, Inc.
Rev 4/22
B8078

















