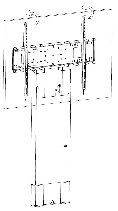
VISION VFM-F51-D Flat Panel Floor Stand

INSTALLATION INSTRUCTIONS













- For extra stability fix to floor using appropriate fixtures.
- REMEMBER to be careful of underfloor heating.
- Screws not included.
- Use appropriate fixtures for wall type.
- Use at least two fixtures per bracket.
- MUST be fixed to load-bearing structure.
- OPTIONAL Use when the VESA width is 400 or narrower.
















