ProsKit SS-979 2 in 1 SMD Hot Air Rework Station

SAFETY INSTRUCTIONS
WARNING Warnings and cautions are placed at critical points in this manual to direct the operator’s attention to significant items. They are defined as follows: WARNING
Failure to comply with a WARNING may result in serious injury or death. CAUTION
Failure to comply with a CAUTION may result in injury to the operator, or damage to the items involved.
NOTE A NOTE indicates a procedure or point that is important to the process being described.
EXAMPLE
AN EXAMPLE is given to demonstrate a particular procedure, point or process. Be sure to comply with following WARNINGS and CAUTIONS for your safety.
WARNING
Do not change or disassemble any components related to this product, it may cause product damaged.
When replacing the fuse, be sure to turn off the power before operating.
During working period, do not turn off the power suddenly, the heat gun should be placed on the bracket until cool off, otherwise it will damage the product。
CAUTION
When the power is ON, the temperature of the hot air and the nozzle ranges from the temperature of soldering iron ranges.
To avoid injury to personnel or damage to items in the work area, observe the
Following
- Do not aim the hot air toward personnel or touch the metal parts near the nozzle.
- Do not use the product near combustible gases or flammable materials.
- Avoid potentially dangerous work condition involving high temperature area.
- After use, the power should be off
- Change the components or tip after cutting off power and waiting to cool it.
- Do not touch the metallic parts near the tip.
- Do not strike the hand piece against hard surfaces.
- Be sure the unit is grounded. Always connect power to a grounded receptacle.
- Do not disassemble the machine.
- Do not modify the unit.
- Use Pro’sKit replacement parts only.
- Do not wet the unit or use the unit with wet hands.
- Remove power cord by holding the plug ‒ not the wires.
- Keep away from children.
Function diagram

- Hot air nozzle
- Heat gun bracket
- LED screen
- Set key
- Airflow knob
- Heat gun power switch
- Soldering iron power switch
- Station power switch
- Power socket
- UP ▲ key
- Down ▼ key
- Solder iron stand
- Cleaning sponge
- Soldering iron socket
Packing List:
- SMD Hot Air Rework Station (include bracket) x1 Heat gun x 1
- Air nozzle x 1
- Soldering iron x
- Iron stand(with cleaning sponge, copper cleaner)x 1
- Power cord x 1
- User’s manual x 1
Features
- Microprocessor-controlled, closed circuit sensor design, high power and quick warm-up times
- Adjustable air volume and temperature, suitable for a variety of applications.
- Handle with sensor design, switching work & sleep mode for real-time operation convenience.
- Auto cool-off process to prolong the life of heating element
- Comes with brushless motor provides long service life, quiet in operation
- Soldering iron conforms to CE, ESD safety regulations.
- Heat insulation handle with ergonomic design ensures user safety and comfort.
- The soldering iron adopts ceramic heating element, providing stable power and fast heating speed.
- Ideal for heating shrinks, viscidity removal, lacquer removal, preheating and more.
Specification
| Model No. | SS-E | SS-B | SS-H |
| Power Input | V-V ~Hz | WV-V ~Hz | |
| Power Consumption | W | ||
| Soldering Power | |||
| Soldering Iron Temperature | ℃ | ||
| Soldering Iron Output Voltage | AC V-V AC V-V | ||
| Hot Air Output Voltage | LED | ||
| Temperature Display | |||
| Soldering Iron Heating Element | Alumina Ceramic Heater Metal Heating Core | ||
| Hot Air Heating Element | L/min(Max) | ||
| Air Volume | dB | ||
| Equipment Noise | |||
| Plug Type | E V / A | B V | H A |
| Fuse Type | |||
| Certificate | RoHS, ESD | Kg CE, RoHS, ESD | |
| Weight | (include holder) | ||
| Dimension (mm) | |||
Optional Replacement Replacement Nozzle:

Replacement Soldering Iron :
| Replacement heater | SS-N-HT |
| Replacement hand piece | SS-N-SI |
Optional accessories for heat gun :
| Model# | SS-E | SS-B | SS-H |
| Heat gun | SS-E-HG | SS-B-HG | SS-B-HG |
Replacement Tips :
Application
- Suitable for desoldering multiple components.
- Ideal for heating shrink, viscidity removal, lacquer removal, preheating and more.
- Electronic maintenance and device welding operation.
Operation Instruction
- Put the rework station ready and place handle on the bracket.
- Connect the power cord to the power receptacle on the back panel of the station.
- Set the blast nozzle (large caliber nozzle preferred).
- Switch the power on, the screen displays last set value then display “SLP“, it represents standby mode. (Available in microcomputer with digital LED)
- Press “▲”or “▼” key as to set up the temperature.
- Adjust the airflow knob to set up the required air volume.
- Hold the handle, the equipment begins to heat. Rotate the airflow knob in order to set proper air volume and operate normally when temperature is stable.
- Put the handle back on the bracket after work, the SMD station switched from heating mode to cooling – off mode automatically. When the temperature is lower than the station switching to standby mode.
- Cut the power off and unplug the power cord if there is no operation for a long time.
Attention
Please set up the temperature as lower as possible in high airflow volume as to prolong heating element service life and better IC chips protection.
Setting Up Temperature.
- In the power on state, press the “set” key to select the conversion between air temperature and soldering iron temperature.
- Press “▲”or “▼”key to set up the temperature, the screen displays the setting temperature.
- Press “▲” once the temperature degree increase and the screen displays the setting temperature. Press “▼” once the temperature degree decrease and the screen displays the setting temperature. When press the “▲”or “▼” key continuously, the temperature will increase or decrease rapidly, after the key is released, the screen displays setting temperature.
- Put the handle back on the holder after work, the SMD station switched from heating mode to cooling – off mode automatically. When the temperature is lower than the station switch to standby mode.
- Press “▲”, “▼” at the same time to start the machine and restore the factory settings.
- Press “set” key to start the machine, and select the temperature unit ℃ / ℉.
Calibrating Temperature
- Press the “set” and “▲” keys at the same time to calibrate the temperature of the air gun, and then input the measured actual temperature value.
- Press the “set” and “▼” keys at the same time to calibrate the temperature of the soldering iron, and input the actual temperature value for measurement at this time.
- Press “set” to select the adjustment position and exit, press “▲” “▼” to adjust the number.
Note
Temperature for hot air measurement is located in the middle point of about mm inside the air nozzle.
Note
Explanation of symbols
A. “SLP” represents the temperature is lower than n standby mode, while the handle put on the bracket.
B. “S-E” represents the switch turned on but the connector of heat gun (soldering iron) did not connect to the station properly or the sensor of heat gun
Terms of Use
- The air outlet and its surrounding area may be very hot. Be cautious of scald.
- The heat gun shall not be put on the working table or other place except its bracket.
- Please keep the air outlet unblocked.
- Place the heat gun on its bracket after the work, and keep it cool naturally and turn into standby mode, then switch the power off.
- The distance between the air outlet and the object shall be no less than mm.
- Choose suitable nozzle in accordance with working requirements. Different nozzles may result in different temperatures.
- When the soldering iron is not in use, please put it on the soldering iron stand.
- If the temperature is too high, the service life of soldering iron tip will be reduced, so the suitable working temperature should be selected。
- Clean the iron tip with cleaning sponge regularly。
- When the soldering iron is used continuously for a long time, remove the iron tip once a week to remove the oxide。
- After use, the iron tip should be wiped clean and coated with a new tin layer to prevent oxidation of the iron tip.
- The temperature of different types of soldering iron tip may be different. The best way to adjust the temperature is to use a special thermometer for measuring the tip. (refer to “temperature calibration”)
Fuse Replacement
When fuse is blown, replace with the same type of fuse. (see below picture)
- Unplug the power cord from the power receptacle.
- The fuse holder is located under the AC power receptacle, use the slotted (‒) screwdriver to loosen the fuse bracket
- Replace the fuse with new one
- Put the fuse holder back in place

Basic Troubleshooting Guide
WARNING
To avoid personal injury or equipment damage, disconnect power cord before making any servicing to the equipment.
Problem 1
- The unit has no power / display does not light up.
- Check if the unit is switched ON.
- Check the fuse, replace with the same type of fuse if blown.
- Check the power cord and make sure there is no disconnection.
- Verify that the unit is properly connected to the power source.
- Check if local voltage matches the product requirement.
Problem 2
- The temperature of the SMD station is not rising.
Description:- Display lights up but the temperature of heat gun is relative low and not heating up.
- Solution:
- Heat gun cord or heating element may be damaged, please replace a new heat gun.
Problem 3
- Heat gun temperature is intermittent.
- Description:
- Display lights up but the heat gun temperature rises and falls uncontrollably.
- The temperature is less than and no longer heating up in working state.
- Solution:
- Heat gun plug may be loose from the receptacle, unplug the heat gun and re-attach.
- Heat gun cord or heating element may be damaged, please replace new heat gun.
- Description:
Problem 4
- The temperature of soldering iron tip cannot be increased
- Description:
- The temperature display shows the temperature, but the temperature of the soldering iron does not reach the set relative temperature or is not heated.
- When the display temperature is less than and does not heat up again, or when the temperature of the soldering iron tip rises intermittently.
- Solution:
- Is the soldering iron wire damaged? Please replace the soldering iron handle.
- The heating core may be damaged, please replace it with a new one
- Please refer to ” Refer to checking for breakage in the heating element “.
- Description:
Problem 5
- The temperature of soldering iron tip or hot air is too low or too high
- Description: The temperature deviation between the temperature display and the soldering tip is large
- Solution:
- Is the soldering iron tip aging seriously? Please replace or clean the soldering head.
- Is the calibration correct? Please recalibrate
Checking for breakage of the heating element and cord assembly
Disconnect the plug and measure the resistance value between the connecting plug pins as follows.
If the values of ‘a’ and ‘b’ are outside the above value, replace the heating element (sensor) and/or cord assembly .Refer to Procedures If the value of “c” is over the above value, remove the oxidization film by lightly rubbing with sand-paper or steel wool the points as shown.
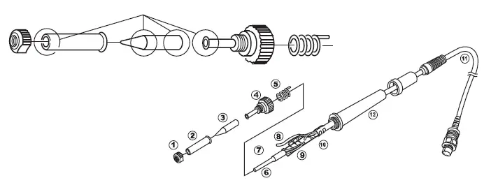
Heating element broken Disassembling the Unit

- Turn the nut counterclockwise and remove the tip enclosure the tip .
- Turn the nipple counterclockwise and remove it from the iron.
- Pull both the heating element and the cord assembly out of the handle . (Toward the tip of the iron.)
- Pull the grounding spring out of the D-sleeve.
Measure when the heating element is at room temperature.
- Resistance value of heating element (resistance between the red lines)

- Resistance value of sensor (resistance between the blue line)

If the resistance value is not normal, replace the heating element.
Replace the heating element.
- De-solder the damaged heating element leads and remove it.
- Replace a new one and solders to PC board properly.

- Solder the two leads of heater to the other side of PC board, bend the leads at right triangle when soldering to prevent short-circuit
After heating element replaced:
- Measure the resistance value between pins. If it is not ∞, the heating element or sensor may touch the housing ground. Eliminates the problem first; otherwise, it will damage the PCB
- Measure the resistance value between all leads to confirm that the leads are not twisted and that the grounding spring is properly connected.
Soldering iron cord damaged
Test the soldering iron cord

Check the resistance between the pin of the plug and the wire on the terminal. Pin 1: Black Pin 2: Red Pin 3: White Pin 4: Black Pin 5: Red Pin
The value should be . If it is more than Ω or ∞, the soldering iron need to be replaced.
Note The actual wiring mode shall be subject to the circuit diagram, and the color of lead sheath will not be informed





















