PILSKOTT LED Floor Smart Lamp
Instructions
PILSKOTT LED Floor Smart Lamp

Getting started
Connect your product to the mains or plug the power cable into the wall socket.
If you have the TRÅDFRI gateway or DIRIGERA hub
Go to App Store or Google Play and download the IKEA Home smart app. The app will take you through the process of installing your product and other devices.
How to steer your lighting
When the product is connected to the mains, it is possible to turn it ON/OFF with the main switch or the foot switch, but if you want to dim or connect your product to other IKEA Home smart products, you need to buy a separate steering device (e.g. a remote control).
The steering device needs to be paired with your wireless product. If you have more than one (1) wireless product, you can pair each one with the steering device so that the entire combination can be turned ON/OFF or dimmed at the same time.
Pairing a steering device to your product
- Connect at least one (1) product to the mains before you begin the pairing. Make sure that the mains power is turned ON.
- Locate the pairing symbol on the LED driver. Hold the steering device close to the pairing symbol (no more than 5 cm away).
- Press and hold the pairing button on the steering device for at least 10 seconds. A red LED light will shine steadily on the steering device. The product will begin to dim and flash one time to indicate that it has being paired to the steering device.
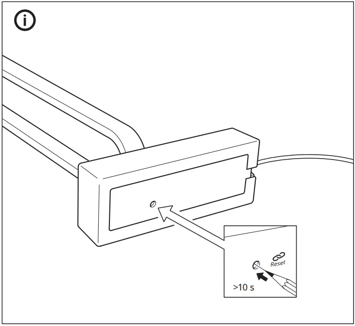
How to factory reset your driver
If the product does not respond or if you want to un-pair the product from a steering device, you might have to perform a factory reset. The unit is forced to factory reset by carefully pushing and holding in the small button (marked RESET) with a tip of pen on the LED driver enclosure and applying slight pressure.
A factory reset can also be performed by toggling the main switch 6 times.
IMPORTANT!
- The product is for indoor use only and can be used in temperatures ranging from 5 °C to 45 °C (41ºF to 113 ºF).
- Do not leave the product in direct sunlight or near any heat source, as it may overheat.
- The declared radio range between the unit and the steering device is measured in open air.
- Different building materials and placement of the units can affect the wireless connectivity range.
Care instructions
To clean the unit, wipe with a dry soft cloth.
Never use abrasive cleaners or chemical solvents as this can damage the product.
Product servicing
Do not attempt to repair this product yourself. If you open or remove parts, you may expose yourself to dangerous voltage points or other risks.
Save these instructions for future use.
Technical data
Type: G2015 PILSKOTT
Input: 100-120 VAC, 50/60 Hz, 14.5W
Max lumen output: 700lm
Power Supply Unit
Type: ICPSLC24-30-IL44-1
Input: 100-120 VAC, 50/60 Hz, 0.51A
Output: 24.0V DC
Max total load: 1.25 A, 30.0 W
Radio range: 10 m in open air.
Operating frequency: 2400-2483.5MHz
Output power: 12 dBm
Indoor use only
Manufacturer: IKEA of Sweden AB
Address: Box 702, SE-343 81 Älmhult, SWEDEN
RF EXPOSURE INFORMATION
According to RF exposure regulations, under normal operations the end user shall refrain from being closer than 20 cm from the device.
This device complies with Part 15 of the FCC Rules.
This device contains licence-exempt transmitter(s)/receiver(s) that comply with Innovation Science and Economic Development Canada’s licence-exempt RSS standard(s).
Operation is subject to the following two conditions:
- this device may not cause harmful interference, and
- this device must accept any interference received, including interference that may cause undesired operation of the device.
WARNING:
Any changes or modifications to this unit not expressly approved by the party responsible for compliance could void the user’s authority to operate the equipment.
NOTE:
This equipment has been tested and found to comply with the limits for a Class B digital device, pursuant to part 15 of the FCC Rules. These limits are designed to provide reasonable protection against harmful interference in a residential installation.
This equipment generates, uses and can radiate radio frequency energy and, if not installed and used in accordance with the instructions, may cause harmful interference to radio communications. However, there is no guarantee that interference will not occur in a particular installation. If this equipment does cause harmful interference to radio or television reception, which can be determined by turning the quipment off and on, the user is encouraged to try to correct the interference by one or more of the following measures:
- Reorient or relocate the receiving antenna.
- Increase the separation between the equipment and receiver.
- Connect the equipment into an outlet on a circuit different from that to which the receiver is connected.
- Consult the dealer or an experienced radio/TV technician for help.
License rights and limitations
NO RIGHTS OR LICENSES, EXPRESS NO RIGHTS OR LICENSES, EXPRESS OR IMPLIED, ARE GRANTED TO USE THIRD-PARTY DEVICES IN COMBINATION WITH THESE PRODUCTS IN A WIRELESS MESH NETWORK, OR TO USE THIRDPARTY SERVICES TO ACCESS, MONITOR OR CONTROL THESE PRODUCTS IN A WIRELESS MESH NEWORK VIA THE INTERNET OR ANOTHER EXTERNAL WIDE AREA NETWORK.
For use pursuant to U.S. Patent Nos.:
US 6,914,893
US 7,697,492
US 8,964,708
The crossed-out wheeled bin symbol indicates that the item should be disposed of separately from household waste. The item should be handed in for recycling in accordance with local environmental regulations for waste disposal. By separating a marked item from household waste, you will help reduce the volume of waste sent to incinerators or land-fill and minimize any potential negative impact on human health and the environment. For more information, please contact your IKEA store.
© Inter IKEA Systems B.V. 2022
AA-2337470-1
Design and Quality IKEA of Swedwn


















