BENMAN 70825 Professional Series Electric Spray Gun 120W

SPECIFICATION: ES 120W
- Voltage:100V 110V 120V 220V 230V 240V 50Hz 60Hz (*Voltage marked on the spray gun)
- Capacity: 360 c.c./min ( 12 oz/min )
- Power Dissipation: 120 Watt
- Container: 1200 c.c.

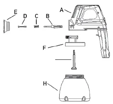
- A) Unit
- B) Piston
- C) Piston spring
- D) Atomizer valve
- E) Spray tip
- F) Cylinder housing
- G) Suction tube
- H) Container
WARNING
- Read all safety warnings and all instructions. Save all warnings and instructions for future reference. Failure to follow the warnings and instructions may result in electric shock, fire and/or serious injury.
- DO NOT aim sprayer at yourself or anyone else at all times, in case of injury, seek expert medical consultancy immediately.
- DO NOT allow any part of the body to come in contact with the fluid stream.
- DO NOT cover the nozzle with any part of your body, high velocity jet could cause accidental injuries.
- DO NOT operate sprayer with empty container, the spraying force can cause injuries to people or animals. DO NOT spray any hazardous materials (for example: easy flammable, highly toxic, toxic, less toxic, corrosive or irritating substances).
- DO NOT spray any textured materials containing particles or fibers, such as metallic paint and paints containing asbestos fibers.
- DO NOT spray flammable liquid.
- DO NOT clean guns with flammable solvents.
- DO NOT spray any material where the hazard is not known.
- DO NOT use the spray gun outside when it is raining to reduce the risk of electric shock.
- DO NOT use the spray gun at any closed area. Ensure adequate ventilation at all time when using the unit. DO NOT disassemble the sprayer without having special skills required for avoiding danger.
- DO NOT tamper with electrical motor, switch wiring or plug.
- DO NOT leave your sprayer unclean or allow paint to dry in the pump. An unclean sprayer will not work next time and you could void the warranty.
- NEVER immerse the sprayer into water or other liquids for preventing electric shock.
- NEVER hold the gun horizontally or it may allow paint or solvent to run down the machine or cause electrical shock.
- ALWAYS wear mask, goggles, ear protectors and eye protectors while operating the sprayer.
- ALWAYS unplug the cord to prevent accidental spraying when you stop spraying or servicing.
- ENSURE clean completely & lubricate piston & cylinder after spraying every time.
- USE fluids with a flashpoint above 55 degrees C.
- THE use of any accessory or attachment, other than those recommended in this instruction manual, may present a risk of personal injury.
- BEWARE of any hazard presented by the material being sprayed and consult the markings on the container or the information supplied by the manufacturer.
- DO use an extension cord that must have 3 wires or at least 18 gauge.
- DO only plug the cord or extension cord into a 3-wire grounded supply circuit.
Work area safety
- Keep work area clean and well lit. Cluttered or dark areas may cause accidents.
- Do not operate power tools in explosive atmospheres, such as in the presence of flammable liquids, gases or dust. Power tools create sparks that may ignite dust or fumes.
- Keep children & bystanders away while operating a power tool. Distractions can cause you to lose control.
Electrical safety
- Power tool plugs must match the outlet. Never modify the plug in any way. Do not use any adapter plugs with earthed (grounded) power tools. Unmodified plugs & matching outlets will reduce risk of electric shock.
- Avoid body contact with earthed or grounded surfaces, such as pipes, radiators, ranges and refrigerators. There is an increased risk of electric shock if your body is earthed or grounded.
- Do not expose power tools to rain or wet conditions. Water entering a power tool will increase the risk of electric shock.
- Do not abuse the cord. Never use the cord for carrying, pulling or unplugging the power tool. Keep cord away from heat, oil, sharp edges or moving parts. Damaged or entangled cords increase the risk of electric shock.
- When operating a power tool outdoors, use an extension cord suitable for outdoor use.
Use of a cord suitable for outdoor use reduces the risk of electric shock. - If operating a power tool in a damp location is unavoidable, use a residual current device (RCD) protected supply. Use of an RCD reduces the risk of electric shock.
3) Personal safety
- Stay alert, watch what you are doing and use common sense when operating a power tool. Do not use a power tool while you are tired or under the influence of drugs, alcohol or medication. A moment of inattention while operating power tools may result in serious personal injury.
- Use personal protective equipment. Always wear eye protection. Protective equipment such as dust masks, non-skid safety shoes, hard hat, or hearing protection used for appropriate conditions will reduce personal injuries.
- Prevent unintentional starting. Ensure the switch is in the off-position before connecting to the power source and/or battery pack, picking up or carrying the tool. Carrying power tools with your finger on the switch or energizing power tools that have the switch on invites accidents.
- Remove any adjusting key or wrench before turning the power tool on. A wrench or a key left attached to a rotating part of the power tool may result in personal injury.
- Do not overreach. Keep proper footing and balance at all times. This enables better control of the power tool in unexpected situations.
- Dress properly. Do not wear loose clothing or jewelry. Keep your hair, clothing and gloves away from moving parts. Loose clothes, jewelry or long hair can be caught in moving parts.
- If devices are provided for the connection of dust extraction and collection facilities, ensure these are connected and properly used. Use of dust collection can reduce dust-related hazards.
Power tool use and care
- Do not force the power tool. Use the correct power tool for your application. The correct power tool will do the job better and safer at the rate for which it was designed.
- Do not use the power tool if the switch does not turn it on and off. Any power tool that cannot be can troll with the switch is dangerous and must be repaired.
- Disconnect the plug from the power source and/or the battery pack from the power tool before making any adjustments, changing accessories, or storing power tools.
Such preventive safety measures reduce the risk of starting the power tool accidentally. - Store idle power tools in a dry, high or locked-up place, out of the reach of children and do not allow persons unfamiliar with the power tool or these instructions to operate the power tool.
Power tools are dangerous in the hands of untrained users. - Maintain power tools. Check for misalignment or binding of moving parts, breakage of parts and any other condition that may affect the power tool’s operation. If damaged, have the power tool repaired before use. Many accidents are caused by poorly maintained power tools.
- Use the power tool, accessories and tool bits etc. in accordance with these instructions, taking into account the working conditions and the work to be performed. Use of the power tool for operations different from those intended could result in a hazardous situation.
- Cool the sprayer 5 minutes at least every time the paint is refilled if a long time of continuous spraying is required. Long time spraying is easy to generate high temperatures.
- Sound pressure level: 90.0 dB (A )
- Sound power level: 103.0 dB ( A )
- Hand-arm vibration: no load: 7.05 m/s2, load: 7.00 m/s2
Service
- Have your power tool serviced by a qualified repair person using only identical replacement parts. This will ensure that the safety of the power tool is maintained.
CAUTION
- HAZARD: Solvent and paint fumes can explode or ignite, causing property damage and severe injury, avoid allow ignition sources such as static electricity sparks, open flames.
- HAZARD: Paints, solvents, insecticides, and other materials may be harmful if inhaled, causing severe nausea, fainting, or poisoning.
- HAZARD: Do not hold cord at plug connections to support cord.
Failure to observe may result in any electrical shock.
TREATMENT: See a physician immediately.
OUTFIT COMPONENTS AND USES
- Container, Suction tube & Filter For small jobs requiring only small quantity.

- Flex body It can be bent at any angle, make it easier to paint horizontal surfaces, including the underside of decks, ceilings and fence boards. (For protecting inner copper tube, do not bend Flex body over 90o).

- 150 cm (5 feet) Suction tube For a larger painting job, paint can be fed directly from a large can by using a suction tube, to secure the tube on can with retainer clamp as provided. Hang paint can on a ring with a wire hook if a ladder is used.

- Viscosity test cup This device enables you to test your paint for proper thickness before painting.

- Spray tip 0.8 mm spray tip: for spraying heavy latex and the other thick materials. 0.6 mm spray tip: for spraying oil-based paint.

- Replacement atomizer valves (two) Atomizer valves do wear with usage, this is apparent when spray pattern changes and atomization is incomplete. Now it’s time to change the atomizer valve.

- Tube Clamp It can fix the 150 cm (5’ feet ) PVC tube on a 4 liters (1 gallon) or a 20 liters (5 gallons) paint tank for making the PVC tube not lost.

OPERATING INSTRUCTION
PRACTICE BEFORE PAINTING -Test your sprayer on cardboard or scrap wood to get the feel of your spray gun if this is your first time in airless spraying. 30 cm (12 inches) is about the best distance for spraying.
- Be sure the suction tube is tightly inserted into the forth port of the pump housing. Check to make sure the atomizer valve is in place and the spray tip is screwed tightly.
- Flow rate can be adjusted by using the control knob. Turn the knob counterclockwise to increase flow rate; clockwise to reduce it. Before spraying, set the control knob at about halfway (or half pressure), then adjust it up or down to get the best pattern.

When happen water column
Water-based paint: Please put a special lubricant additive in the paint or mix with better smooth paint. Oil-based paint: Please re-put thinner in paint.
SPRAY TIP SELECTION
- For most exterior and interior paints such as enamels and other thinner materials, it is adequate to use the 0.8 mm spray tip which comes attached with the unit.
- For thicker and heavy latex paints, please use the 0.8 mm spray tip for painting.
- When you begin spraying, if you find the spray pattern small and spatter, the paint is obviously too thick for the spray tip. If adjusting the control knob doesn’t solve the problem, try a larger tip. Otherwise, thin the paint.
- On the contrary, if you start spraying with a thin material, and application volume seems to heavy or atomization is poor, resulting in spatters pattern, try a smaller tip or set the control knob for maximum pressure. (Turn completely clockwise.)
PAINT PREPARATION
Most latex paints should be thinned with water for spraying. The viscosity test cup that comes with the unit is the only tool you will need to obtain a precision paint thinning.
- Fill the viscosity test cup by dipping it into the paint, then time how long it takes for all the paint in the cup to empty out through the opening in the bottom.
The longer it takes, the higher the viscosity. Generally, latex paint should be thinned until they empty the viscosity cup in 35-45 seconds. Other materials should work adequately if the viscosity is anywhere between 20- 40 seconds. The following chart is for your reference.
THE IDEAL CONTRACTION FOR VARIOUS PAINTS:- Auto vehicle spray painting 15-25 (sec)
- Red lead paint 15-30 (sec)
- Kinkle paint 15-25 (sec)
- Rough coating 15-30 (sec)
- Glaze paint 20-30 (sec)
- Interior coating paint for auto 15-25 (sec)
- Coating for auto 15-25 (sec)
- Latex paint 35-45 (sec)
- Enamel paint 15-25 (sec)
- Oil-based paint 15-25 (sec)

- The sprayer is not suitable for high viscosity paint and sanded paint as paint with high acrylic, as it’s easy caused the piston to seize. By the way thin the paint or change the other paints more better.
HOW TO OPERATE YOUR SPRAY GUN PROPERLY?
- Always hold spray gun upright and spray parallel to the painting surface.

- Move it with a smooth swing of the entire arm to maintain even spacing. To maintain a steady spray, do not move spray gun by flexing your wrist.

- To obtain proper coating, do not move the spray gun either too fast or too slow. Moving it rapidly produces 3. To obtain proper coating, do not move spray gun either too fast or too slow. Moving it rapidly produces a thin coat, and too slowly results in a thick coat.
- Move the spray gun in sweeps across the surface, left to right and return, top to bottom and up again. Best result can be achieved by starting your sweep outside the painting area.
- For large surfaces, try utilizing spraying with the ‘CROSS-HATCH’ pattern, by moving the spray gun in sweeps across, from top to bottom, left to right.

- To avoid runs on vertical surfaces, try to cover the working area with a fine mist from a greater distance, try not to apply too much paint on a single pass. As you are finishing up, work just a little closer.
- If working on horizontal surfaces, direct the spray jet at an angle of about 45o & spray away from you.

- If the paint dry, start the second coating to work a little closer distance to finish.
- If you stop painting for a while, be sure to re-prime the sprayer by testing on scrap paper.
- The flexible body for spraying horizontal surfaces. Hard-to-reach places such as the underside of the deck, fence boards and ceilings are good examples.

HOW TO DISASSEMBLE THE CYLINDER
- Push-button on two sides.
- Pull cylinder out.

HOW TO ASSEMBLE THE CYLINDER
Follow groove and push cylinder till locked with a click.
CLEAN-UP PROCEDURE
It is essential that your sprayer must be thoroughly cleaned after each usage.
- After finishing painting, empty out the remaining paints or liquid from the container. Put proper thinner (i.e. warm soapy water for latex; paint thinner for oil-based paint, etc,) into the paint container, then trigger the sprayer for 1- 2 minutes to remove the paint.
- Disassemble the cylinder housing, nozzle, Atomizer, piston, suction tube and oil container, then clean them up thoroughly.
- Assemble the cylinder housing, nozzle, atomizer And piston agin. Turn the sprayer upside down as shown on the right drawing, then put small amount of light oil such as MORRIS EVO OIL SPRAY etc. into the suction hole (the front hole ) and trigger sprayer briefly.
- Always clean and lubricate the piston and cylinder after spraying your sprayer with water or paint for avoiding rust.
- Clean the unit not enough and do not lubricate it with lubricating oil which will cause the cylinder rusted to seize, failure to follow the above steps will void your guarantee.

CAUTION
ALWAYS unplug the cord when disassembling the sprayer.
MAINTENANCE AND REPAIRING:
Please remember to check the wear parts such as spray tip, atomizer valves, piston, piston spring etc. after spraying 20-40 liters (5-10 gallons) of paints. Special attention should be paid if large quantity of latex paint has been sprayed, its abrasive nature will cause parts to wear many times faster than non-abrasive paints. WEAR PARTS MUST BE REPLACED IF THE FOLLOWING
PROBLEMS OCCUR:
- Spray tip: When you notice the paint is not atomizing as well and perhaps start splitting after 20-40 liters (5-10 gallons) or more.
- Piston and piston spring: Check them periodically and replace if needed.
- Atomizer valve: Examine the size of the three holes on the valve head and the surface smoothness of the front bumper. Badly worn-out valve will show sign of scratches and hole enlargement.
NOTE
To assure trouble-free service from your sprayer. please always remember the following key points:
- Old paint should be strained before using.
- Be sure the suction tube is tightly inserted in the intake port.
- Thin paint to proper viscosity.
- Use the right spray tip, often determined by the thickness of paint.
- Check for spray tip and atomizer valve wear.
- When using the flexible extension and/or five feet tube, thin paint a little extra.
- For latex with acrylic content over 20%, use a lubricant additive.
- Always clean and oil the cylinder thoroughly after using.
- Improper and insufficient cleaning will cause piston seizure. When only a low humming sound is heard, immediately stop pressing the trigger of your sprayer, as this will burn out the motor.
- Remember, you must properly maintain your sprayer to ensure its longevity. You must clean up after using, or else your sprayer will not function next time. The warranty does not cover cleaning a sprayer that has not been properly cleaned by the owner.
HOW TO USE THE 150 CM (5 FEET) SUCTION TUBE:
For larger painting jobs, using the 150 cm (5 feet) suction tube enable you to draw paint directly out of a gallon can be instead of using the paint container, thus saving considerable time and it makes painting a much easier job, since you are operating the sprayer without a loaded paint container.
- 150 cm suction tube
- Tube clamp
- Suction tube
HOW TO USE THE FLEX BODY:
The flexible extension can be bent at any angle to make painting on floors or ceilings easier. Since the sprayer must not be tilted upward which may cause back leak, therefore, it is essential to use the flexible extension for painting ceiling.
Procedure for replacement of flexible ceiling/floor extension:
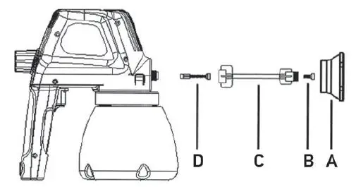
- Release spray tip by turning it counterclockwise.
- Keep atomizer valve (D) on its original place.
- Lock flex body (C) by turning it counterclockwise on the cylinder.
- Put atomizer valve head (B) on front of flex body (C) and fix on spray tip (A).
- Replace all worn parts with new parts and re-assemble unit by reversing steps A through D.

- A: Spray tip
- B: Atomizer valve head C: Flex body
- D: Atomizer valve
TROUBLESHOOTING:
| PROBLEM | CAUSE | SOLUTION |
| Poor fogging (spattering and dripping) | Spraying too near from surface. • Paint too thick. • Flow rate too big. • Worn spray tip. | Work it at a further distance, about 30cm from surface. • Thin paint. • Turn clockwise. • Replace spray tip. |
| Motor over heat. | Operating sprayer for a prolong period. • Abnormal power. | Let sprayer cool after every few minutes. • Use power regulator. |
|
Humming motor but doesn’t spray. | Control knob needs adjusting. • Piston seized after spraying acrylic paint. • No clean and lubricate after using will cause piston blocked. | Adjust knob. • Remove piston assembly and thoroughly clean all parts, use lubricant additive for acrylic paint. • Clean cylinder and piston for moving them. |
|
Motor operates Properly but doesn’t Spray. | Paint too thick. • Spray tip plugged. • Atomizer valve missing. • Atomizer valve worn out or plugged. • Control knob needs adjusting. • Suction filter clogged. • Input hole of cylinder blocked. | Thin paint. • Clean spray tip thoroughly. • Install atomizer valve. • Clean or replace atomizer valve. • Adjust. • Clean or replace the filter. • Clean input hole. |
| Motor won’t run. | No power at wall plug. • Defective motor. | Use another wall plug. If the problem is at the breaker, call your electrician. |
| Paint leaks into rear of the pump housing. | Operating sprayer with an upward tilt. • Piston or cylinder wall scored. | Keep sprayer upright. • Replace piston or cylinder pump. |
| Paint dripping. | Nozzle loose. • Operating at more than 40o angle. | Tighten nozzle • Keep sprayer upright. |
Parts and Accessories
- Spray tip
- Atomizer Valve
- Cylinder Housing
- Piston Spring
- Piston
- Stator Housing
- Stator
- Coil
- Armature
- Plate Spring
- Volume Control Nut
- Volume Control Knob
- Gun Housing
- Suction Tube
- Switch
- Stator Bumper
- 5’ Suction Tube
- Container
- Viscosity Test Cup
- Retainer Clamp
- Cord
- 30. Flex Body
WEEE and RoHs
Do not dispose of electrical appliances as unsorted municipal waste, use separate collection facilities. Contact your local government for information regarding the collection systems available. If electrical appliances are disposed of in landfills or dumps, hazardous substances can leak into the groundwater and get into the food chain, damaging your health and well-being. When replacing old appliances with new ones, the retailer is legally obligated to take back your old appliance for disposal at least for free of charge.
EC Declaration of Conformity
We declare that the unit spray gun EZ-1100 conforms to
2006/42/EC, 2006/95/EC, 2004/108/EC, EN 50144-1:1998+A1:2002+A2:2003, EN 50144-2-7:2000










THE IDEAL CONTRACTION FOR VARIOUS PAINTS:


























