PHILIPS BHH822 Stylecare Multi Styler

Important
WARNING
Do not use this appliance near water. When the appliance is used in a bathroom, unplug it after use since the proximity of water presents a risk, even when the appliance is switched off. Do not use this appliance near bathtubs, showers, basins or other vessels containing water. Always unplug the appliance after use.If the main cord is damaged, you must have it replaced by Philips, a service centre authorised by Philips or similarly qualified persons in order to avoid a hazard. This appliance can be used by children aged from 8 years and above and persons with reduced physical, sensory or mental capabilities or lack of experience and knowledge if they have been given supervision or instruction concerning use of the appliance in a safe way and understand the hazards involved. Children shall not play with the appliance. Cleaning and user maintenance shall not be made by children without supervision. Do not pull on the power cord after using. Always unplug the appliance by holding the plug. Before you connect the appliance, ensure that the voltage indicated on the appliance corresponds to the local power voltage. Do not use the appliance for any other purpose than described in this manual.Do not use the appliance on artificial hair. When the appliance is connected to the power, never leave it unattended. Never use any accessories or parts from other manufacturers or that Philips does not specifically recommend. If you use such accessories or parts, your guarantee becomes invalid. Do not wind the main cord round the appliance. Wait until the appliance has cooled down before you store it. Pay full attention when using the appliance since it could be extremely hot. Only hold the handle as other parts are hot and avoid contact with the skin. Always place the appliance with the stand on a heat-resistant, stable flat surface. The hot heating plates/barrel should never touch the surface or other flammable material.Avoid the main cord from coming into contact with the hot parts of the appliance.Keep the appliance away from flammable objects and material when it is switched on. Never cover the appliance with anything (e.g. a towel or clothing) when it is hot. Only use the appliance on dry hair. Do not operate the appliance with wet hands. Keep the heating plates/barrel clean and free of dust and styling products such as mousse, spray and gel. Never use the appliance in combination with styling products. The heating plates/barrel has coating. This coating might slowly wear away over time. However, this does not affect the performance of the appliance. If the appliance is used on color-treated hair, the heating plates/barrel may be stained. Always return the appliance to a service centre authorized by Philips for examination or repair. Repair by unqualified people could result in an extremely hazardous situation for the user. Do not insert metal objects into openings to avoid electric shock.
Electromagnetic fields (EMF)
This Philips appliance complies with all applicable standards and regulations regarding exposure to electromagnetic fields.
Environment
This symbol means that this product shall not be disposed of with normal household waste (2012/19/EU). Follow your country’s rules for the separate collection of electrical and electronic products. Correct disposal helps prevent negative consequences for the environment and human health.
Introduction

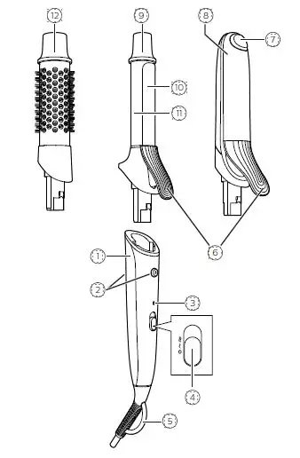
Get ready to update, perfect and try out a range of glamorous hair styles. From every day to perfectly polished, straight, volumized, curly, up dos, down dos and more, easily create that more than 15 styles with the new Philips Multistyler. This versatile look maker includes 3 attachments: straightener, curling tong and hot bristle styling brush, together with a wide range of accessories such as hair clips, pins, bands and loops. With easy OneClick release for all attachments, professional temperature settings of up to 210 degrees, fast 45 seconds heat-up time, ready-to-use indicator with auto shut-off and premium ceramic coatings, there has never been more styling prowess in one box. There is even a style guide with step-by-step instructions so you can try and perfect a wide range of looks. Ready, set, style. It is time to experiment and impress with your styles using your new Philips Multistyler and style guide.
Style your hair

Note
Do not change the styling attachments when it is hot. Only change the styling attachments when the appliance is cooled down. Select a suitable attachment and temperature settings for the hairstyle you want
Before you style your hair
Ensure the lever ( f ) of attachment is pointing at themunlock button ( b ) on the top of the handle. Slide a suitable attachment onto the handle a ) . To remove the attachment, press both the unlock buttons ( b ) on both sides of the handle. Remove the attachment only when both the appliance and attachment have cooled down. Connect the plug to a power supply socket. Slide to for low temperature setting and for high temperature setting The power on indicator c lights up and starts blinking. The appliance will be ready for use after the blinking stops. Place the appliance on a heat-resistant surface when heating up. Comb your hair and divide your hair into small sections that are not wider than 2cm.
Create tight/loose curls

Select curling attachment ( i ) for styling natural and modern curls. Press the lever (f) to open the clip (j) and place a section of hair between the clip and barrel k. Release the lever and slide the barrel to the hair tip. Hold the end of the cool tip i and the handle a . Then wind the section of hair round the barrel from end to root in a continuous movement. Hold the barrel in the position for max.15 seconds. Then unwind the section of hair until you can open the clip again with the lever. To style the rest of your hair, repeat steps 2 to 5.
Create straight sleek style
Select the straightening attachment (h). Press the lever ( f ) to open the attachment and place a section of hair between the straightening plates. Slide down slowly the length of the hair in a single motion max. 5 seconds from root to end, without stopping to prevent overheating and avoiding kinks. To style the rest of your hair, repeat steps 2-3.
Create luxurious volume
Note
Avoid touching the barrel where there are no bristles as it is hot. Select hot brush attachment (l). Brush hair through with the heated brush to create movement in the hair.
To create flicks, take a section of hair and wrap the hair ends around the barrel. Hold the brush in that position for 10-15 seconds, and then remove it from your hair. Repeat steps 2 to 3 to the rest of your hair as desired.The appliance is equipped with an auto-shut off function. After 60 minutes, the appliance switches offm automatically.
After use
Switch off the appliance and unplug it. Place it on a heat-resistant surface until it cools down. Remove hairs and dust from the appliance and attachments. Clean the appliance and attachments by damp cloth. Keep the appliance in a safe and dry place, free of dust. You can also hang it with the hanging loop(e).
Tips and Tricks
For optimal results, only use the appliance on completely dry hair. Use a smaller amount of hair for longer hair lengths and/ or to get more defined curls. For better straightening results, gently press together the ends of the straightening plates ( g ) during straightening. Apply hair spray to your hair after styling for long-lasting results.
Guarantee and service
If you need information e.g. about replacement of an attachment or if you have a problem, please visit the Philips website at www.philips.com/support or contact the Philips
Customer Care Centre in your country (you find its phone number in the worldwide guarantee leaflet). If there is no Consumer Care Centre in your country, go to your local
Philips dealer.



















