makita DSD180 Cordless Drywall Saw Instruction Manual
SPECIFICATIONS
| Model: | DSD180 | ||
| Length of stroke | 6 mm | ||
| Strokes per minute | 0 – 6,000 min-1 | ||
| Maximum cutting capacities | Drywall | 30 mm | |
| Wood | 15 mm | ||
| Rated voltage | D.C. 18 V | ||
| Standard battery cartridges | BL1815N, BL1820, BL1820B | BL1830, BL1830B, BL1840, | |
| BL1840B, BL1850, BL1850B, | |||
| BL1860B | |||
| Overall length | 258 mm | 263 mm | |
| Net weight | 1.7 kg | 1.9 kg | |
- Due to our continuing program of research and development, the specifications herein are subject to change without notice.
- Specifications and battery cartridge may differ from country to country.
- Weight, with battery cartridge, according to EPTA-Procedure 01/2003
Intended use
This tool is intended for plunge-cutting of a drywall.
Wood can also be cut by installing a suitable saw blade.
Noise
The typical A-weighted noise level determined according to EN60745-2-11:
Sound pressure level (LpA) : 79 dB(A)
Uncertainty (K) : 3 dB(A)
The noise level under working may exceed 80 dB (A).
WARNING: Wear ear protection.
Vibration
The vibration total value (tri-axial vector sum) determined according to EN60745-2 11:
Work mode: cutting drywall (thickness 30 mm)
Vibration emission (ah) : 2.5 m/s2
Uncertainty (K) : 1.5 m/s2
Work mode: cutting chip board (thickness 15 mm)
Vibration emission (ah) : 5.0 m/s2
Uncertainty (K) : 1.5 m/s2
NOTE: The declared vibration emission value has been measured in accordance with the standard test method and may be used for comparing one tool with another.
NOTE: The declared vibration emission value may also be used in a preliminary assessment of exposure.
WARNING: The vibration emission during actual use of the power tool can differ from the declared emission value depending on the ways in which the tool is used.
WARNING: Be sure to identify safety measures to protect the operator that are based on an estimation of exposure in the actual conditions of use (taking account of all parts of the operating cycle such as the times when the tool is switched off and when it is running idle in addition to the trigger time).
EC Declaration of Conformity
For European countries only
The EU declaration of conformity is included as Annex A to this instruction manual.
SAFETY WARNINGS
General power tool safety warnings
WARNING: Read all safety warnings and all instructions. Failure to follow the warnings and instructions may result in electric shock, fire and/or serious injury.
Save all warnings and instructions for future reference.
The term “power tool” in the warnings refers to your mains-operated (corded) power tool or battery-operated (cordless) power tool.
Cordless drywall saw safety warnings
- Hold power tool by insulated gripping surfaces, when performing an operation where the cutting accessory may contact hidden wiring. Cutting accessory contacting a “live” wire may make exposed metal parts of the power tool “live” and could give the operator an electric shock.
- Use clamps or another practical way to secure and support the workpiece to a stable platform. Holding the work by hand or against your body leaves it unstable and may lead to loss of control.
- Always use safety glasses or goggles.
Ordinary eye or sun glasses are NOT safety glasses. - Avoid cutting nails. Inspect workpiece for any nails and remove them before operation.
- Do not cut oversize workpiece.
- Check for the proper clearance beyond the workpiece before cutting so that the blade will not strike the floor, workbench, etc.
- Hold the tool firmly.
- Make sure the blade is not contacting the workpiece before the switch is turned on.
- Keep hands away from moving parts.
- Do not leave the tool running. Operate the tool only when hand-held.
- Always switch off and wait for the blade to come to a complete stop before removing the blade from the workpiece.
- Do not touch the blade or the workpiece immediately after operation; they may be extremely hot and could burn your skin.
- Do not operate the tool at no-load unnecessarily.
- Some material contains chemicals which may be toxic. Take caution to prevent dust inhalation and skin contact. Follow material supplier safety data.
- Always use the correct dust mask/respirator for the material and application you are working with.
SAVE THESE INSTRUCTIONS.
WARNING: DO NOT let comfort or familiarity with product (gained from repeated use) replace strict adherence to safety rules for the subject product. MISUSE or failure to follow the safety rules stated in this instruction manual may cause serious personal injury.
Important safety instructions for battery cartridge
- Before using battery cartridge, read all instructions and cautionary markings on
- battery charger,
- battery, and
- product using battery.
- Do not disassemble battery cartridge.
- If operating time has become excessively shorter, stop operating immediately. It may result in a risk of overheating, possible burns and even an explosion.
- If electrolyte gets into your eyes, rinse them out with clear water and seek medical attention right away. It may result in loss of your eyesight.
- Do not short the battery cartridge:
- Do not touch the terminals with any conductive material.
- Avoid storing battery cartridge in a container with other metal objects such as nails, coins, etc.
- Do not expose battery cartridge to water or rain.
A battery short can cause a large current flow, overheating, possible burns and even a breakdown.
- Do not store the tool and battery cartridge in locations where the temperature may reach or exceed 50 °C (122 °F).
- Do not incinerate the battery cartridge even if it is severely damaged or is completely worn out. The battery cartridge can explode in a fire.
- Be careful not to drop or strike battery.
- Do not use a damaged battery.
- The contained lithium-ion batteries are subject to the Dangerous Goods Legislation requirements.
For commercial transports e.g. by third parties, forwarding agents, special requirement on packaging and labeling must be observed.
For preparation of the item being shipped, consulting an expert for hazardous material is required.
Please also observe possibly more detailed national regulations.
Tape or mask off open contacts and pack up the battery in such a manner that it cannot move around in the packaging. - Follow your local regulations relating to disposal of battery.
SAVE THESE INSTRUCTIONS.
CAUTION: Only use genuine Makita batteries.
Use of non-genuine Makita batteries, or batteries that have been altered, may result in the battery burst in causing fires, personal injury and damage. It will also void the Makita warranty for the Makita tool and charger.
Tips for maintaining maximum battery life
- Charge the battery cartridge before completely discharged. Always stop tool operation and charge the battery cartridge when you notice less tool power.
- Never recharge a fully charged battery cartridge. Overcharging shortens the battery service life.
- Charge the battery cartridge with room temperature at 10 °C – 40 °C (50 °F – 104 °F). Let a hot battery cartridge cool down before charging it.
- Charge the battery cartridge if you do not use it for a long period (more than six months).
FUNCTIONAL DESCRIPTION
CAUTION: Always be sure that the tool is switched off and the battery cartridge is removed before adjusting or checking function on the tool.
Installing or removing battery cartridge
CAUTION: Always switch off the tool before installing or removing of the battery cartridge.
CAUTION: Hold the tool and the battery cartridge firmly when installing or removing batter cartridge. Failure to hold the tool and the battery cartridge firmly may cause them to slip off your hands and result in damage to the tool and battery cartridge and a personal injury.
Fig.1:
- Red indicator
- Button
- Battery cartridge
To remove the battery cartridge, slide it from the tool while sliding the button on the front of the cartridge.
To install the battery cartridge, align the tongue on the battery cartridge with the groove in the housing and slip it into place. Insert it all the way until it locks in place with a little click. If you can see the red indicator on the upper side of the button, it is not locked completely.
CAUTION: Always install the battery cartridge fully until the red indicator cannot be seen. If not it may accidentally fall out of the tool, causing injury to you or someone around you.
CAUTION: Do not install the battery cartridge forcibly. If the cartridge does not slide in easily, it is not being inserted correctly.
Battery protection system
Lithium-ion battery with star marking
Fig.2:
- Star marking
Lithium-ion batteries with a star marking are equipped with a protection system. This system automatically cuts off power to the tool to extend battery life.
The tool will automatically stop during operation if the tool and/or battery are placed under one of the following conditions:
Overloaded:
The tool is operated in a manner that causes it to draw an abnormally high current.
In this situation, turn the tool off and stop the application that caused the tool to become overloaded. Then turn the tool on to restart.
If the tool does not start, the battery is overheated. In this situation, let the battery cool before turning the tool on again.
Low battery voltage:
The remaining battery capacity is too low and the tool will not operate. In this situation, remove and recharge the battery.
Indicating the remaining battery capacity
Fig.3:
- Battery indicator
- Check button
Press the check button to indicate the remaining battery capacities. The battery indicators correspond to each battery.
Indicating the remaining battery capacity
Only for battery cartridges with “B” at the end of the model number
Fig.4:
- Indicator lamps
- Check button
Press the check button on the battery cartridge to indicate the remaining battery capacity. The indicator lamps light up for few seconds.
NOTE: Depending on the conditions of use and the ambient temperature, the indication may differ slightly from the actual capacity.
Switch action
Fig.5:
- Switch trigger
CAUTION: Before installing the battery cartridge into the tool, always check to see that the switch trigger actuates properly and returns to the “OFF” position when released.
To start the tool, simply pull the switch trigger. Tool speed is increased by increasing pressure on the switch trigger. Release the switch trigger to stop.
The trigger can be locked off to prevent it from being pulled accidentally. To lock the trigger off, press the button from the side with
marking. To unlock, press the button from the side with
marking.
Fig.6:
- Lock-off button
CAUTION: Always lock the tool off when carrying or suspending the operation.
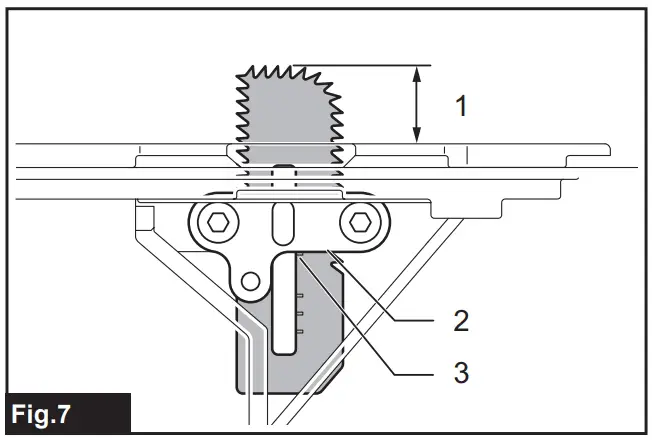
Adjusting depth of cut
The cutting depth corresponds with the scale on the blade. Loosen the screw on the blade holder until the blade can move freely. Align the scale on the blade with the bottom line of the blade holder. Then tighten the screws.
Fig.7:
- Cutting depth
- Bottom line of the blade holder
- Scale on the blade
The maximum cutting depth depends on the type of the saw blade. Always use the saw blade designed for cutting the working material.
| Type of saw blade | Max. cutting depth |
| For drywall | 30 mm |
| For wood | 15 mm |
LED light
CAUTION: Do not look in the light or see the source of light directly.
Pull the switch trigger to light up the lamp. The lamp keeps on lighting while the switch trigger is being pulled.
The lamp goes out approximately 10 seconds after releasing the trigger.
Fig.8:
- Lamp
NOTE: Use a dry cloth to wipe the dirt off the lens of the lamp. Be careful not to scratch the lens of lamp, or it may lower the illumination.
ASSEMBLY
CAUTION: Always be sure that the tool is switched off and the battery cartridge is removed before carrying out any work on the tool.
Removing the dust collector
CAUTION: Never operate the tool without the dust collector. Dust may come into your eyes and cause eye injury.
To remove the dust collector, hold the tool handle and pull back the tabs on the tool. Be sure to pull the tabs on the both sides at the same time.
Fig.9:
- Tab
When installing, align the dust collector’s edge with the groove on the base.
Fig.10:
- Groove
Replacing drywall saw blade
CAUTION: Always clean out all chips or foreign matter adhering to the blade and/or blade holder. Failure to do so may cause insufficient tightening of the blade, resulting in a serious personal injury.
CAUTION: Do not touch the blade or the workpiece immediately after operation. They may be extremely hot and could burn your skin.
CAUTION: Make sure that the blade is properly secured. Insufficient tightening of the blade may cause blade breakage or serious personal injury.
- Remove the dust collector.
- Remove the bolts on the blade holder with the hex wrench.
Fig.11:
- Bolts
- Blade holder
- Blade
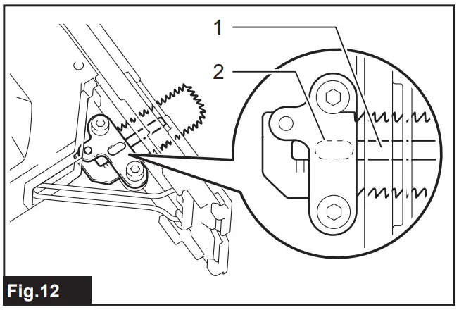
- Set a new blade as shown in the figure. Make sure that the curved edge of the blade points forward. Fit the protrusion of the blade holder into the slot on the blade.
Fig.12:
- Slot
- Protruded portion (opposite side)
- Adjust the cutting depth then tighten the bolts.
- Attach the dust collector.
Installing snap-off blade
CAUTION: Always use the snap-off blade with designated length, width, and thickness. An inappropriately installed snap-off blade can be broken. A broken blade can fly off and cause a personal injury.
A snap-off blade can also be used with this tool. Use 3 segments of 18 mm wide snap-off blade with 0.5 mm thickness. The maximum cutting depth is 12.5 mm when cutting a drywall.
Fig.13:
- Three segments of snap-off blade
- Loosen the bolts on the blade holder. Turn the blade holder so that its protrusion faces outward.
- Insert the snap-off blade so that the sharp edge faces forward.
- Secure the snap-off blade at the position where the end of the first segment comes to the edge of blade holder as illustrated.
Fig.14:
- Blade holder
- End of the first segment of snap-off blade
- Allowable cutting length
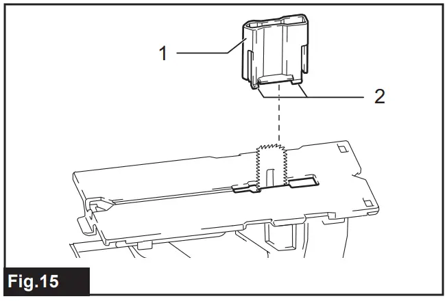
Attaching blade cap
CAUTION: Always attach the blade cap when tool is not used. A bare blade may cause personal injury or damage to the blade itself.
Pass the blade cap through the blade until the hook catches the base cover. Note the direction of the blade cap when attaching; the wider hook comes front side.
When removing the blade cap, lift it while pinching the both sides.
Fig.15:
- Blade cap
- Hook
During operation, insert the blade cap to the hook on the base as illustrated until it clicks.
Fig.16:
- Blade cap
- Hook
Hex wrench storage
When not in use, store the hex wrench as shown in the figure to keep it from being lost.
Fig.17:
- Hex wrench
Connecting a vacuum cleaner
Connect a Makita vacuum cleaner for clean operation.
Remove the rubber cap on the dust collector and connect the vacuum cleaner’s hose to the nozzle of the dust collector.
Fig.18:
- Dust collector
- Rubber cap
- Vacuum cleaner hose
OPERATION
CAUTION: Hold the tool firmly.
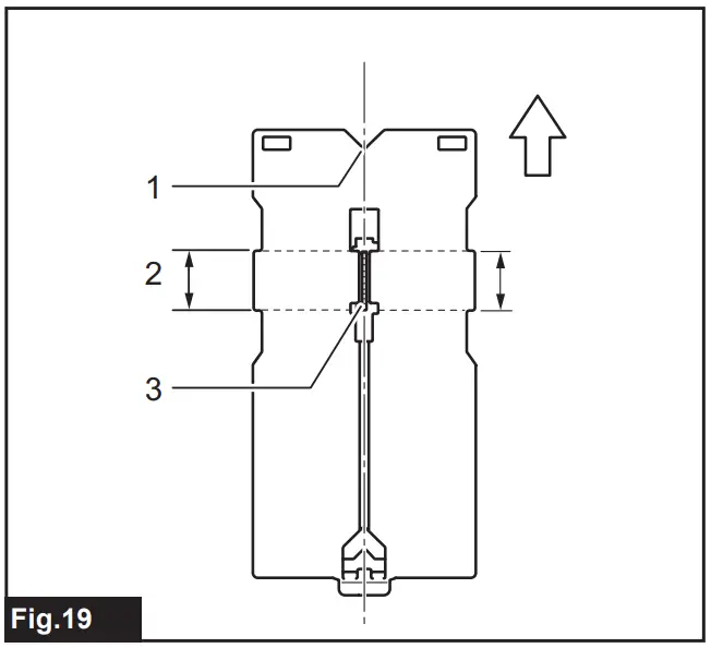
CAUTION: Always hold the base flush with the workpiece during cutting. Never perform a curved cut. Failure to do so may cause blade breakage, resulting in a serious injury.
The V-notch and convexed portion in the base cover of the tool indicate the position of the blade. Always check the blade position when cutting.
The base cover of the tool
Fig.19:
- V-notch
- Convexed portion
- Blade
NOTE: For accurate cutting, it is recommended to draw cutting lines on the workpiece beforehand.
- Place the tip of the blade on the start line. Tilt the tool so that the front edge of the base touches the workpiece. Align the bottom of the V-notch in the front edge with the cutting line.
Fig.20
- Slowly pull the trigger without the blade making any contact with the workpiece. When the blade attains full speed, push the tool toward the workpiece. As the blade pierces the workpiece, make the whole surface of the base cover contact with the workpiece.
Fig.21
- Move the tool straight forward until the cutting finishes.
MAINTENANCE
CAUTION: Always be sure that the tool is switched off and the battery cartridge is removed before attempting to perform inspection or maintenance.
NOTICE: Never use gasoline, benzine, thinner, alcohol or the like. Discoloration, deformation or cracks may result.
Cleaning the base cover
Clean off the cutting chips and dust accumlated on the base cover. Lift the base cover while pulling the hook on the back end to remove. Follow the removal procedure in reverse when installing.
Fig.22:
- Base cover
- Hook
CAUTION: Pay attention to the tip of the blade and cutting chips when removing the base cover.
NOTICE: Perform the cleaning periodically. Dirty base cover may damage or deface the working surface.
To maintain product SAFETY and RELIABILITY, repairs, any other maintenance or adjustment should be performed by Makita Authorized or Factory Service Centers, always using Makita replacement parts.
OPTIONAL ACCESSORIES
CAUTION: These accessories or attachments are recommended for use with your Makita tool specified in this manual. The use of any other accessories or attachments might present a risk of injury to persons. Only use accessory or attachment for its stated purpose.
If you need any assistance for more details regarding these accessories, ask your local Makita Service Center.
- Drywall saw blade
- Wood saw blade
- Dust box
- Dust collector
- Hex wrench
- Hook
- Makita genuine battery and charger
NOTE: Some items in the list may be included in the tool package as standard accessories. They may differ from country to country.
Makita Europe N.V.
Jan-Baptist Vinkstraat 2,
3070 Kortenberg, Belgium
Makita Corporation
3-11-8, Sumiyoshi-cho, Anjo, Aichi 446-8502 Japan

























