
User manual for Separera Mini
with urine drainage
This urine-separating toilet is constructed from eco-friendly material and is designed to cope with high demand over many years. What does separating waste mean? Well, the toilet is designed so solid waste is separated from the liquid (urine). This means that Separera has one container for urine and another for solid waste. Both must be dealt with in accordance with local regulations.
Contacting Environmental Health
Contact the Environmental Health office regarding local health regulations. This applies when installing any type of toilet
The Separera box contains
Toilet with fan
- Lid
- Urine hose (1.5 m)
- Screw with washer for wall bracket according to to option A Ventilation Pipe 50 cm for wall
- Insect netting
- 2 Composting containers
- Latrine Bags (10pcs)
The installation kit contains:
Ventilation pipes (4×1.1 m ventilation pipe with 55 mm outer diameter), exterior pipe (1 x 1.1m with 110 mm outer diameter), insulation (2 x 1 m), reducing coupling, roof flashing, and insect netting. The connection kit used in the installation option B can be ordered from your dealer Wall connection kit:
Wall bracket
- Pipe bend 90 degrees
- Screw /washers
Further accessories
Pipe Bends 30° and 45°, Insulation, Ventilation Pipe, Ejector Tank, Latrine Bags.
Separate Mini in cross-section
- Fan motor
- Plug / Cord
- Inside container with a bag
- Urine hose
- Toilet seat, soft close
- Upper section
- Lower section
- Compost cover
- Urine connection bowl/hose

INSTALLATION
Tools:
Drill, Holesaw for 55 och 35mm, Silicone
Air supply
10 mm gap under the door or a vent. Air will be evacuated through the toilet, so cross-draughts must be avoided.

Assembly
Ventilation can be either through an external wall or up through the roof.
Option A – ventilation through an external wall
The toilet is supplied with an installation kit according to Option A.
- Lift the upper section (6) of the toilet, and remove the inner container (3).
- Measure and mark for the ventilation pipe through the wall, hole center 359 mm from the floor.

- Make a hole in the external wall for the ventilation pipe (55 mm).
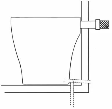
- Set the lower section in position and mark for fastening in the wall and urine hose (35mm).

- Make a hole for the urine hose, either through the wall or floor.
Through wall: up from floor c/c 25mm
Through floor: from wall c/c 40mm.
When the hose is installed through the wall make sure that you have a slope of at least 2 degrees (2 cm per meter) to ensure enough drain out from the toilet. - Fit the ventilation pipe and seal in and outside using silicone. Fit the insect netting.
- Pass the urine hose through the floor/wall. Set the low section in position and connect to the ventilation pipe

- Fasten the toilet securely to the wall using screws and washers.
- Place a bag in the composting chamber and fold it over the edge. Put the frame in a position to lock the bag. Place the container inside the lower section and make sure that the bag does not cover the fan.
- Put the upper section back in place.
Option B – ventilation through the roof
Prior to installation the Installation Kit and Connection Kit are needed. These can be purchased from the place where the toilet was bought.
- Lift the upper section (5) of the toilet, remove the urine container (8) and waste container (3)
- Fasten the wall bracket temporarily on the lower section (7), and put the lower section in position against the wall. Mark for the bracket.

- Remove the wall bracket from the toilet. Install the bracket on the wall.
- Put the 90 degrees bend on the outlet. Set the lower section in position and fasten it to the wall bracket.
- Make a hole in the roof for the ventilation pipe, 55 mm.
- Install the ventilation pipes’ unsleeved end into the 90 degrees coupling.

- Insulate all piping that passes through cold spaces (e.g. in the attic and on above the roof). This is to prevent condensation.
- Cut the exterior pipe to fit the angle of the roof.
- Position the roof flashing. For the tin roofs, its better to have a sheet metal worker make the flashing.
- Put the outer pipe with the roof flashing over the insulated ventilation pipe.

- Adjust the roof flashing to the external roof and seal firmly with asphalt sealant between the flashing and the roof.
- Once all the piping is insulated and covered, fit the reducing coupling on top, and then fit the insect netting.
- Place a bag in the composting chamber and fold it over the edge. Put the frame in a position to lock the bag. bag. Place the container inside the lower section and make sure that the bag does not cover the fan.
- Put back the upper section
- Plug in

MAINTENANCE
Urine drainage
Urine can be drained away in a number of different ways. Check what is required by your local authority; there are variations depending on ground conditions and the water table. There must be a drop in the hose coming out and away from the toilet to avoid salt deposits; for longer distances, its better to connect it to a 32mm PVC pipe.
GREY WATER:
Connect the hose to an existing drainage system such as a percolation basin or similar. It is important that pipes have enough drop for urine not to remain standing in the hose.

INFILTRATION:
Consist of a pit or a ditch outside the house. Put stones/macadam around the end of the hose and then fill with sand.

EJEKTORTANK:
If you want to use urine as liquid fertilizer, there is a special tank available as an accessory; it can be ordered from your dealer. Urine contains large quantities of nutrient salts, making it a useful fertilizer for lawns. With the ejector tank you get the correct dilution for watering; connecting to a 1/2” garden hose.

Solid waste
With normal use, a family of four produces around 7 liters of solid waste per week.
The emptying frequency depends on usage. For example, after 2-3 weeks of use by 4 people, it will be time to switch composting containers.
Lift the inner container out and take it out, add a little topsoil, and put the lid on. Place the container in a shady place for composting. It takes 6 to 9 months of composting before the contents can be used as a fertilizer. Put a latrine bag in the other inner container.
Electrical connection
Separate is approved for installation in wet rooms. For permanent installation, a qualified electrician must install a multi-pole switch. If the mains supply cable is damaged it must be replaced by the manufacturer or another qualified person.
General advice
- Flush the urine bowl with water weekly to reduce salt deposits.
- If insects get into the toilet, you can sprinkle BioLet Insektsstopp on the compost.
- If you do experience a bad smell in the room, check that the pipe connections are properly sealed and there is an air supply.
- To clean the toilet, use only mild detergent. Never use abrasive cleaning agents.
- If the toilet is installed as option B and you leave the house for more than 2 days, switch off the fan and put the cover in the toilet opening. If there is a good natural draft no smell will occur.
- Empty the solid waste regularly, the bags start to decompose after 2-3 weeks.

Swedish Ecology AB Klippan 1J S-414 51 Göteborg Sweden
Tel: +46 31 42 29 30 Fax: +46 31 42 49 08 [email protected]
www.mulltoa.com





















