BACHMANN ENGINEERING 8541957613 BrewMometer Adjustable Brewing Thermometer

Congratulations on your purchase and thank you for selecting the BrewMometer™ brewing thermometer from Blichmann Engineering™. We are confident that it will provide you with years of service and many gallons of outstanding beer. This manual will familiarize you with the assembly, calibration, and installation procedures, and use of the BrewMometer™ brewing thermometer.
- PLEASE READ THOROUGHLY PRIOR TO USE FOR IMPORTANT SAFETY INFORMATION
Caution
Sections labeled “Caution” can lead to equipment damage or unsatisfactory performance of the equipment. Please read these sections thoroughly. If you have any questions, contact your retailer or Blichmann Engineering™ (www.BlichmannEngineering.com) before use. Brewing has inherent hazards and requires care, focus, and a mindset of safety and precaution. Hot liquids, steam, flame, electricity, heavy lifting, slippery surfaces, cuts, and harsh chemicals to name a few.
- Always thoroughly read and understand all product manuals before using the product.
- Always keep children and pets safely away from the brewing area.
- Always wear protective clothing, safety glasses/goggles, shoes, and burn/chemical-resistant gloves.
- Always use GFCI-protected circuits for ALL electrical equipment.
- Always keep flame away from flammable surfaces.
- Always brew on hard surfaces such as concrete.
- Always disconnect electrical equipment from power and propane tanks after each use.
- Never lift hot and/or heavy liquids.
- Never use drugs or alcohol while brewing.
- Never leave the brewing area unattended.
Assembly & Installation
Caution: Prior to installing the BrewMometer™, select a position on the kettle that is high enough to be out of the direct heat from the burner, but low enough to measure approximately in the middle of the liquid for better temperature accuracy.
Caution: As with any bimetal thermometer, do not install the BrewMometer™ in a location on the kettle where it will be subjected to excessive heat. Always keep the flame low enough that excessive heat does not roll over the corners of the kettle. Excessive heat will damage the hermetically sealed case causing the inside of the BrewMometer™ to fog. This failure is not covered under warranty. If you cannot comfortably hold your hand on the case of the thermometer during operation it is too hot (about 140°F max). A minimum distance of 6” from the bottom of the kettle is recommended but does not guarantee it will be below 140°F. If the surface is still too hot, installing a heat shield (not provided) under the thermometer is recommended. Lastly, avoid the direct spray of water on the thermometer and do not immerse it in water for cooling or cleaning.
Weldless BrewMometer™
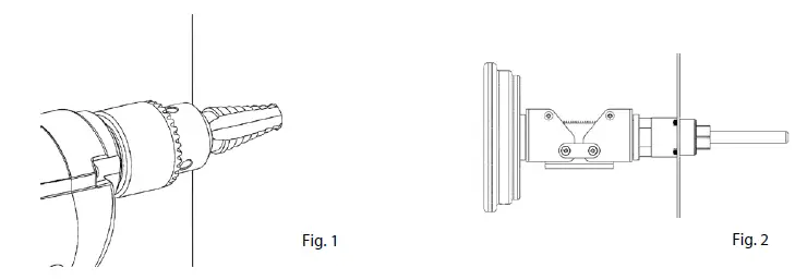
The weldless BrewMometer™ can be installed in kettles with a wall thickness up to ¼” thick. Determine the desired location for the BrewMometer™ and mark the center point with a permanent marker and center punch. Drill a 3/16” pilot hole, then enlarge it to ½” using a “step drill” as shown in Fig. 1. Step drills are available through many hardware or home improvement stores. After the hole is drilled, ensure both sides of the hole are free from burrs. The step drill can be used on the back side of the hole to remove burrs and sharp edges.
Caution: Use wrenches on BOTH sides of the kettle – do not tighten by holding the dial-face of the BrewMometer™ or you will damage the thermometer. Use care not to hit the small calibration screw on the back side of the thermometer. Install the O-ring over the ½”-20 UNF threaded portion of the BrewMometer™ and into the O-ring groove. Place the BrewMometer™ through the hole in the kettle from the outside and install the rubber washer and tighten the ½”-20 sanitary nut finger tight. Using two wrenches (one wrench on the inside of the kettle and one on the outside), tighten the ½”-20 sanitary nut snugly (See Fig. 2). Pipe tape is NOT required on the weldless BrewMometer™ models.

Adjusting the BrewMometer™ Dial-face (adjustable models only)
The adjustable dial-face BrewMometer™ (shown in Fig. 3) can be adjusted to virtually any viewing angle. To change the viewing angle, loosen the long screws and nuts and rotate the pivoting mechanism to the desired position (shown in Fig. 4). Then move the dial-face to the desired viewing angle (shown in Fig. 5). If the pivoting mechanism is too stiff to easily move by hand, loosen the screws on the pivoting mechanism slightly to allow for the proper motion (shown in Fig. 4). Forcibly moving the mechanism may twist the bellows which is not covered under warranty. The temperature reading may shift when adjusting the viewing angle, but this is a temporary phenomenon and will equalize quickly.
Calibration
Impact and vibration during shipping can sometimes result in the thermometer losing calibration (will not read accurately). Two methods can be used to check the calibration of the thermometer. The easiest, and usually most accurate method, is to calibrate the thermometer with another known, highly accurate thermometer. Most digital thermometers utilize thermocouples and have a tolerance of about +/- 3oF. In practice, digital thermometers are usually accurate to within +/-1oF. Glass laboratory thermometers are ideal if available. Place both thermometers in hot tap water, swirling constantly and allow sufficient time for both thermometers to read a steady temperature. If the BrewMometer™ does not read the same temperature as the calibration thermometer, use a small wrench to turn the calibration screw until they read the same. An alternate method is to calibrate in boiling water. To check the calibration, fill the kettle with de-ionized or distilled water and bring it to a full rolling boil. Do not use tap water. Tap water contains minerals that change the boiling point of water. If the BrewMometer™ does not read exactly 212oF (at sea level), use a small wrench to turn the calibration screw until the thermometer reads exactly 212oF.
Note: In higher altitudes, water boils at a lower temperature. Subtract 0.9oF for every 500ft you are above sea level. For example, if you are at 1500ft above sea level, water will boil at 212°F – 0.9 X 3 = 209.3oF (3=1500/500). Adjust the dial-face of the BrewMometer™ to the calculated boiling point. Although this is not an exact formula, it provides an acceptable level of precision.
Operation
The BrewMometer™ utilizes a unique dial-face that guides the homebrewer through the different stages of the brewing process. This helps to eliminate errors and to develop consistency in your brews. Since many of the procedures and properties of beer are subjective, the selected temperatures should be used as guidelines, not hard limits.
Reading the BrewMometer™ Dial-face The BrewMometer™ dial-face (shown in Fig. 6) contains all of the commonly used brewing processes and associated temperature ranges. Each process contains an “ideal” temperature, indicated by an arrow, and an acceptable range, indicated by a box. The brewing process is indicated inside the box.
Blichmann Engineering Product Warranty
A. Limited Warranty
- 1. Blichmann Engineering warrants to the original purchaser that this product will be free from manufacturing defects in material and workmanship for a period of one (1) year from the date of purchase by the customer. Proof of purchase is required. Blichmann Engineering’s obligation to repair or replace defective materials or workmanship is the sole obligation of Blichmann Engineering under this limited warranty.
- This product is for home use only. The limited warranty covers only those defects that arise as a result of the normal use of the product and does not cover any other problems, including, but not limited to, those that arise as a result of:
a. Improper maintenance or modification;
b. Damage due to incorrect voltage or improper wiring by the customer;
c. Operation outside of the product’s specifications;
d. Carelessness or neglect to operate the product in accordance with instructions
provided with the product;
e. Damaging the tamper label on the product;
f. Damage by over-tightening the fasteners;
g. Failure to follow cleaning and/or maintenance procedures; or
h. Exceeding published operational temperatures. - Blichmann Engineering reserves the right to request delivery of the defective component for inspection before processing the warranty claim. If Blichmann Engineering receives, during the applicable warranty period, a notice of a defect in any component that is covered by the warranty, Blichmann Engineering shall either repair or replace the defective component with a new or rebuilt component at Blichmann Engineering’s option.
- Blichmann Engineering must be notified within seven (7) days of the delivery date of any shipping damage. The customer is responsible for shipping damage outside of this time period. Approval for return must be provided by Blichmann Engineering prior to any return. The customer is responsible for keeping all original packaging material for warranty returns. Blichmann Engineering is not responsible for damage from improperly packaged warranty returns, and these repair costs will be the sole responsibility of the customer. Shipping costs for warranty returns are covered only for the contiguous United States.
- Blichmann Engineering’s limited warranty is valid in any country where the product is distributed.
B. Limitations of Warranty
- Any implied warranty that is found to arise by way of state or federal law, including any implied warranty of merchantability or any implied warranty of fitness, is limited in duration to the terms of this limited warranty and is limited in the scope of coverage to this warranty. Blichmann Engineering disclaims any express or implied warranty, including any implied warranty of fitness for a particular purpose or merchantability, on items excluded from coverage as set forth in this limited warranty.
- Blichmann Engineering makes no warranty of any nature beyond that contained in this limited warranty. No one has the authority to enlarge, amend, or modify this limited warranty, and Blichmann Engineering does not authorize anyone to create any other obligation for it regarding this product.
- Blichmann Engineering is not responsible for any representation, promise, or warranty made by any independent dealer or another person beyond what is expressly stated in this limited warranty. Any selling or servicing dealer is not Blichmann Engineering’s agent, but an independent entity.
C. Limitations of Liability
- The remedies provided in this warranty are the customer’s sole and exclusive remedies.
- Except for the obligations specifically set forth in this warranty, in no event shall Blichmann Engineering be liable for direct, indirect, special, incidental, or consequential damages, whether based on contract, tort, or any other legal theory and whether or not advised of the possibility of such damages.
- This warranty does not cover, and in no event shall Blichmann Engineering be liable for, travel, lodging, or any other expense incurred due to manufacturing defects in material and workmanship, or any other reason.
- Any performance of repairs after the warranty coverage period has expired or performance of repairs regarding anything excluded from coverage after this limited warranty
- Shall be considered good-will repairs and they will not alter the terms of this limited warranty, or extend any warranty coverage period.
- The venue for any legal proceedings relating to or arising out of this warranty shall be in Tippecanoe County, Indiana, United States, in which courts will have exclusive jurisdiction.
D. Local Law
- This warranty gives the customer specific legal rights. The customer may also have other rights that vary from state to state in the United States or other countries.
- To the extent that this warranty is inconsistent with local law, it shall be deemed modified, only to the extent necessary to be consistent with such local law.
- This product uses food-grade materials anywhere the product touches the beverage.
- Warning: This product contains or may contain chemical(s) known to the State of California to cause cancer, birth defects, or other reproductive harm.
- Adjustable BrewMometer™ Owner’s Manual – V3
- Blichmann Engineering, LLC 2021
- For replacement parts visit blichmannengineering.com

















