metabo CS 24-355 S Metal Electric Cut off Saw

Conformity Declaration
attached to your power tool, it does not assure safe operation.
We declare under our sole responsibility: These metal chop saws, identified by type and serial number *1), comply with all relevant requirements of the directives *2) and standards *3). Technical file at *4) – see page 3.
For UK only: We as manufacturer and authorized person to compile the technical file, see *4) on page 3,
hereby declare under sole responsibility that these metal chop saws, identified by type and serial number *1) on page 3, fulfill all relevant provisions of following UK Regulations S.I. 2016/1091, S.I. 2008/ 1597, S.I. 2012/3032 and Designated Standards EN 62841-1:2015, EN 62841-3-10:2015 + AC:2016 + A11:2017 , EN IEC 63000:2018.
Specified Use
When fitted with original Metabo cutting discs, the metal cutter is appropriate for dry cutting of steel, non-ferrous metals, iron and cast moulds, and similar materials.
Do not use diamond cut-off wheels.
The user bears sole responsibility for damage caused by improper use.
Generally accepted accident prevention regulations and the enclosed safety information must be observed.
General Safety Instructions
For your own protection and for the protection of your electrical tool, pay attention to all parts of the text that are marked with this symbol!
WARNING – Reading the operating instructions will reduce the risk of injury.
WARNING – Read all safety warnings, instructions, illustrations and specifications provided with this power tool.
Failure to follow all instructions listed below may result in electric shock, fire and/or serious injury. Save all warnings and instructions for future reference. Pass on your electrical tool only together with these documents.
Special Safety Instructions
Cut-off machine safety warnings
a) Position yourself and bystanders away from the plane of the rotating wheel. The guard helps to protect the operator from broken wheel fragments and accidental contact with wheel.
b) Use only bonded reinforced cut-off wheels for your power tool. Just because an accessory can be attached to your power tool, it does not assure safe operation.
c) The rated speed of the accessory must be at least equal to the maximum speed marked on the power tool. Accessories running faster than their rated speed can break and fly apart.
d) Wheels must be used only for recommended applications. For example: do not grind with the side of a cut-off wheel. Abrasive cut-off wheels are intended for peripheral grinding, side forces applied to these wheels may cause them to shatter.
e) Always use undamaged wheel flanges that are of correct diameter for your selected wheel. Proper wheel flanges support the wheel thus reducing the possibility of wheel breakage.
f) The outside diameter and the thickness of your accessory must be within the capacity rating of your power tool. Incorrectly sized accessories cannot be adequately guarded or controlled.
g) The arbour size of wheels and flanges must properly fit the spindle of the power tool. Wheels and flanges with arbour holes that do not match the mounting hardware of the power tool will run out of balance, vibrate excessively and may cause loss of control.
h) Do not use damaged wheels. Before each use, inspect the wheels for chips and cracks. If the power tool or wheel is dropped, inspect for damage or install an undamaged wheel. After inspecting and installing the wheel, position yourself and bystanders away from the plane of the rotating wheel and run the power tool at maximum no load speed for one minute. Damaged wheels will normally break apart during this test time.
i) Wear personal protective equipment. Depending on application, use face shield, safety goggles or safety glasses. As appropriate, wear dust mask, hearing protectors, gloves and shop apron capable of stopping small abrasive or workpiece fragments. The eye protection must be capable of stopping flying debris generated by various operations. The dust mask or respirator must be capable of filtrating particles generated by your operation. Prolonged exposure to high intensity noise may cause hearing loss.
j) Keep bystanders a safe distance away from work area. Anyone entering the work area must wear personal protective equipment. Fragments of workpiece or of a broken wheel may fly away and cause injury beyond immediate area of operation.
k) Position the cord clear of the spinning accessory. If you lose control, the cord may be cut or snagged and your hand or arm may be pulled into the spinning wheel.
a) Position yourself and bystanders away from the plane of the rotating wheel. The guard helps to protect the operator from broken wheel fragments and accidental contact with wheel.
l) Regularly clean the power tool’s air vents. The motor’s fan can draw the dust inside the housing and excessive accumulation of powdered metal may cause electrical hazards.
m) Do not operate the power tool near flammable your power tool. Just because an accessory can be materials. Do not operate the power tool while placed on a combustible surface such as wood. Sparks could ignite these materials.
n) Do not use accessories that require liquid coolants. Using water or other liquid coolants may result in electrocution or shock.
Kickback is a sudden reaction to a pinched or snagged rotating wheel. Pinching or snagging causes rapid stalling of the rotating wheel which in turn causes the uncontrolled cutting unit to be forced upwards toward the operator.
For example, if an abrasive wheel is snagged or pinched by the workpiece, the edge of the wheel that is entering into the pinch point can dig into the surface of the material causing the wheel to climb out or kick out. Abrasive wheels may also break under these conditions.
Kickback is the result of power tool misuse and/or incorrect operating procedures or conditions and can be avoided by taking proper precautions as given below.
a) Maintain a firm grip on the power tool and position your body and arm to allow you to resist kickback forces. The operator can control upward kickback forces, if proper precautions are taken.
b) Do not position your body in line with the rotating wheel. If kickback occurs, it will propel the cutting unit upwards toward the operator.
c) Do not attach a saw chain, woodcarving blade, segmented diamond wheel with a peripheral gap greater than 10 mm or toothed saw blade. Such blades create frequent kickback and loss of control.
d) Do not ,,jam” the wheel or apply excessive pressure. Do not attempt to make an excessive depth of cut. Overstressing the wheel increases the loading and susceptibility to twisting or binding of the wheel in the cut and the possibility of kickback or wheel breakage.
e) When the wheel is binding or when interrupting a cut for any reason, switch off the power tool and hold the cutting unit motionless until the wheel comes to a complete stop. Never attempt to remove the wheel from the cut while the wheel is in motion otherwise kickback may occur. Investigate and take corrective action to eliminate the cause of wheel binding.
f) Do not restart the cutting operation in the workpiece. Let the wheel reach full speed and carefully re-enter the cut. The wheel may bind, walk up or kickback if the power tool is restarted in the workpiece.
g) Support any oversized workpiece to minimize the risk of wheel pinching and kickback. Large workpieces tend to sag under their own weight. Supports must be placed under the workpiece near the line of cut and near the edge of the workpiece on both sides of the wheel.
Additional Safety Instructions
Always wear eye protection and hearing protection. Put on other protective gear if necessary, such as dust masks, gloves, helmet and apron. When judging if face or dust masks are necessary, take into consideration whether the workpiece to be machined or its coating are potentially harmful to health. Put on protective clothing in case of doubt.
Wear ear protectors when working for long periods of time. High noise levels over a prolonged period of time may affect your hearing.
Do not work with magnesium.
Do not use power tools in a damp or wet environment.
Do not use the machine in environments where there is the risk of explosion, in which sparks can cause fire, explosions or the like.
Do not use saw blades.
Always ensure the metal cut-off machine is stable on a flat surface; when using the cut-off machine on a workbench, always attach the metal cut-off machine with appropriately long, sturdy screws.
Danger of crushing! Do not reach into the area of the joint when lowering the lever!
Never operate the machine without a protective hood (7).
Always tilt protective hood (7) all the way down.
Be sure that the movable protective hood (7) is not jammed. It must be able to move.
Check the power tool for potential damage. -Before continuing to use the power tool, protective mechanisms or lightly damaged parts must be carefully inspected for correct operation. -Damaged protective mechanisms and parts must be repaired or replaced by an approved specialist workshop, as long as nothing else is specified in the instruction manual.
Machine malfunctions, incl. protective hoods or cutting discs, must immediately be reported when they occur. The malfunction must be properly remedied.
Regularly check the connection lead of the power tool and have it repaired by an approved expert, should it be damaged.
Regularly check extension cables and replace them, should they be damaged.
Use only three-conductor cables.
Keep the handles dry, clean and free of oil and grease.
Do not use a low-power machine for demanding jobs.
Adhere to the instructions for lubrication and tool replacement.
Store the machine in a dry, high or secured place, outside the reach of children.
When working in dusty conditions, ensure that ventilation openings are not blocked. Should it be necessary to remove the dust, first disconnect the power tool from the mains.
In case of extreme dust deposits, the machine cleaning cycles must be shortened and/or a residual-current-operated circuit-breaker (RCCB) must be connected upstream.
When the machine is shut down via the RCCB circuit-breaker, it must be checked and cleaned.
Use only cutting discs recommended by the manufacturer that comply with the specifications of the respective safety standards for grinding materials, e.g. EN 12413.
Caution! The use of other tools and accessories can result in a risk of injury.
Cutting discs must be stored in accordance with manufacturer specifications and handled carefully.
Wear protective gloves when handling cut-off wheels. Store the cutting disc in a dry place. With cutting discs for dry cuts, the strength may be reduced by moisture or water. Handle the cutting disc with caution. Protect the cutting disc from jolts or impacts. Always use equipment that fulfils the following minimum requirements:
Only cutting discs with resinoid bonding and fibre reinforcement can be used. The maximum rotations per minute (rpm) of the cutting disc must not be lower than the machine idling speed.
Adhere to the maximum cutting disc diameter (see technical data).
Use no cutting discs that are thicker than 3 mm (3/ 32″).
The bore of the cutting disc must fit the toolholder without any clearance. Do not use adapters or reducers.
Observe the specifications of the tool or accessory manufacturer!
Adhere to the cutting disc instruction manual.
Use elastic cushioning layers if they have been supplied with the sanding media and if required. Be particularly cautious with the parts that are connected to the cutting disc. Take care not to damage the spindle, flange or screw. Damage to these parts can cause the cutting disc to break. It must be ensured that mounted cutting discs are installed in accordance with the manufacturer specifications.
Before use, make sure the cutting discs are correctly fixed and fastened, and operate the machine in idling mode for 30 s. Immediately switch off the machine if strong vibrations or other malfunctions occur. Should they occur, inspect the machine to find the cause.
When the cutting disc is used up to the wear limit (1/ 3 of the outer diameter), replace the cutting disc. Pull the plug out of the plug socket before any adjustments or servicing are performed.
The cutting disc continues to rotate after the machine has been switched off .
Engage the spindle locking knob (8) only when the motor is inoperative.
Do not touch the rotating cutting disc.
Danger of injury!
When the cutting disc vibrates too strongly in idling mode, it can lead to breakage. In case of irregularities during use, immediately switch off the machine and have it repaired.
Secure the workpiece. Use the vice to secure the workpiece.
Do not try to saw extremely small workpieces.
During machining, the workpiece must be firmly supported and secured against moving.
Long workpieces must be sufficiently supported.
Begin cutting only after having reached the max.
rpm.
Use only the cutting edge of the cutting disc to cut.
Do not use the lateral surface of the cutting disc for grinding jobs.
When working on workpieces with curves or inclined surfaces, make sure that no lateral pressure is applied to the cutting disc.
Ensure that sparks produced during work do not constitute a risk to the user or other personnel and are not able to ignite inflammable substances.
Endangered areas must be protected with flameresistant covers.
Make sure that fire-risk areas are always provided with suitable fire extinguishers.
The workpiece can be very hot after having been machined. Caution, risk of burning! Reducing dust exposure:
WARNING – Some dust created by power sanding, sawing, grinding, drilling, and other construction activities contains chemicals known to cause cancer, birth defects or other reproductive harm. Some examples of these chemicals are:
– Lead from lead-based paints,
– Crystalline silica from bricks and cement and other masonry products, and
– Arsenic and chromium from chemically treated lumber.
Your risk from these exposures varies, depending on how often you do this type of work. To reduce your exposure to these chemicals: work in a well ventilated area, and work with approved safety equipment, such as those dust masks that are specially designed to filter out microscopic particles.
This also applies to dust from other materials such as some timber types (like oak or beech dust), metals, asbestos. Other known diseases are e.g. allergic reactions, respiratory diseases. Do not let dust enter the body.
Observe the relevant guidelines and national regulations for your material, staff, application and place of application (e.g. occupational health and safety regulations, disposal).
Collect the particles generated at the source, avoid deposits in the surrounding area.
Use suitable accessories for special work. In this way, fewer particles enter the environment in an uncontrolled manner.
Use a suitable extraction unit.
Reduce dust exposure with the following measures:
- do not direct the escaping particles and the exhaust air stream at yourself or nearby persons or on dust deposits,
- use an extraction unit and/or air purifiers,
- ensure good ventilation of the workplace and keep clean using a vacuum cleaner. Sweeping or blowing stirs up dust.
- Vacuum or wash the protective clothing. Do not blow, beat or brush
Overview



See page 2.
1 Wrench depot
2 Wrench for replacing cutting discs and adjustment work
3 Cutting depth limiter
4 Transportation lock
5 Lever
6 Cutting disc *
7 Safety cover
8 Spindle locking knob
9 Handle
10 Trigger switch
11 Safety switch (for protection against accidental start)
12 Spark deflector plate
13 Vice
14 Lever for quick adjustment
15 Crank
16 Stopper
17 Screws (for setting cutting angle and maximum clamping width)
* not in scope of delivery





![]() | CS 22-355 *1) Serial Number: 01786.. | CS 24-355 S *1) Serial Number: 01787.. | |||
| U | V | 220-240 | 110 | 220-240 | |
| I | A | 10 | 15 | 10,5 | |
| P1 | W | 2300 | 1600 | 2400 | |
| P2 | W | 1560 | 1050 | 1650 | |
| n0 | min-1 (rpm) | 4000 | 4000 | 4000 | |
| Dmax x B x d | mm (in) | 355 x 3 x 25,4 (14 x 3/32 x 1) | |||
| Hmax 90° | mm (in) | ![]() | 132 (5 3/16) | ||
![]() | 120 x 120 (4 23/32 x 4 23/32) | ||||
![]() | 208 x 100 (8 3/16 x 3 15/16) | ||||
![]() | 150 x 150 (5 29/32 x 5 29/32) | ||||
| Hmax45° | mm (in) | ![]() | 128 (5 1/32) | ||
![]() | 115 x 115 (4 17/32 x 4 17/32) | ||||
![]() | 115 x 107 (4 17/32 x 4 7/32) | ||||
![]() | 115 x 115 (4 17/32 x 4 17/32) | ||||
| Lmax | mm (in) | 248 (9 3/4 ) | |||
| m | kg (lbs) | 16,8 (37) | |||
| ahw/Khw | m/s2 | 3,4 / 1,5 | |||
| LpA/KpA | dB(A) | 91 / 3 | |||
| LWA/KWA | dB(A) | 104 / 3 | |||
*2) 2014/30/EU, 2006/42/EC, 2011/65/EU
*3) EN 62841-1:2015, EN 62841-3-10:2015 + AC:2016 + A11:2017 , EN IEC 63000:2018 2021-12-10, Bernd Fleischmann
Direktor Produktentstehung & Qualität (Vice President Product Engineering & Quality)
*4) Metabowerke GmbH – Metabo-Allee 1 – 72622 Nuertingen, Germany
Commissioning
Before plugging in, check to see that the rated mains voltage and mains frequency, as specified on the rating label, match your power supply.
Always install an RCD with a max. trip current of 30 mA upstream.
The machine can be supplied only with the mains voltage and frequency specified on the type plate. When, for example, a 120 V machine is supplied with 230 V of mains voltage, the cutting discs and the machine can be damaged by surpassing the max. rpm.
All screws must be screwed tight. Screw the screw tight with the provided wrench to fasten the cutting disc and check if all other screws are also screwed tight Spark deflector plate (12):
Before commissioning the spark deflector plate, tilt it to the mark.
Use
Setting cutting depth
For presetting the desired cutting depth, e.g. for several cuts with the same cutting depth.
Setting the cutting depth limiter (3):
– Free the lock nut.
– Set the hexagon screw for the desired cutting depth.
– Retighten the lock nut
Vice
Clamp the workpiece tightly into the vice (13)
Setting the cutting angle:
– Loosen the two screws (17) on the stopper (16).
– Set the desired cutting angle.
– Retighten the two screws (17).
Configuring the maximum clamping width: The stopper can be set for 3 positions.
– Additionally, remove the two screws (17).
– Shift the stopper (16) to the rear / middle / forward position.
– Fasten the stopper (16) again with the two screws (17).
Clamping the workpiece:
– For quick adjustment, turn the lever (14) forwards and push the crank (15) towards the workpiece.
– Push the lever (14) backwards and tight turn the crank (15) clockwise to clamp the workpiece.
Cutting through a workpiece
Danger of crushing! Do not reach into the area of the joint when lowering the lever!
- Do not begin cutting until the machine has reached its maximum rpm.
- Slowly lower the cutting disc onto the workpiece and conduct the cut with little contact pressure.
- After finishing the job, put the lever into the starting position.
- After a complete cut, switch off the machine, allow the motor to come to a complete standstill and only then prepare the next cutting job. The removal or insertion of workpieces while the cutting disc is rotating can lead to injury.
- Do not work with too much contact pressure, since the cutting disc can otherwise quickly become worn out, or the machine or workpiece can be damaged.
Switching on and off
Switching on: Press and hold safety switch (11), press the trigger (10).
Switching off: release the trigger switch (10).
Transport
For transport, turn the lever (5) all the way down and stop by actuating the transportation lock (4). Note: To lock the lever, it is necessary to turn the cutting depth limiter (3) to a lower position. See section 7.1.
Maintenance
Disconnect the mains plug before starting any conversion or maintenance work!
Engage the spindle locking knob (8) only when the motor is inoperative.

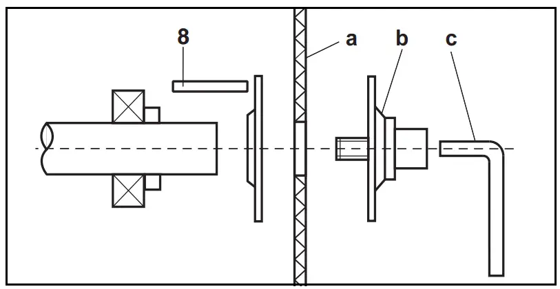
Removing the cutting disc:
– Press lever for spindle locking knob (8) to the right and turn the cutting disc by hand until the spindle locking knob is felt to engage.
– Use the wrench (c) to remove the screw with clamping flange (b) anti-clockwise.
– Remove cutting disc.
Fitting the cutting disc:
– Put on new cutting disc (a).
– Fit the screw with clamping flange (b).
– Use wrench (c) to lock spindle and tighten screw with clamping flange (b).
– Check whether the spindle locking knob (8) is completely disengaged again.
– Clean the dirty machine and remove the grinding dust.
Regular maintenance:
Oil the following parts at least once a month: movable parts of the vice.
Troubleshooting
CS 22-355: Switching on procedures produce brief reductions in voltage. Unfavourable power conditions can be detrimental to other devices. Power impedances smaller than 0.24 ohm should not cause any malfunction.
Accessories
Use only genuine Metabo accessories.
If you need any accessories, check with your dealer.
For dealers to select the correct accessory, they need to know the exact model designation of your power tool. See page 3.
A Cutting discs: Quality class A 36-R “Flexiamant Super” inox.
Special cutting disc of medium hardness for stainless steel.
High cutting performance with long lifetime.
B Cutting discs: Quality class A 30-R / A 36-S “Flexiamant Super” steel.
Good cutting performance in steel, with good lifetime.
Hard version for powerful machines.
A 36-S: with an interior fabric for quick cuts.
C Cutting discs: Quality class A 24-M “Flexiamant Super” steel.
High cutting performance in steel, with good lifetime.
Soft version for less powerful machines. For a complete range of accessories, see www.metabo.com or the main catalogue
Repairs
Repairs to electrical tools must be carried out by qualified electricians ONLY!
A defective mains cable must only be replaced with a special, original mains cable from metabo, which is available only from the Metabo service.
If you have Metabo electrical tools that require repairs, please contact your Metabo service centre. For addresses see www.metabo.com.
You can download spare parts lists from www.metabo.com.
Environmental Protection
The generated grinding dust may contain harmful substances. Dispose appropriately.
Observe national regulations on environmentally compatible disposal and on the recycling of disused machines, packaging and accessories.
Only for EU countries: Never dispose of power tools in your household waste! In accordance with European Directive 2012/ 19/EU on waste electrical and electronic equipment and its implementation in national law, used electrical tools must be collected separately and handed in for environmentally compatible recycling.
Technical Specifications
Explanatory notes on the specifications on page 3.
Changes due to technological progress reserved.
U =Voltage
I = Current
P1 =Rated input
P2 =Power output
n0 =No load speed
Cutting disc dimensions:
Dmax =Maximum outer diameter
B =Wheel thickness
d =Bore
Hmax 90°=max. cutting diameter 90°
Hmax 45°=max. cutting diameter 45°
Lmax =Max. vice opening
m =Weight without mains cable
Measured values determined in conformity with
62841.
Machine in protection class II
~ AC Power
The technical specifications quoted are subject to tolerances (in compliance with the relevant valid standards).
Emission values
These values make it possible to assess the emissions from the power tool and to compare different power tools. Depending on the operating conditions, the condition of the power tool or the accessories, the actual load may be higher or lower. For assessment purposes, please allow for breaks and periods when the load is lower. Based on the adjusted estimates, arrange protective measures for the user e.g. organisational measures.
Vibration total value (vector sum of three directions)
determined in accordance with EN 62841:
ahw = Vibration emission value
Khw = Uncertainty (vibration)
Typical A-effective perceived sound levels:
LpA = Sound-pressure level
LWA = Acoustic power level
KpA, KWA = Uncertainty
During operation the noise level can exceed 80 dB(A).
Wear ear protectors!





























