UFLEX N420881A i10 VSD Smart Inverter Air Conditioning Unit
Product Information
Product Name
Self-contained unit i10 VSD SMART i16 VSD SMART
Manufacturer
UFLEX S.r.l.
Description
The self-contained unit i10 VSD SMART i16 VSD SMART is a boat air conditioning system that utilizes the best technology to provide optimum room temperatures with minimum energy costs. The system comes with a control panel that allows easy management of the appliance.
Conformity
The product conforms to the relevant safety and environmental standards and subsequent amendments.
Markings
The product has appropriate markings to indicate high-risk warnings, low-risk warnings, prohibitions, and important information.
Product Usage Instructions
- Read the manual: The instruction manual forms an integral part of the device and must be carefully preserved and must ALWAYS travel with it. Download a copy from the manufacturer’s website if the manual gets damaged or lost. Read this manual carefully before proceeding with any operation and follow the instructions in the
individual chapters. - Installation: Before installation, carefully read the preliminary warnings in Chapter 3.1. The product has specific minimum distances for installation, as indicated in Chapter 3.11. Follow the instructions in Chapter 3.12 for positioning.
- Control Panel: The product comes with a control panel. Refer to Chapter 4 for instructions on how to use the interface.
- Maintenance: Carefully read the preliminary warnings in chapter 5.1. Follow the instructions in Chapter 5.2 for once-a-year operations, which includes air intake filter cleaning.
- Disclaimer: The manufacturer is not responsible for damages to persons or property caused by failure to follow the instructions in this manual.
The responsibility of the owner of the unit includes: 1. operate the unit according to the manufacturer’s instructions 2. carry out regular maintenance 3. provide easy accessibility for service 4. check and reset circuit breakers and fuses before calling for service 5. keep the unit clean and free of dirt 6. keep the condenser coil free of sediment and scale 7. keep clean the air filter on heat exchanger 8. always keep proof of unit purchase 9. ask the installer of your Uflex air conditioning system or your Uflex dealer for a copy of the Validation Report
Editorial pictograms
The pictograms in the next chapter provide the necessary information for the correct, safe use of the machine in a rapid, unmistakable way.
Related to Security
High-risk warning (bold text)
The operation described above presents a risk of serious physical injury, fatality, major damage to the appliance and/or to the environment if not carried out in compliance with safety regulations.
Low-risk warning (plain text)
The operation described above presents a risk of mi-nor physical injury or minor damage to the appliance and/or to the environment if not carried out in compliance with safety regulations.
Prohibition (plain text)
Refers to prohibited actions.
Important information (bold text)
This indicates important information that must be taken into account during the operations.
In the texts
Purpose of the actions:
- Actions required Expected responses following an action
- Lists
Pictograms on the Product
Symbols are used in some parts of the appliance:
Related to security
Caution: electrical danger
The concerned personnel is informed to the presence of electricity and the risk of suffering an electric shock.
Recipients
User
Non-expert person capable of operating the product in safe conditions for people, for the product itself and the environment, interpreting an elementary diagnostic of faults and abnormal operating conditions, and carrying out simple adjustment, checking and maintenance operations.
Installer
An expert person qualified to position and connect (hydraulically, electrically, etc.) the unit to the plant; this person is responsible for handling and correct installation according to the instructions provided in this manual and the national standards currently in force.
To work on the refrigeration circuit, the installer must comply with the provisions of Regulation 303/2008/EC which defines, in accordance with Directive 842/2006/EC, the requirements for companies and personnel with regard to fixed refrigeration, air conditioning and heat pump equip-ment containing certain fluorinated greenhouse gases (F-gas license).
Technical Service Centre
An expert and qualified person authorized directly by the manufacturer to carry out all routine and supplementary maintenance operations, as well as every adjustment, check, repair and replacement of parts necessary during the life of the unit itself.
Service personnel must comply with the provisions of Regulation 303/2008/EC which defines, in accordance with Di-rective 842/2006/EC, the requirements for companies and personnel with regard to fixed refrigeration, air conditioning and heat pump equipment containing certain fluorinated greenhouse gases (F-gas licence).
Manual organization
The manual is divided into sections each dedicated to one or more target groups.
General information
It addresses all recipients.
It contains general information and important warnings that should be known before installing and using the ap-pliance.
Product presentation
It addresses all recipients.
It contains the information to identify the product, its com-ponents, compatible accessories and destination of use.
Installation
It is addressed exclusively to the installer.
It contains specific warnings and all the information necessary for positioning, mounting and connecting the appliance.
Commissioning, maintenance and troubleshooting They are addressed exclusively to the Technical Assistance Centre.
It contains specific warnings useful information for the most common commissioning and routine maintenance.
Technical information
It addresses all recipients.
It contains detailed technical information about the appli-ance.
General warnings
- Specific warnings are given in each chapter of the document and must be read before starting operations.
- All personnel involved must be aware of the operations and dangers that may arise when beginning all unit installation operations.
- Installation performed outside the warnings provided in this manual and use of the appliance outside the pre-scribed temperature limits will invalidate the warranty.
- The installation and maintenance of climate control equipment could be dangerous because there is pressurized refrigerant gas and live electrical components inside the appliances. The installation, initial start-up and subsequent maintenance phases must be carried out exclusively by authorized and qualified personnel.
- Any contractual or extra-contractual liability for damage caused to persons, animals or property, due to installa-tion, adjustment and maintenance errors or improper use is excluded. All uses not expressly indicated in this manual are not permitted.
- Only qualified installer companies are authorized to install the device. After having completed installation, the installer will issue a declaration of conformity to the plant manager, as required by the applicable standards and the guidelines provided by the contractor’s instruction manual supplied with the device.
- First start-up and repair or maintenance operations must be carried out by the Technical Assistance Centre or by qualified personnel following the provisions of this manual.
- Do not modify or tamper with the appliance as this can lead to dangerous situations.
- Use suitable accident-prevention clothing and equip-ment during installation and/or maintenance operations. The manufacturer is not liable for the non-ob-servance of the current safety and accident prevention regulations.
- In the event of liquid or oil leaks, disconnect the power supply to the unit and the seawater pump and close the water taps. Call the authorized Technical Assistance Centre or professionally qualified personnel as soon as possible and do not work on the appliance yourself.
- In case of replacement of parts, use only original parts.
- During the cold period, if the unit is not in use, empty all hydraulic circuits and the seawater condenser to prevent freezing.
- The manufacturer reserves the right to make changes to its models at any time to improve its product, without prejudice to the essential characteristics described in this manual. The manufacturer is not obliged to add such modifications to machines previously manufactured, already delivered or under construction.
General Warning
- Specific warnings are given in each chapter of the document and must be read before starting operations.
- All personnel involved must be aware of the operations and dangers that may arise when beginning all unit installation operations.
- Installation performed outside the warnings provided in this manual and use of the appliance outside the pre-scribed temperature limits will invalidate the warranty.
- The installation and maintenance of climate control equipment could be dangerous because there is pressurized refrigerant gas and live electrical components inside the appliances. The installation, initial start-up and subsequent maintenance phases must be carried out exclusively by authorized and qualified personnel.
- Any contractual or extra-contractual liability for damage caused to persons, animals or property, due to installa-tion, adjustment and maintenance errors or improper use is excluded. All uses not expressly indicated in this manual are not permitted.
- Only qualified installer companies are authorized to install the device. After having completed installation, the installer will issue a declaration of conformity to the plant manager, as required by the applicable standards and the guidelines provided by the contractor’s instruction manual supplied with the device.
- First start-up and repair or maintenance operations must be carried out by the Technical Assistance Centre or by qualified personnel following the provisions of this manual.
- Do not modify or tamper with the appliance as this can lead to dangerous situations.
- Use suitable accident-prevention clothing and equip-ment during installation and/or maintenance operations. The manufacturer is not liable for the non-ob-servance of the current safety and accident prevention regulations.
- In the event of liquid or oil leaks, disconnect the power supply to the unit and the seawater pump and close the water taps. Call the authorized Technical Assistance Centre or professionally qualified personnel as soon as possible and do not work on the appliance yourself.
- In case of replacement of parts, use only original parts.
- During the cold period, if the unit is not in use, empty all hydraulic circuits and the seawater condenser to prevent freezing.
- The manufacturer reserves the right to make changes to its models at any time to improve its product, without prejudice to the essential characteristics described in this manual. The manufacturer is not obliged to add such modifications to machines previously manufactured, already delivered or under construction.
Basic rules of security
Please keep in mind that the use of products powered by electricity and water call for operators to comply with certain essential safety rules:
- The use of the appliance to children and unassisted disabled persons is prohibited.
- It is forbidden to touch the device with wet or damp body parts.
- It is forbidden to carry out any operation before disconnecting the appliance from the power supply by setting the plant master switch to “off”.
- It is forbidden to modify the safety or adjustment devices or adjust without authorization and indications of the manufacturer.
- It is forbidden to pull, unplug or twist the device’s electronic cables, even if it is disconnected from the mains.
- It is forbidden to introduce objects and substances through the air inlet and outlet grilles.
- It is forbidden to open the access doors of the device’s internal parts without first having set main switch of the system to” off”.
- It is forbidden to dispose of, or leave in the reach of children, the packaging materials which could become a source of danger.
Disposal
The symbol on the product or its packaging indicates that the product must not be treated as normal household waste, but must be taken to the appropriate collection point for the recycling of electrical and electronic equip-ment.
Proper disposal of this product avoids harm to humans and the environment and promotes the reuse of valuable raw materials.
For more detailed information about the recycling of this product, contact your local city office, your household waste disposal service or the shop where you purchased the product.
Illegal disposal of the product by the user involves the ap-plication of the administrative sanctions provided for by the regulations in force.
This provision is only valid in the EU Member States.
List of components
- Sea-side heat exchanger
- Fan
- Inverter-driven rotary compressor
- Electrical panel
- Electronic expansion valve
- 4-way valve
- Air filter
- Room-side heat exchanger
- Condensate collection tray

Compatible accessories
The choice and installation of accessories must be established by the system designer or other qualified professional and must take into account both technical requirements and any local laws in force.
INSTALLATION
Preliminary warnings
This section is dedicated to the Installer. The features of the installer are described in the “Recipients” p. 6 chapter.
The installation must be carried out by the installer. There is a risk of water leakage, electric shock or fire if the installation is not performed correctly.
During the installation, it is necessary to observe the precautions mentioned in this manual, and on the labels placed inside the equipment, as well as to adopt any precaution suggested by common sense and by the Safety Regulations in force in the place of installation.
Be sure to use the supplied or specified installation parts. Use of other parts may cause the unit to come to lose, water leakage, electrical shock, or fire.
Failure to apply the indicated rules may cause malfunctions of the appliances and relieves the manufacturer from any warranty and from any damage caused to per-sons, animals or property.
Reception
Preliminary warnings
Upon receipt of the package check that it is not damaged, otherwise accept the goods with reserve, producing photographic evidence of any damage.
The package must be transported in a horizontal posi-tion; otherwise, notify the carrier immediately.
Package description
The packaging is made of suitable material and carried out by experienced personnel.
The appliance is shipped in standard packaging consisting of a cardboard sleeve and a set of expanded polystyrene protectors.
There is a pallet underneath the packaging of the unit to facilitate transport and moving.
Units are delivered complete and in perfect condition.
Dimensions and weights with packaging
Handling with packaging
Preliminary warnings
- The appliance must be handled only by qualified personnel, adequately equipped and with equipment suitable for the weight and dimensions of the appliance.
- Before moving the unit, check the lifting capacity of the machinery used by following the instructions on the packaging.
- Move the unit to a horizontal position.
- Stay clear of the area below and around it when the load is lifted off the ground.
- If a forklift truck is used, put the base in the appropriate openings.
- Avoid dangerous situations when using a hoist to lift the appliance.
Movement methods
The product can be handled as follows:
using a forklift or a transparent which can bear its weight
Storage
Preliminary warnings
Stored in accordance with the applicable national regulations.
Do not turn the packaging upside down.
Do not stack the appliances.
Only place the appliance in a horizontal position.
Appliance with packaging
Store the package:
- in a dry and clean place
- in a closed environment protected from atmospheric elements
Appliance without packaging
The following procedures are recommended in the case of medium to long-term storage:
- check that no water is present in the hydraulic systems
- do not remove the protection of the heat exchanger
- do not remove plastic protective films
Unpacking
Preliminary warnings
Check that no components were damaged during transport.
Dispose of the packaging components following the ap-plicable waste disposal regulations. Check for disposal arrangements with your municipality.
The packing material (cardboard, staples, plastic bags, etc.) must not be dispersed or abandoned in the surrounding environment and must be kept out of chil-dren reach, as it can be dangerous.
Remove the package
- Strapping

Remove the packing:
- cut the strapping
- remove the packing
- remove the polystyrene elements
Accompanying material
They are included with the appliance, inside the packaging: 4 unit fixing brackets
Check the presence of the individual components.
Handling without packaging
Preliminary warnings
- The appliance must be handled only by qualified personnel, adequately equipped and with equipment suitable for the weight and dimensions of the appliance.
- Move the unit to a horizontal position.
- Stay clear of the area below and around it when the load is lifted off the ground.
Movement methods
- Lifting straps
- Rubber handles

To handle:
- lift the unit using the rubber handles on the lifting straps
- Do not lift the unit by holding sensitive parts such as pipes or air adapters.
- Damage to the circuit piping caused by incorrect han-dling of the unit voids its warranty.
Installation site
The location of the appliance must be determined by the plant engineer or a competent person and must take into account both purely technical requirements and any na-tional/local legislation in force.
The appliance is intended to be installed inside boats.
Preliminary warnings
Avoid installing the unit near:
- obstacles or barriers that cause recirculation of the exhaust air
- narrow places where the sound level of the appliance can be enhanced by reverberations or resonances
- positioning in corners where dust and anything else that may reduce the efficiency of the appliance by obstructing the air passage is usual
- environments with the presence of flammable or ex-plosive gases
- heat sources
Avoid placing the unit within 1 metre of radio and video equipment.
Make sure that:
- the installation site of the unit must be chosen with the utmost care to guarantee adequate protection from shocks and consequent damage
- the supporting surface can bear the weight of the appliance
- the appliance must be installed in a position where it can be easily serviced
- the place where the unit is to be installed is well-ven-tilated
Some parts of the appliance produce heat during op-eration. The room installation must ensure adequate ventilation and proper heat dissipation.
If the appliance is installed incompletely or on an inap-propriate base, it could cause damage to persons or property if it should detach from its base.
Provide the following:
- a drain and a water supply nearby
- a compliant power supply nearby
- fixing elements suitable for the type of support
General installation diagram
- Unit
- Air inlet
- Air delivery
- Sea water inlet
- Sea water discharge
- Condensate drain
- Control Panel
- Pump
- Sea-side filter
- Ball valve
- Distribution channel
- Air distribution plenum
- Grids
- Air-side filter

Installation minimum distances
- Air intake
- Air delivery

The clearance zones are necessary to avoid barriers to airflow and to allow normal cleaning and maintenance.
Make sure that there is sufficient space to allow for routine and supplementary maintenance operations.
Positioning
Preliminary warnings
The unit must be fixed to the supporting surface.
Positioning
- Unit fixing bracket
- Make sure that:
the supporting surface supports the weight of the appliance
- place the unit on a perfectly level surface
- fix the brackets to the supporting surface
Make sure that: - it is levelled
- easy access is allowed to facilitate maintenance
Hydraulic connections
Preliminary warnings
The engineer is responsible for choosing the right wa-ter lines and their size, in accordance with good installation practices and the applicable law.
The hydraulic system is made by the installer and must be carried out with reference to the diagrams in this manual or on the website.
The hydraulic pipes connecting to the appliance must be suitably sized for the actual water flow rate required by the plant during operation. The water flow rate to the heat exchanger must always be constant.
Position and dimensions
- Hydraulic connections 3/4″ (19 mm)

Hydraulic connection diagram
- A seawater circuit must be installed with a slope upwards.
- The unit overboard discharge must be installed as close as possible to the waterline to reduce noise and to be able to check visually the flow/output of the water circuit running.
- The seawater electric pump is needed to circulate the amount of water required in the heat exchanger.
- The pump should be installed in a sound-insulated environment.
- The pump must be mounted so that it is always at least 20 cm below the waterline
- Fix the pump on elastic supports.
Preliminary warnings
- T o allow maintenance or repair operations, each hydraulic connection must be equipped with the respective manual shut-off valves.
- Before connecting the piping, make sure that it do not contain stones, sand, rust or foreign matter that could damage the plant.
- The minimum nominal diameter of the connecting pipes must be 3/4″ (19 mm). Keep in mind that undersized piping determines malfunctions and/or loss of heating and cooling performance.
- The connection piping must be suitably supported so as not to bear on the appliance with its weight.
- Flush the plant thoroughly before connecting the unit. This cleaning process removes any residue, such as welding drops, slag, rust or other fouling from the pipes. These substances may otherwise settle inside and cause the appliance to malfunction.
- It is necessary to install a filtration system at the inlet of the appliance in an area accessible for maintenance, in order to protect the appliance from impurities in the water.
- Operating the unit without the water filter installed and clean is forbidden.
A Water line
B Boat
- Unit
- Seawater pump
- Filter
- Ball valve
- Inlet flow uphill
- Output flow

Condensation drain preparation
This appliance is complete with a tray for collecting the condensation produced during operation, which must be channeled to a suitable place for drainage.
The size and positioning of the drainage tube are shown below.
Preliminary warnings
- The condensate must be discharged in the bilge or in a special tank.
- If the line flows into a container (e.g. a tank), do not close the container hermetically and avoid immersing the draining pipe into the water.
- Since while operating the air conditioner sucks and then creates a slight vacuum in the environment, the drain pipe that goes directly or in the bilge or in a tank, it could suck it up and bring unpleasant smells into the cabin. To avoid this, it is appropriate to make a trap for blocking the air.
- When connecting the condensation drain, be careful not to squeeze the rubber duct.
- The direct discharge at side is not recommended because of sucking bad smells from the outside caused by the exhaust gas of its own or other engines.
- Do not discharge directly to the side.
Positioning

| i10 VSD SMART | i16 VSD SMART | |
| Diameter of fittings | 16 mm | 14 mm |
The unit is equipped with two drainage outlets. Use both outlets for faster drainage.
- Use plastic drainage pipes.
- Avoid pipes made of metallic material.
- Make sure all joints are sealed to prevent leakage of water.
If using a tank for collecting the condensation: - Avoid the hermetic closure of the container.
- Prevent the end of the drainage tube from falling below the water level.
Aeraulic connections
Preliminary warnings
- The engineer is responsible for choosing the right aer-aulic connections and their size, in accordance with good installation practices and the applicable law.
- The aeraulic system is made by the installer and must be carried out with reference to the diagrams in this manual or on the website.
- The air ducts connecting to the appliance must be suit-ably sized for the actual air flow rate required by the plant during operation.
Position and dimensions
- Air intake
- Air delivery
| i10 VSD SMART | i16 VSD SMART | |
| Diameter of fittings | 100 mm | 120 mm |
Air outlet orientation

Connection to the system
Preliminary warnings
- Before connecting the piping, make sure that it do not contain stones, sand, rust or foreign matter that could damage the plant.
- The connection piping must be suitably supported so as not to bear on the appliance with its weight.
- The air ducts must be insulated and well stretched to allow good air flow.
- Avoid partial insulation of the pipes.
- Avoid installing the unit near heat sources.
- The system needs a correct air flow in order to work effi-ciently. It Is therefore important to get the correct distri-bution without bottlenecks , by maintaining the original nozzle diameter and not exceeding the recommended length of pipes.
Connection diagram
- A Corrected curves
- B 90° curves corrected
- C Correct air outlet



Electrical panel
- Fixing bracket
- Electrical panel

The electrical panel is supplied as standard installed on the unit.
In the case of limited installation space, the electrical cabi-net can be detached during installation.
To move the electric panel:
- unscrew the 3 fixing screw
- remove the control panel
- fix the electric panel in another area
Maximum distance of 60 cm in a suitably ventilated space.
Access to the electrical panel
- Electrical panel

Electrical panel aboard the unit
Connection terminal blocks
- Main MCU
- Power module SSPM
- Inductance EMC
- Terminal board

To make the connection:
- insert the cables through the rubber seal
- bring the power cord to the terminal block
- making the connections
- refer to the information in the wiring diagram of the unit you are installing
After the connection: - fix the cables
- close the electrical panel again
Single-phase unit terminal block
- H+ L- Line supply voltage 230V AC / 1 ph / 50-60 Hz
- N1 L1 Power to seawater pump

Control Panel
Mounting
The wall-mounted remote control must be installed:
- on internal walls
- at a height of about 1,5 m from the floor
- away from doors or windows
- away from heat sources (heaters, convectors, stoves, direct sunlight)
The wall-mounted remote control is provided inside the package already assembled.
Notches
Before wall installation:
- Unhook the protruding notches on the back side of the control.
- separate the base from the control
- use the base of the control to trace the fixing point on the wall
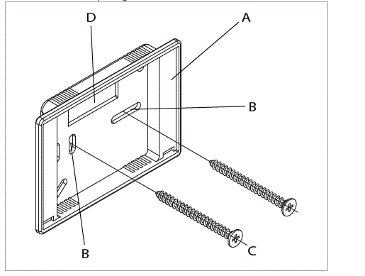
- A Base of the control
- B Holes for the wall mounting
- C Screws
- D Hole for the passage of the electrical connections

For the remote control wall mounting:
- drill holes in the wall
- pull the electric wires through the hole provided
- fix the base of the control to the wall using suitable screw and plugs
- connect the electrics
- close the control Pay attention not to crush the conductors when you close the control.
CONTROL PANEL
Interface
4.1.1 Description
The wall-mounted remote control is an electronic thermo-stat equipped with:
- integrated WiFi module
- internal memory with data saving even in case of shut-down or power outage
The room temperature probe ensures an antifreeze safety even when the control is in stand-by
After 20 seconds after the last action the panel bright-ness is reduced, only the room temperature is seen on the display. The maximum brightness is restored to the pressure of any key.
Display
- Display area



Main functions
Operating mode set-up
to switch the operating mode
- press the
key for about 2 seconds - The symbol
on indicates the Heating function enable - The symbol
on indicate the Cooling function enable- In the heating function, the symbols is alight with a setpoint higher than the room temperature.
- In the cooling function, the symbols is alight with a setpoint lower than the room temperature.
Put in stand-by the control
To put in stand-by the control
- press the key for about 2 seconds
The control goes out.
Set room temperature
To set up the temperature
- operate the keys to decrease or increase the desired value
- The displayed value change.
- The room temperature set-point can range between 16 and 31 °C.
MAINTENANCE
Routine maintenance is essential to keep the device always efficient, safe and reliable over time.
Preliminary warnings
Before each cleaning and maintenance intervention:
- disconnect the device from the power mains by turning the system master switch to “OFF”
- wait for the components to cool down in order to avoid any burns
- Carrying out any technical or cleaning work before disconnecting the unit from the power supply is forbidden.
- Make sure that there is no voltage before operating.
- After completing the maintenance work, must be re-stored its original condition.
Once-a-year operations
The once-a-year maintenance plan includes the following operations and checks and must be carried out by the Technical Service Centre or by qualified personnel.
Air intake filter cleaning
Cleaning the filter must be carried out:
- after prolonged operation, considered the concentration of impurities in the air
- when you plan to restart the system after prolungate disuse
Filter extraction
To extract the filter:- remove the filter from its housing
Cleaning
To clean the filters:
- use a vacuum cleaner
- aspirate dust
A Vacuum cleaner
B Long nozzle
C Filter
- wash the filter with running water
- allow it dry
A Running water
B Filter
Inserting the filter
Remount the filter paying particular attention to introducing the lower flap in its housing.
Do not use the device without its mesh filter.
It is forbidden to use the device without its mesh filter.
TROUBLESHOOTING
If the conditioner blocks because of an alarm (see following table), please communicate to the assistance centre the code on the display to facilitate interventions.
| Alarm | Alarm displayed on App | Description | |
| E1 | E1 | Faulty room temperature probe |
Switch off and restart the unit. If the problem persists, call the Technical Service Centre. |
| E2 | E2 | Lack of communication between controller and main PCB | |
| E3 | E3 | Seawater inlet temperature probe failure | |
| E4 | E4 | Condenser temperature probe failure | |
|
F2 |
OF |
Low water temperature on source side | The alarm can be caused by: • poor seawater circulation • a too low water temperature (< 5 °C) If the problem persists, call the Technical Service Centre. |
|
F3 |
E7 |
High-pressure switch alarm | In Cooling operation, the alarm may be caused by obstructions in the seawater circuit or a malfun- ction of the seawater pump: • check visually the seawater discharge over- board • if the flow is weak, check and clean all parts involved In Heating operation, the alarm may be caused by an air outlet flow that is too low: • check that all ducts are not clogged • check the air intake filter • clean the filter before restarting the unit |
| F4 | E7 | Low-pressure switch alarm | The alarm is due to a refrigerant leak. Please check the refrigeration circuit for leaks. If the problem persists, call the Technical Service Centre. |
| F5 | E5 | Faulty fan motor | Switch off and restart the unit. If the problem persists, call the Technical Service Centre. |
| F6 | E6 | Lack of communication between main PCB and inverter driver |
LIMITED WARRANTY
Uflex’s warranty policy is also extended to Velair marine air conditioning systems manufactured and supplied by Uflex s.r.l.
Uflex warrants that products are free from defects in material or workmanship for their normal use for a period of two (2) years from UFLEX’s original shipment to the customer. This warranty must be handled and serviced by an authorized Uflex dealer/service in accordance with Uflex warranty policy.
As an alternative, the defective product should be returned freight prepaid to the Uflex facility and must be accompanied by an Uflex issued Return Goods Authorization number. Upon receipt, the product will be examined to determine the cause of the defect.
If the product is determined to have a defect in workmanship or material, it will be repaired or replaced at Uflex’s discretion. And then shipped back ex works.
This guarantee does not cover any labor costs such as assembly, disassembly, installation/uninstallation time. All parts repaired or replaced under warranty conditions are guaranteed to be free from defects for 90 days after repair/replacement or the remainder of the original warranty, whichever is longer.
To locate the nearest Uflex Authorized Dealer/Service please call:
Europe:
Uflex +39-010-9620.239 /244
USA:
Uflex USA +01(941) 351-2628
Rest of the World:
Uflex +39-010-9620.239 /244
Or visit our website: www.uflex.it and www.uflexusa.com
Installation / Validation & Commissioning
The Uflex Marine Air Conditioning Products must be installed by authorized installers or the installation must be checked and approved by an authorized installer.
All installation/application releases should be commissioned, validated and documented. In case of OEM installa- tions this applies only for the first released representative application.
For the commissioning and validating procedure, please w rite to the Uflex Team ([email protected]) or refer to your Uflex service/dealer. They will get in touch with Uflex Team.
Limitations and Exclusions
This warranty is limited to repair & replacement only. It does not cover:
- claims for direct or indirect damages
- failure of the Uflex equipment due to normal wear, accident, misuse, abuse, lack of reasonable and necessary maintenance, unauthorized installation or re-pair by the end-customer
- transportation damages. This should be claimed directly with the forwarding company
- repair costs due to failure of Uflex equipment due to negligence, improper installation or non-respecting the installation guidelines (installer fault) will not be refunded
- limited warranty is extended only to the original application and is not transferable
- any intervention by a third part not specifically and previously authorized by Uflex to repair, will void the Uflex warranty and it will not be reimbursed
Owners responsibilities
The responsibility of the owner of the unit includes:
- operate the unit according to the manufacturer’s in-structions
- carry out regular maintenance
- provide easy accessibility for service
- check and reset circuit breakers and fuses before call-ing for service
- keep the unit clean and free of dirt
- keep the condenser coil free of sediment and scale
- keep clean the air filter on heat exchanger
- always keep proof of unit purchase
- ask the installer of your Uflex air conditioning system or your Uflex dealer for a copy of the Validation Report
Uflex s.r.l
Via Milite Ignoto, 8/A 16012 Busalla (GE) Italia tel. +39 (0) 10 9620 244/239
fax. +39 (0) 10 9620 333
www.uflex.com
[email protected]

































