igenix IG9907 3-in-1 Portable Air Conditioner White

SAFETY INSTRUCTIONS
Carefully read the instructions before operating the unit. Please retain this manual for future reference.
Important: This product is intended for domestic and light office use ONLY and not for commercial, industrial or outdoor use. When using electrical appliances, basic safety precautions should always be followed:
- All electrical repairs must be carried out by a qualified electrician. Inadequate repairs may result in a major source of danger for the user and invalidate the warranty.
- Do not operate the unit if the plug or cord is damaged, after it malfunctions or has been dropped or damaged in any way, it must be repaired by a qualified electrician.
- Make sure the unit is connected to an earthed power supply of the correct rating. Please refer to the rating label located at the side of the unit.
- Leave the unit to stand for 12 hours before connecting to the mains electricity supply after transport or when it has been tilted (e.g. cleaning), to allow the coolant gases time to settle.
- Use of an extension cord is not recommended with this product.
- This unit should only be used by adults.
- Keep the unit and its cord out of reach of children.
- Children shall not play with the appliance.
- Cleaning and user maintenance shall not be made by children.
- The unit should not be used by persons with reduced physical, sensory or mental capabilities.
- It is not recommended to place this appliance in cupboards, closets, boats, caravans or similar locations.
- Do not use the unit in a wet room, such as a bathroom or laundry room or in areas where the unit is likely to get splashed.
- An opening in a window or wall is required to accommodate the exhaust hose to expel the hot air.
- Always place unit on a dry and stable surface.
- Do not cover or obstruct the unit’s inlet and outlet grilles.
- Do not insert fingers, pencils or any other objects into the opens of the unit.
- Avoid restarting the appliance unless 3 minutes have passed since being turned off. This prevents damage to the compressor.
- Do not let chemical substances come into contact with the appliance.
- It is not recommended to use flammable substances or vapours such as alcohol, insecticides, petrol, etc. whist the unit is in use.
- Do not clean the unit by spraying it or immersing in water.
- Do not unplug the unit while it is working, this could damage the electronic circuits. Always use the control panel to start and stop the unit.
- Always turn the unit off when not in use by removing the plug from the wall socket; ensuring to pull the plug top and not the cord. Always turn off the unit before cleaning, carrying out maintenance or moving location.
- Do not pull or place the electrical cable near a source of heat: always unroll it completely to avoid dangerous overheating.
- The filter must be used with the product at all times, when removing it for clearing always turn the unit off and unplug from the mains wall socket.
SPECIFICATION
| Model | IG9907 |
| Cooling Capacity (Btu) / (W) | 7000Btu / 2050W |
| Heating Capacity (Btu) / (W) | n/a |
| Dehumidification at 30°C/80%RH (L/day) | 19.2 |
| Cooling Input Power (W) | 785 |
| Heating Input Power (W) | n/a |
| Air Flow Volume (m³/h) | 225 |
| Power Supply (Hz) | 50 |
| Compressor | Rotary |
| Refrigerant | R290 |
| Fan Speeds | High / Low |
| Timer | Yes |
| Operating Temperature (°C) | 18 – 35 |
| Energy Rated Class | A |
| Room Size (m²) | Up to 15m2 |
| Net Weight (kg) | 22.6 |
| Product Dimensions (H x W x D) (mm) | 670 x 320 x 320 |
| Unit must be vented outside when in Air Cooling and Heating Modes. For the purpose of EU regulation EN12102, this is a local air conditioner and produces less than 65dB(A) sound energy | |
APPLIANCE OVERVIEW

- Control panel
- Handle (both sides)
- Castors
- Louvres
- Intake grille
- Air outlet grille
- Intake grille
- Power cable
- Plug fixer
- Drainage point
- Drainage point
Accessories

Exhaust Assembly

INSTALLATION
Warning: Leave the unit to stand for 12 hours before connecting to the mains electricity supply after transport or when it has been tilted (e.g. cleaning), to allow the coolant gases time to settle.
Unpacking
- Open the box and remove all of the packaging and the exhaust assembly
- Grip the unit by the carry handles located on either side and carefully lift until it slides out of the foam base
- Install the exhaust hose assembly onto the unit before switching on
Installing Exhaust Hose

- Extend the exhaust hose by pulling out the two ends of the hose.
- Screw the exhaust hose into the exhaust hose connector, turning anti-clockwise.
- Screw the other end of the exhaust hose onto the exhaust hose adaptor.
- Slide the exhaust hose assembly into the exhaust duct located on the back of the unit, ensuring the connector has clicked into place.
Positioning the Appliance
This unit can easily be moved from one room to another on the rolling castor wheels, please note that whilst moving the unit, it should be kept in an upright position.

- The exhaust heat must be expelled through a window, door or vented through a wall; whilst in air cooling or heating mode. For best results it is recommended to vent through a wall duct.
- Ensure the unit is positioned on a flat and even surface, at least 45cm away from wall, curtains, draperies, or heat sources to ensure adequate air circulation.
- The exhaust hose can be extended from 30cm to 150cm, but it is recommended to use as short as possible as this will minimise the escape of any expelled air and offer better results.
- The exhaust air must flow freely. Avoid kinks and bends in the hose more than 30 degrees as any blockages can lead to the unit overheating.
Warning: Do not use the unit in a wet room, such as a bathroom or laundry room or in areas where the unit is likely to get splashed.
Important: The length of the exhaust hose has been designed according to the specification of the appliance. Do not extend the exhaust hose with any other product as this could lead to the
unit malfunctioning
Using the Window Slider

The window slider kit has been designed to fit most standard vertical and horizontal window applications, however, it may be necessary for you to modify some aspects of the installation procedures for certain types of windows. The window slider kit can be fastened with screws.
Note: If the window opening is less than the minimum length of the window slider kit, cut the end without the hold in it short enough to fit in the window opening. Never cut out the hole in window slider kit.

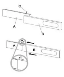
Window Slider Kit Installation
- A. Panel
- B. Panel with one hole
- C. Screw to lock window kit in place

Assembly:
- Slide panel B into Panel A and size to window width. Ensure that the window kit assembly is free from gaps from gaps and/or air pockets when taking measurements.
- Lock the screw into the holes that correspond
- With the width that your window requires to ensure that there are no gaps or air pockets in the window kit assembly after installation.
OPERATING INSTRUCTIONS
Control Panel
When box is lit up, this shows:
- A. Timer enabled
- B. Low speed fan selected
- C. High speed fan selected
- D. Dehumidify mode selected
- E. Cooling mode selected
- F. Fan mode selected
- Timer button
- Fan button
- Increase temperature button
- Display screen
- Decrease temperature button
- Mode button
- ON/OFF button
Remote Control
NOTE: Certain modes and functions can only be controlled via the remote control, therefore always ensure that the remote control is keep in a safe place to avoid accidentally losing or misplacing it.

NOTE: This serial model has no auto swing function. Please adjust the louvres manually to the required position.
- Point the remote control at the receiver on the appliance.
- The remote control must be no more than 7 meters away from the appliance (without obstacles between the remote control and the receiver).
- The remote control must be handled with extreme care. Do not drop it or expose it to direct sunlight or sources of heat. If the remote control does not work, please try to take out the battery, and put it back.

Inserting or Replacing the Batteries
- Remove the cover on the rear of the remote control
- Insert two “AAA” 1.5V batteries in the correct position (see instructions inside the battery compartment
NOTE
- If the remote control unit is replaced or disposed of, the batteries must be removed and discarded in accordance with current legislation as they are harmful to the environment.
- Do not mix old and new batteries. Do not mix alkaline, standard (carbon-zinc) or rechargeable (nickel-cadmium) batteries.
- Do not dispose of batteries in fire. Batteries may explode or leak.
- If the remote control is not be used for a certain length of time, remove the batteries
Modes
The IG9907 features 3 main functions: Cooling, Fan and Dehumidifier.
Important: The compressor will start approximately 3 minutes after the unit is turned on (this will help prolong the life of the compressor). After switching the unit off, please wait at least 3
minutes before turning the unit back on.
Cool Mode
Ideal for hot muggy weather when you need to cool and dehumidify the room.
To set this mode correctly:
- Press the “
” button a number of times until the “Cool” symbol light appears. - Select the target temperature (18°C-32°C) (64°F-90°F) by pressing the “ ” or “ ” button until the corresponding value is displayed.
- Select the required fan speed by pressing the “ ” button. Different fan speeds are intended for:
High – To achieve the desired temperature as fast as possible
Low – Running at low noise and maintaining the temperature once reached - The most suitable temperature for the room during the summer varies from 24°C to 27°C (75°F to 81°F). You are recommended, however, not to set a temperature much below the outdoor temperature.
- The fan speed difference is more noticeable when the appliance is under FAN mode but may not be noticeable under COOL mode.
Fan Mode
When using the appliance in this mode, the air hose does not need to be attached.
- Press the “
” button a number of times until the “Fan” symbol light appears. - Select the required fan speed by pressing the “
” button. - High and low speeds will appear on the display screen as below:

Dry Mode
Ideal to reduce room humidity (spring and autumn, damp rooms, rainy periods, etc).In dry mode, the appliance should be prepared in the same way as for cool mode, with the air exhaust hose attached to enable the moisture to be discharged outside.
To set this mode correctly:
- Press the “
” button a number of times until the “Dry” symbol light appears. - The display screen will show “
” - In this mode, fan speed is selected automatically by the appliance.
Sleep Mode
NOTE: This mode is only available when using the remote control and cannot be controlled via the main control panel
This function is intended for using the unit at night as it gradually reduces operation of the appliance.
To set this function correctly:
- Select the cool or heat mode as described above.
- Press the “
” button.- The appliance will operate in the previously selected mode, but with reduced brightness and noise level.
- The SLEEP function maintains the room at optimum temperature without excessive fluctuations in either temperature or humidity with silent operation. Fan speed is always at Low, while room temperature and humidity vary gradually to ensure the most comfortable.
- When in COOL mode, the selected temperature will increase by 1°C (1°F) per hour in a 2 hour period. This new temperature will be maintained for the next 6 hours. Then the appliance turn it off. The SLEEP function can be cancelled at any time during operation by pressing the “Sleep”, “Mode” or “fan speed” button.
- In FAN or DRY mode, SLEEP function cannot be set.
Setting the Timer
This timer can be used to delay the appliance start up or shut down. This avoids wasting electricity by optimising operating periods.
Programming start up:
- Turn on the appliance and choose the desired mode (for example cooling, 24°C and high fan speed)
- Turn off the appliance.
- Press the “
” button and the screen will display 1-24 hours. - Press several times until the corresponding time is displayed.
- Wait about 5 seconds, then timer will be active, signified by the ‘Timer’ symbol on the display screen.
- Press the “
” button to cancel this timer. The ”Timer” symbol will disappear from the display screen.
Programming shut down:
- While the appliance is running, please press the
button, the screen will display 1-24 hours. - Press several times until the corresponding time is displayed. Wait about 5 seconds, the timer will be active, then “Timer” symbol is displayed on screen.
- Press again the “ ” button, the timer will be cancelled, and the ”Timer”symbol will disappear from the display screen.
Switch the Unit of Temperature
When the appliance is running, press the button, then you can change the unit of temperature between degrees Celsius and degrees Fahrenheit. For examples:
Before changing the unit, in cool mode, the display screen will look like Fig.7. After changing the unit as above, in cool mode, the screen display like Fig.8.

Tips For Correct Use
To get the best from your appliance, follow the below recommendations:
- Close the windows (that aren’t being used for venting) and doors in the room to be air conditioned (Fig.9). When installing the appliance semi-permanently, you should leave a door slightly open (as little as 1 cm) to guarantee
- correct ventilation
- Protect the room from direct exposure to the sun by partially closing curtains and/or blinds to make the appliance much more economical to run (Fig.10)
- Never rest objects of any kind on the appliance
- Do not block the air inlet or outlet of the appliance
- Reduced air flow will result in poor performance and could damage the unit (Fig.11)
- Make sure there are no heat sources in the room
- Never use the appliance in very damp rooms (laundries for example)
- Never use the appliance outdoors
- Make sure the appliance is standing on a level surface. If necessary, place the castor locks under the front wheels

WATER DRAINAGE
With daily use, it is recommended to empty the unit approximately once a week. The unit can be drained manually or continuously, as explained below:
Manual Draining (Fig.12)

- Unplug the unit from power source.
- Place a suitable container (not supplied with unit) under the lower drain plug. See diagram.
- Remove the lower drain plug.
- Water will drain out and collect in the pan.
- After the water is drained, replace the lower drain plug firmly.
- Turn on the unit.
Continuous Draining (Fig.13)

- Unplug the unit from the power source.
- Remove the drain plug. While doing this, some residual water may spill so have a suitable pan or container ready to collect the water (not supplied with unit.
- Connect the drain hose. See diagram.
- The water can be continuously drained through the hose into a floor drain or bucket.
- Turn on the unit.
If the unit has not been emptied frequently enough and there is excess water condensation inside the unit, the appliance will stop running and shows the error code “ ” (FULL TANK).
This indicates that the water condensation needs to be drained using one of the above procedures.
NOTE
Ensure that the drain hose is not higher than that of the drain outlet, or the water tank may not drain fully. (Fig.14 & Fig.15)

Middle Drainage
When unit running in Dry mode, you can choose to drain the system from the middle drainage
outlet as below:
- Unplug the unit from the power source.
- Remove the drain plug (Fig.16). While doing this, some residual water may spill so ensure you have a pan ready to collect the water (not supplied with unit).
- Connect the drain hose (Fig.17)
- The water can be continuously drained through the hose into a floor drain or bucket.
- Turn on the unit.
NOTE: Ensure that the drain hose is not higher than the middle drain outlet, or the water tank may not drain fully. (Fig.18 and Fig.19)
CLEANING & MAINTENANCE
Cleaning the Cabinet
Before any cleaning or maintenance, turn the appliance off by pressing the “ ” button on the control panel or remote control. Wait for a few minutes then unplug from the mains socket.
You should clean the outer cabinet of the appliance with a slightly damp cloth, then dry with a dry cloth. Do not use water to wash appliance.
- Never wash the appliance with water. It could be dangerous.
- Never use petrol, alcohol or solvents to clean the appliance.
- Never spray antibacterial liquids or similar.
Cleaning the Air Filters
To keep your appliance working efficiently, it is recommended that you clean the filter every week of operation.
As per Fig.20, open the grid of appliance, then take out evaporator from the back of grid.

Avoid contact with the metal parts of the appliance when removing or re-installing the filter to reduce the risk of personal injury.
Use a vacuum cleaner to remove dust accumulations from the filter. If it is very dirty, immerse in warm water and rinse several times. The water should never be hotter than 40°C (104°F). After washing, leave the filter to dry fully then re-attach the intake grille to the appliance.
Start of Season Operations
Make sure the power cable and plug are undamaged and properly earthed. Follow the installation instructions precisely.
End of Season Operations
To empty the internal circuit completely of water, remove the cap. Run off all water left into a basin. When all the water has been drained, put the cap back in place.Clean the filter and dry thoroughly before putting back.
Strictest Operation Environment
Cooling mode: 18°C-35°C (64°F-95°F), 30%RH~90%RH
TROUBLESHOOTING GUIDE
If you experience difficulties with the appliance, please check the suggestions below before contacting customer services:
| Problem | Solution |
|
The unit will not switch on | • Check Trip Switch / Fuse • Wait for 3 minutes and start again, protective device may be preventing unit from working • Check if the plug is connected to mains socket correctly • Check batteries in the remote control |
|
Runs for a short while then switches off | • If the set temperature is close to room temperature, the unit will automatically switch off, you can lower the set temperature to restart • Check if there are bends or obstacles in the air exhaust hose, if so remove obstacle • Check if Timer function has been activated |
|
Runs without cooling in Air Conditioning mode | • Ensure the air exhaust hose is vented correctly out of a window or through a wall duct • Close any open doors or windows • Remove any other appliance creating heat in the same room • Check if the air filter is dirty – if so, clean • Check if air outlets or inlets are blocked • The set temperature is too high • Check the room is the correct size for the recommended specification of the unit (see specification table above) |
| During operation, the unit is creating an unpleasant smell in the room | • Clean the air filter as described above |
|
Water is leaking from unit | • Drain the water tank – refer to Water Drainage section • Ensure rubber caps are securely fitted to drainage points • Ensure unit is located on a flat and even surface |
ERROR CODES

MAINS PLUG FUSE REPLACEMENT
Fuse Replacement (Class I)
This appliance must be eathed. Remove the fuse cover with a small flat head screw driver. Take out the fuse and replace with a new fuse of the same Amp. Replace the fuse cover and push back into place.

DISPOSAL INFORMATION
The European Directive 2012/19/EU on Waste Electrical and Electronic Equipment (WEEE), requires that old household electrical appliances must not be disposed of in normal unsorted municipal waste. Old appliances must be collected separately in order to optimise the recovery and recycling of the materials they contain and reduce the impact on human health and the environment. The crossed out “wheeled bin” symbol on the product reminds you of your obligation, that when you dispose of the appliance it must be separately collected. Consumers should contact their local authority or retailer for information concerning the correct disposal of their old appliance.



NOTE: Ensure that the drain hose is not higher than the middle drain outlet, or the water tank may not drain fully. (Fig.18 and Fig.19)


















