OMNITRONIC SLR-X DJ Notebook Stand

GENERAL INTRODUCTION
The SLR-X notebook stand is ideal for all DJ desks. The lightweight and foldable frame is made of high-quality aluminum alloy and fits all standard notebook sizes. The open design provides optimal air circulation while the anti-skid hooks prevent devices from sliding off. Rubber pads on top and bottom ensure solid stability and prevent scratches. Quick release fasteners make for fast and easy assembly. Delivery includes a practical transport bag.
FEATURES
- Made of high-quality aluminum alloy
- Foldabl e and easy to carry
- Quick release fasteners for fast assembly and disassembly
- Open design provides optimal air circulation
INSTALLATION INSTRUCTIONS
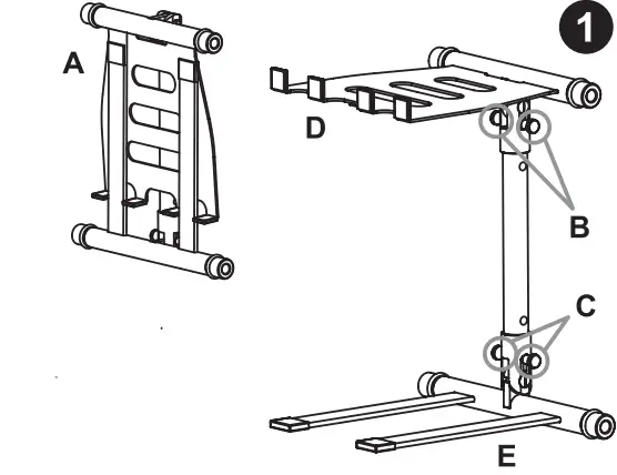
Components
- A. DJ stand
- B. Upper fastener
- C. Lower fastener
- D. Support board
- E. Stand leg

Push up lower quick-release fastener (C), then open stand leg (E).

Push down upper quick-release fastener (B), then open support board (D).


APPLICATION

SPECIFICATIONS
- Support board (L x W): 215mm x 210mm
- Stand leg (Lx W): 240mmx 170mm
- Stand height: 360mm
- Folding size (L x W) 310mm x 290mm
- Weight 1kg
- © 2021 0mnitronic. All rights reserved
- 0mnitronic is a brand of Steinigke Showtechnic GmbH · Andreas-Bauer-Sir. 5 · 97297 Waldbiittelbrunn, Germany

















