Pulsar PTG1221T Gasoline Powered Lawn Mower
Introduction
This rotary-blade, walk-behind lawn mower is intended to be used by residential homeowners or professional, hired operators. It is designed primarily for cutting grass on well
-maintained lawns on residential or commercial properties. It is not designed for cutting brush or for agricultural uses. Read this information carefully to learn how to operate
and maintain your product properly and to avoid injury and product damage. You are responsible for operating the product properly and safely.
You may contact Pulsar directly at 1-866-591-8921 for product and accessory information and help finding a dealer. To register your product please register online at:
pulsar-products.com This manual indentifies potential hazards and has safety messages indentified by the safety alert symbol (Figure 1 ), which signals a hazard that may cause serious injury or death if you do not follow the recommended precautions.
Safety Symbols
This manual uses two words to highlight information. Important calls attention to special mechanical information and Warning emphasizes general information worthy of special attention.
Warning
Propsition 65 Warning
The engine exhaust from this product contains chemicals known to the State of California to cause cancer, birth defects, or other reproductive harm.
Important:
This engine is not equipped with a spark arrester muffler. It is a violation of California Public Resource Code Section 4442 to use or operate the engine on any forest covered, brush-covered, or grass-covered land. Other states or federal areas may have similar laws. The enclosed Engine Owner’s Manual is supplied for information regarding the US Environmental Protection Agency (EPA) and Regulation of emission systems, maintenance, and warranty. Replacements may be ordered through the engine manufacturer. For models with stated engine horsepower, the gross horsepower of the engine was laboratory rated by the engine manufacturer in accordance with SAEJ1940.As Configured to meet safety, emission, and operating requirements, the actual engine horsepower on this class of lawn mower will be significantly lower. Do not tamper with the engine controls or alter the governor speed; doing so may create an unsafe condition resulting in personal injury.
Safety
This lawn mower meets or exceeds the CPSC blade safety requirements for walk-behind rotary lawn mowers and the B71.1 of the American National Standards Institute
in effect at the time of production. Read and understand the contents of this manual before you start the engine. The safety alert symbol (Figure 1) is used to alert you
to potential personal injury hazards. Obey all safety messages that follow this symbol to avoid possible injury or death. Improperly using or maintaining this mower
could result in injury or death. To reduce this potential, comply with the following safety instructions. The following instructions have been adapted from the
ANSI/OPEI standard B71.1-2003. This cutting machine is capable of amputating hands and feet and of throwing objects. Failure to observe the following safety instructions could result in serious injury or death.
General Operation
- Read, understand, and follow all instructions on the machine and in the manual(s) before starting.
- Do not put hands or feet near or under the machine.
- Keep clear of the discharge opening at all times.
- Only allow responsible adults, who are familiar with the instructions, to operate this machine.
- Clear the area of objects such as rocks, wire, toys, etc., which could be thrown by the blade. Stay behind the handle when the engine is running.
- Be sure the area is clear of bystanders before operating.
- Stop machine if anyone enters the area.
- Do not operate machine barefooted or while wearing sandals. Always wear substantial footwear.
- Do not pull machine backward unless absolutely necessary. Always look down and behind before and while moving backward.
- Never direct discharged material toward anyone. Avoid discharging material against a wall or obstruction. Material may ricochet back toward the operator. Stop the blade when crossing gravel surfaces.
- Do not operate machine without the entire grass catcher, discharge guard, rear guard, or other safety protective devices in place and working.
- Never leave a running machine unattended.
- Stop the engine and wait until the blade comes to a complete stop before cleaning the machine, removing grass catcher, or unclogging the discharge guard.
- Operate machine only in daylight.
- Do not operate this machine while under the influence of alcohol or drugs.
- Never operate mower in wet grass. Always be sure of your footing; walk; never run.
- Disengage the drive system, if so equipped, before starting the engine.
- If the machine should start to vibrate abnormally, stop the engine and check for the cause immediately. Vibration is generally a warning of trouble.
- Always wear eye protection when operating machine.
- Lightning can cause severe injury or death. If you see lightning or hear thunder in the area, do not operate the machine; seek shelter.
- See manufacturer’s instructions for proper operation and installation of accessories. Only use accessories approved by the manufacturer.
Slope Operation
Slopes are a major factor related to slip and fall accidents, which can result in severe injury. Operation on all slopes require extra caution. If you feel uneasy on a slope, do
not mow it.
- Mow across the face of slopes; never up and down. Exercise extreme caution when changing direction on slopes.
- Watch for holes, roots, bumps, rocks, or other hidden objects. un even could cause a slip or fall resulting in severe injury terrain Tall grass can hide obstacles.
- Do not mow on wet grass or excessively steep slopes. poor footing could cause a slip or fall
- Do not mow near drop-offs, ditches, or embankments. You could lose your footing or balance.
Children
Tragic accidents can occur if the operator is not alert to the presence of children. Children are often attracted to the machine and the mowing activity. Never assume that children will remain where you last saw them.
- Keep children out of the mowing area and under the watchful care of a responsible adult other than the operator.
- Be alert and turn mower off if a child enters the area.
- Never allow children to operate the machine.
- Use extra care when approaching blind corners, shrubs, trees, or other objects that may block your view of a child.
Service
Safe Handling of Gasoline
To avoid personal injury or property damage, use extreme care in handling gasoline. Gasoline is extremely flammable and the vapors are explosive.
- Extinguish all cigarettes, cigars, pipes, and other sources of ignition.
- Use only an approved gasoline container.
- Never remove or add fuel with the engine running. Allow engine to cool before refueling.
- Never refuel the machine indoors.
- Never store the machine or fuel container where there is an open flame, spark, or pilot light such as on a water heater or on other appliances.
- Never fill containers inside a vehicle or on a truck or trailer bed with a plastic liner. Always place containers on the ground away from your vehicle before filling.
- Remove gasoline-powered equipment from the truck or trailer and refuel it on the ground. If this is not possible, then refuel such equipment with a portable container, rather than from a gasoline dispenser nozzle.
- Keep the nozzle in contact with the rim of the fuel tank or container opening at all times until fueling is complete. Do not use a nozzle lock-open device.
- If fuel is spilled on clothing, change clothing immediately. Never overfill fuel tank. Replace gas cap and tighten securely.
WARNING
Exhaust contains carbon monoxide, an odorless, deadly poison that can kill you. Do not run the engine indoors or in an enclosed area.
General Service
- Never operate machine in a closed area.
- Keep all nuts and bolts tight to help ensure the equipment is in safe working condition.
- Never tamper with safety devices. Check their proper operation regularly.
- Keep machine free of grass, leaves, or other debris build-up. Clean up oil or fuel spillage and remove any fuel-soaked debris. Allow machine to cool before storing.
- If you strike a foreign object, stop the engine and inspect the machine. Repair, if necessary, before starting.
- Never make any adjustments or repairs with the engine running. disconnect the spark plug wire and ground the center electrode to a metal part of the engine
- Check grass catcher components ( if equipped )and the discharge guard frequently and replace with manufacturer’s recommended parts, when necessary.
- Mower blades are sharp. Wrap the blade or wear gloves, and use extra caution when servicing them.
- Do not change the engine governor setting.
- Maintain or replace safety and instruction labels, as necessary.
Product Specification
Component : Specification
Rated Speed : 2800RPM
Displacement : 200cc
Cutting Width : 21”
Height Adjustment :Tool less Height Adjustment
Wheels : 7” Front 11” Rear
Net Weight : 45.6 lbs
Safety & Instruction; Decals
Important:
Safety & instruction decals are located near areas of potential DANGER. Replace damaged decals.
- WARNING: Read the Operator’s Manual.
- Thrown Object Hazard: Keep bystanders a safe distance from the mower.
- Cutting/Dismemberment Hazard of Hand or Foot, Mower Blade: Disconnect the spark plug wire and read the instructions before servicing or performing maintenance.
- Cutting/Dismemberment Hazard of Hand or Foot, Mower Blade: Stay away from all moving parts and keep all guards and shields in place.
- Cutting/Dismemberment Hazard of Hand or Foot, Mower Blade: Do not mow up and down slopes, only mow across; stop the mower and engine, pick up debris before operating; look behind and down before reversing.
Setup
WARNING
Folding or unfolding the handle improperly can damage the cables, causing an unsafe operating condition.
- Do not pinch or bend the cables when folding or unfolding the handle.
- If a cable is damaged, contact an Authorized Service Center by calling 1-866-591-8921
Handle Installation
- Align lower handle section with rear bracket pins, then insert cotter pins. to secure.

- Position the upper mower handle to match the lower handle pre-drilled holes. Insert the bolt with a washer and handle knobs. Hand tighten to secure the handle.

Wheel Installation
- Install the washer wheels and nuts onto the bolts.

- Then place wheel cover by tapping it in.

Side Discharge Installation
- Insert bolts into the deck and side discharge hole with 2 x M6 x20 flange bolts and fasten it with 2 x M6 screw flange nuts.

Product Overview

- ْAir Filter
- Fuel Tank Cap
- Oil Fill / Dipstick
- Height Adjustment
- Handle Loosening Knob
Operation
Attachments / Accessories
A selection of Pulsar approved attachments and accessories are available for use with the machine to enhance and expand its capabilities. Contact your Authorized Service Center or Distributor 1-866-591-8921.
Filling the Engine with Oil
Your mower engine does not come filled with oil. Use SAE 10w30 engine oil .
- Remove the dipstick.

- Slowly pour oil into the dipstick/fill hole until the oil level reaches the full range on the dipstick. Do not overfill. Max 17oz. (0.5L), type: SAE 10w30 we i ght engine oil with an API service rating of SF or higher.
Filling the Fuel Tank
WARNING
Gasoline is extremely flammable with explosive vapors. A fire or explosion from gasoline can burn you or others.
- To prevent a static charge from igniting the gasoline, place the container and/or mower directly on the ground before filling, not in a vehicle or on an object.
- Fill the tank outdoors when the engine is cold; wipe
- Do not handle gasoline while smoking or near open flame or sparks.
- Store gasoline in an approved fuel container, out of the reach of children.
Fill the fuel tank with fresh unleaded regular gasoline from a filling station.
Important:
To reduce starting problems, add fuel stabilizer to the fuel, mixing it with gasoline less than 30 days old. (Fig. 8)
Checking the Engine Oil Level
Service Interval: Before each use.
- Remove dipstick, wipe it clean, and fully re-insert it, check to see if oil is needed by the oil mark that is left on the dipstick.

- Remove the dipstick and check the oil level (Fig. 9) If the oil level is low on the dipstick, slowly pour oil into the oil fill hole to raise the oil level to the full range on the dipstick. Do not overfill. Max fill 17oz (0.5 L),type SAE10w30 weight oil with an API service rating of SF or higher.
- Install the dipstick and tighten the screw threads.
Cutting Height Adjustment
WARNING
Adjusting the cutting height may bring you into contact with the moving blade, causing serious injury.
- Stop the engine and wait for all the moving parts to stop.
- Do not put your fingers under the mower deck when adjusting the cutting height.
WARNING
If the engine has been running, the muffler will be hot and can severely burn you. Keep away from the hot muffler.
Adjust the cutting height as desired. Set all four wheels to the same height.
TO ADJUST CUTTING HEIGHT
Raise wheels for low cut and lower wheels for high cut, adjust cutting height to suit your requirements. Medium position is best for most lawns.
- To change cutting height, pull adjuster lever to ward wheel. Move wheel up or down to suit your requirements. Be sure all wheels are in the same setting.
NOTE:
Adjuster is properly positioned when plate tab inserts into hole in lever. Also, 5-position adjusters (if so equipped) allow lever to be positioned between the plate tabs.
Starting the Engine
- Press the primer three times

- Hold the blade control bar
against the handle. - Hold blade control bar then pull the cord to start the mower.

Note:
If the mower does not start after several attempts, please contact your authorized service center.
Stopping the Engine
To stop the engine, release the blade control bar
Important:
When you release the blade control bar, both the engine and the blade should stop within 3 seconds. If they do not stop properly, stop using your mower immediately and contact an authorized service center.
WARNING
A worn grass catcher could allow small stones and other similar debris to be thrown in the operator’s or bystanders direction and result in serious personal injury or death to the operator or bystanders
WARNING
The blade is sharp. Contact with the blade can cause serious personal injury. Stop the engine and wait for all moving parts to stop before leaving the operating position.
Operating Tips
General Mowing Tips
- Clear the area of sticks, stones, wire, branches, and other debris that the blade may hit.
- Avoid striking solid objects with the blade. Never deliberately mow over an object.
- If the mower strikes an object or starts to vibrate, immediately stop the engine, disconnect the spark plug cable and examine the mower for damage.
- Replace the blade when necessary with a genuine Pulsar replacement blade.
Cutting Grass
- When cutting grass over 6 inches tall, mow at the highest cut setting and proceed slowly. After the first pass, set your cutting height as desired and mow the area again.
WARNING
Wet grass or leaves can cause serious injury if you slip and contact the blade. Mow only in dry conditions.
- Alternate the mowing direction. This helps disperse the clippings over the lawn for even fertilization.
- If the finished lawn is unsatisfactory, try one or more of the following.
- Replace the blade or have it sharpened.
- Walk at a slower pace while mowing.
- Raise the cutting height on your mower.
- Cut the grass more frequently.
- Overlap cutting swaths instead of cutting a full swath with each pass.
High Altitude Operation
Most small engines with carburetors are designed to work efficiently from sea level to around 5,000 feet elevation. As altitude increases, the air becomes thinner with less available oxygen. This causes the air/fuel mixture to become overly rich which can cause reduced performance, spark plug fouling, difficult starting and increased emissions. A competent small engine shop can modify the carburetor by installing different ‘jets’ that are designed for high altitude operation. If your lawn mower is typically operated at an altitude of 5,000 feet or above, you should ask your dealer to ‘re-jet’ the carburetor and calibrate the air fuel mixture to maximize performance at the altitude where it is to be used. You will realize better overall performance, while reducing excess emissions that occur when the air/fuel mixture is too rich. This modification need only be done once and should last for the life of the mower. Keep in mind that any engine, even with properly calibrated carburetor jets, will realize a decrease in horsepower of about 3.5% for every 1,000 feet (300 meter) increase in altitude, simply due to thinner air. But an engine with a properly jetted carburetor will always run cleaner and more efficiently at high altitude than an identical unit with standard jets.
Spark Plug Maintenance

- Once the engine has cooled, remove the spark plug wire.
- Remove the spark plug using a spark plug wrench.
- Clean the spark plug with a wire brush (not supplied).
- Using a feeler gauge set the gap to 0.75mm.
- Install the spark plug carefully by hand, to avoid cross-threading.
- After the spark plug is seated, tighten with the spark plug wrench to compress the washer.
Maintenance
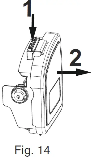
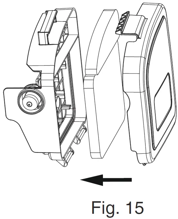
Replacing the Air Filter
Service Interval: 50 Hours
- Unlock the latch (1) and pull upward to open the air filter compartment (2).

- Replace the air filter element.

- Press down and lock the latch on the air filter compartment.
Replacing the Blade
Service Interval: Yearly
Important:
You will need a torque wrench to install the blade properly. If you do not have a torque wrench or are uncomfortable performing this procedure, contact an Authorized Service Center. Examine the blade whenever the mower runs out of fuel. If the blade is damaged or cracked, replace it immediately. If the blade edge is dull or nicked, have it sharpened or replace it.
WARNING
The blade is sharp. Contact with the blade can result in serious personal injury.- Disconnect the spark plug wire.
- Wear heavy gloves when servicing the blade.
- Install new blade with all mounting hardware; tighten blade bolt by turning clockwise.
Important:
Position the curved ends of the blade to point up toward the mower deck. - Use a torque wrench to tighten the blade bolt to 30-38 ft-lb(40-50 Nm).
Important
Correct blade hub bolt torque is very important. Use proper tools only!
Cleaning the Mower
Service Interval: Before each use
WARNING
The mower may dislodge material from under the mower check
- Wear eye protection.
- Stay in the operating position (behind the handle
- Do not allow bystanders in the area .
- Do not turn the lawn mower over, or fuel and oil will leak, causing a hazardous condition and possible malfunction of the lawn mower
- With the engine running on a flat paved surface, spray a stream of water in front of the right rear wheel .

The water will splash into the path of the blade, cleaning out the clippings. - When no more clippings come out, stop the water and move the mower to a dry area.
- Run the engine for a few minutes to dry the deck to prevent
Storage
Store the mower in a cool, clean, dry place.
Preparing the Mower for Storage
WARNING
Gasoline vapors can explode.- Do not store the mower in an enclosed area, near any source of ignition (flame, spark, etc)
- Allow the engine to cool before storing it.
- Always add fuel stabilizer to the fuel as directed by the fuel stabilizer manufacturer.
- Remove spark plug and spray a light fog of penetrating coil, such as WD-40 into the spark plug hole; Then pull
the starter rope…….. - Install the spark plug and tighten it with a wrench to 15 ft-lb (20 N-m ).
- Tighten all nuts, bolts, and screws.
- Leave spark plug cable disconnected.
Folding the Handle
WARNING
Folding or unfolding the handle improperly can damage the cables, causing an unsafe operating condition.
- Do not damage the cables when folding or unfolding the handle.
- If a cable is damaged, contact an Authorized Service.
- Loosen the handle knobs until you can move the handle freely .

STORAGE
- Loosen handle knobs.
- Move handle forward and fold it as shown.









against the handle.


Important:


















