RCT250SL 250w Radiant Ceiling Tile Heater
Instruction Manual

Installation & Control Guide for Radiant Ceiling Tile Heater for SL Wireless Controllers
Models
RCT250SL 250w
All electrical appliances produced by the Company are guaranteed for one year against faulty materials or workmanship. This applies only if the appliance has been used for purposes in accordance with the instructions provided and has not been connected to an unsuitable electricity supply, or subject to misuse, neglect, damage or modified or repaired by any person not authorized by us. This guarantee is offered to you as an extra benefit and does not affect your legal rights.
The correct electricity supply voltage is shown on the rating label attached to the appliance.
Reasonable care has been taken to ensure that this guide is accurate at the time of printing. In the interest of progress the Company reserve the right to vary specifications from time to time without notice.
Overview
Please read this guide carefully and retain for future use and maintenance.
This appliance has been designed and manufactured to the highest international standards. However, care must be taken for optimal results and safety. This appliance also meets the requirements of EU Directive 2004/106/EC for EMC and 2009/125/EC Directive.
Safety & Care
The appliance is not intended for use by persons (including children) with reduced physical, sensory or mental capabilities or lack of experience and knowledge unless they have been given supervision or instruction concerning use of the appliance by a person responsible for their safety.
Warning
- Do NOT site the appliance in a corner.
- Do NOT touch the heater when it in use.
- Do NOT use the appliance if damaged.
- Do NOT leave the appliance unattended.
- Do NOT use the heater in hazardous areas.
- Do NOT leave the wireless receiver on top of the heater.
Cleaning
Always isolate the heater from the mains before cleaning. The heater should not require any maintenance, but it is strongly advised that it is kept clean. An occasional wipe-over with a soft cloth is all that should be necessary.
- Do NOT use metal or furniture polish on any part of the heater.
- Do NOT touch the heater with wet hands or in any way bring water into contact with it.
If the supply cord is damaged, the whole heater must be.
If Your Heater Does Not Work
- Check that power is available to the heater. The LED light on the SL receiver should be illuminated
- Check that the fuse in the spur unit has not blown.
This can be done by replacing the fuse with another suitable fuse. - Check if the heater is paired with the SL controller Should none of the above remedies work, then telephone the helpline number shown in these instructions (UK ONLY). Do not attempt to repair the heater.
Connection to the Main Supply
Electrical installation should be carried out by a competent installer, preferably registered with NICEIC in accordance with the latest edition of the IEE Wiring Regulations, (BS.7671), and any relevant Local Authority Bye-Laws. This heater is fitted with a 3core mains supply cable and must be permanently connected to the electricity supply via a double pole switch having 3mm gap on each pole.
There are no exceptions.
A switched Fused Connection unit to BS.1363. Part 4 is a recommended mains supply connection accessory to ensure compliance with safety requirements applicable to fixed- wiring installation.
WARNING: This appliance must be earthed.

Installation
Claudian RCT radiant ceiling tile heaters can be installed “invisibly” in a 600 x 600 ceiling tile system and offer each office, showroom or store maximum interior or showroom free display space.
With the integrated mounting system the panels are easy to mount in any type of ceiling.
The ceiling heaters warm up everything within range of the radiant panel, just as the sun heats the earth. This is done in a very short amount of time. They are perfect for those areas that are not occupied the entire day, need to be heated quickly and free up wall space.
Claudian
RCT radiant ceiling tile heaters only produce radiant heat. The high intensity of the infrared heat waves results in a comfortable feeling in just a few minutes.

Mounting
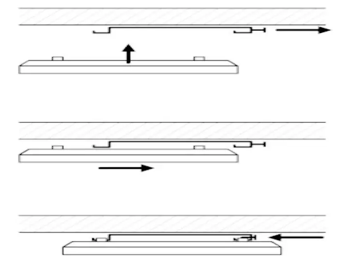
2.1 Ceiling grid system.
- Place the heater in the required ceiling square. The heater will fit most standard ceiling grid systems.
NOTE! Avoid fixing vertical bars in the T-profile where a heating panel is to be installed. The panel fills out the whole square. It is recommended that the ceiling frame is adequately supported.
– Connect the panel.
2.2 Bracket mounting
- Measure, drill and screw the panel frame to the ceiling.
- Hook the panel brackets to the panel frame on the ceiling
- Connect the panel.
Note: – When mounting in the gypsum board, make sure that the panel frame is anchored in the beam behind. During long-term high temperatures, the strength of the board is reduced.

SL Receiver Installation
The heater is supplied with the SL wireless receiver prewired. The cable length is approximately 0.9m. The receiver should be screwed to the wall with 2x screws and suitable wall plugs. Care should be taken when installing the receiver. It must not be positioned above, behind or below the heater.
The receiver has an LED plugged into the side of it. this can be used for indication and to see the heater’s current status. The LED is optional, the receiver will operate regardless.
Technical information
| Output | 250w |
| Voltage | 230v |
| Amps | 1.09A |
| Max surface temp | 110⁰c |
| Size | 590x590mm |
| Weight | 4.7Kg |
Operation
When the appliance is connected to the mains supply, the LED indicator will light up green, showing that the power is available to the unit.
When the heat output has been enabled by a controller, the LED indicator light will turn red.
This heater must be used in conjunction with an SL wireless controller. Each SL controller can control any number of heaters providing they are in the RF range.
Please refer to the SL user and operating instructions for full operational details.
CUSTOMER HELPLINE
Should you need any advice on the use of your new Consort product,
please contact our Helpline:
Consort Equipment Products Limited
Thornton Industrial Estate, Milford Haven, Pembrokeshire, SA73 2RT
Tel: 01646 692172 Fax: 01646 695195
Email: [email protected] Web: www.consortepl.com
Operation hours: Mon to Thu 8.30 am to 4.30 pm | Fri 8.30 am to 3.30 pm
BS EN ISO 9001 Registered Company No FM12671



















