kogan KASHTCWF18BA SmarterHome Ceiling Strip Radiant Heater

Product Information: KOGAN SMARTERHOMETM CEILING STRIP RADIANT HEATER
The Kogan SmarterHome Ceiling Strip Radiant Heater is a smart and efficient heating solution for your home. It is available in three models: KASHTCWF18BA, KASHTCWF24BA, and KASHTCWF30BA. This heater provides comfortable and uniform heating using radiant heat technology. It comes with a remote control for convenient operation and can be connected to the SmarterHomeTM app for advanced control and automation features. The heater also supports Google Home and Alexa for voice control.
Product Usage Instructions
Safety & Warnings
Before using the Kogan SmarterHome Ceiling Strip Radiant Heater, please read and follow these important safety notes:
- This appliance should not be disposed of with other household wastes. Please recycle it responsibly to promote sustainable reuse of material resources.
Components
The package includes the following components:
- Heater
- W Wall Bracket (x2)
- H Heater Bracket (x2)
- Remote
- Wing nut (x4)
- Expansion bolts (x4)
- Wing screws (x8)
Overview
The Kogan SmarterHome Ceiling Strip Radiant Heater consists of the following parts:
- Outer Cover
- Heating Plate
- Display
- Remote Control
Installation
Follow these steps to install the Kogan SmarterHome Ceiling Strip Radiant Heater:
- Remove the heater and all accessories from the packaging. Retain the packaging for future storage or transport.
- Place the heater with the curved side down on a stable, flat surface.
- Slide the 2 H heater brackets into the rails on the rear of the heater and space them according to your installation requirements (no more than 1000 mm apart).
- Determine the mounting location of the heater.
- Using the W wall brackets as a template, mark the location of the 4 holes for the expansion bolts.
- Remove the nuts and washers from the expansion bolts.
- Attach the W brackets to the mounting location using the expansion bolts and secure them in place using the previously removed nuts and washers.
- Connect the H and W brackets together and secure the heater in place using the 4 wing screws and 4 wing nuts.
Additional Mounting Options:
- Dual ceiling mounting: Two heaters can be mounted together from the ceiling using a dual mounting bracket (not supplied).
- Suspension mounting: If you have high ceilings, the heater can be mounted lower using a suspension mounting kit (not supplied).
Connect to SmarterHomeTM App
Follow these steps to connect the Kogan SmarterHome Ceiling Strip Radiant Heater to the SmarterHomeTM app:
- Download the Kogan SmarterHome app from the Play Store (Android) or App Store (iOS).
- If you already have a SmarterHome account, select ‘Log In’. To register a new account, select ‘Sign Up’.
- The system will automatically recognize your country. If needed, manually select your country from the drop-down box. Enter your email address and tap ‘Get Verification Code’ to continue.
- A 6-digit code will be sent to the submitted email address. Enter this code before the one-minute timer expires.
- Continue to the next page and complete your SmarterHome profile.
Set Device in Pairing Mode
To pair the device with the app, follow these steps:
- If the device is first turned on, it may automatically enter pairing mode (Wi-Fi indicator will be flashing rapidly). If not, you can manually set the device in pairing mode by pressing the switch button, high/low button, and up button in sequence.
Once the device is in pairing mode, you can add it to your network through the SmarterHomeTM app.
SAFETY & WARNINGS
Before First Use: Please read and carefully follow all the instructions provided in this document, even if you are familiar with the product. Keep the instructions in a safe place for future reference. Ensure the heater is fully installed before turning it on. Note that during the initial use of the heater, you may detect some smell and smoke, which is normal. This is caused by the burning off of protective oils used during production. Allow the appliance to heat up in a well-ventilated area, and the smell will dissipate over a short period.
Important Safety Notes:
- This heater does not come equipped with a device to control room temperature.
- Warning: To reduce the risk of fire, electrical shock, or injury to persons or property, always follow basic safety precautions when using any electrical product, including the following:
- Install the heater at a safe distance from furniture or other appliances and ensure it is securely affixed to the wall.
- The heater should be installed in a manner that prevents the controls from being touched by a person using a bath or shower.
- Consult a qualified electrician or service technician if the power cord becomes damaged.
- Always store the heater when not in use and ensure it has cooled down before storing.
- The heater should not be used if the occupant of the room is physically disabled or unable to control it without supervision.
- Use only the voltage specified on the heater’s rating plate.
- Do not cover the grilles or obstruct the airflow by placing the appliance against any surface. Keep all objects at least 1 meter away from the front, sides, and rear of the heater.
- Do not place the product near a radiant heat source.
- Do not use the heater in areas near where gasoline, paint, or other flammable liquids are used or stored.
- To avoid burns, do not touch any surface of the product when it is hot. Switch off the heater and allow it to cool before moving.
- Do not immerse the heater in liquid or allow water to enter its interior, as this can create an electrical shock hazard.
- Do not touch the appliance with wet hands.
- Do not attempt to repair this product yourself. If the product or its power supply malfunctions or is damaged, discontinue use immediately and contact
help.Kogan.com for support. - The most common cause of overheating is the accumulation of dust or fluff in the heater. Ensure that these deposits are regularly removed by unplugging the heater and vacuum cleaning the air vents and grilles.
- Do not use this product near a window, as rain may cause electric shock.
- Do not use any abrasive cleaning products. Clean with a cloth dampened (not wet) in soapy water.
- Do not use the product near a bath, shower, swimming pool, or other liquids.
- Do not use an extension cord with this product.
- Ensure that the cord does not come into contact with any heated surface during operation.
- Avoid running the power cord in areas where people may trip.
- Do not twist, kink, or warp the cord around the heater, as this may weaken and split the insulation. Always ensure that all cord is completely removed from any cord storage area.
- Do not store the heater while it is still hot.
- Do not use this appliance with any external timer, or any other device that automatically switches on the heater, as this may create a fire risk if the heater is covered or positioned incorrectly.
- The covers of this appliance are intended to protect direct access to the heating elements and must be in place when the appliance is in use.
- Use this product only as described in this user guide.
- This appliance is not intended for use by individuals (including children) with reduced physical, sensory, or mental capabilities or those lacking experience and knowledge, unless they have received supervision or instruction from a responsible person regarding the safe use of the appliance.
- Children should be supervised to ensure they do not play with the appliance.
- This appliance can be used by children aged 8 years and above, as well as individuals with reduced physical, sensory, or mental capabilities or lack of experience and knowledge, provided they have received supervision or instruction on safe usage and understand the associated hazards. Children should not play with the appliance, and cleaning and user maintenance should not be performed by children without supervision.
- Children under the age of 3 should be kept away from the appliance unless continuously supervised. Children aged 3 years and older but younger than 8 years should only operate the appliance by switching it ON/OFF if it has been placed or installed in its intended normal operating position, and they have received supervision or instruction on safe usage and understand the hazards involved. Children aged 3 years and younger than 8 years should not plug in, regulate, clean, or perform user maintenance on the appliance.
- CAUTION: Some parts of this product can become very hot and cause burns. Extra caution should be exercised when children and vulnerable individuals are present.
- If the supply cord is damaged, cease use immediately and contact help.Kogan.com for support.
Disposal
This marking indicates that this appliance should not be disposed with other house-hold wastes. To prevent possible harm to the environment or human health from uncontrolled waste disposal, recycle it responsibly to promote the sustainable reuse of material resources.
WARNING – KEEP BATTERIES OUT OF REACH OF CHILDREN •Swallowing may lead to serious injury or death in as little as 2 hours, due to chemical burns and potential perforation of the oesophagus.
- If you suspect your child has swallowed or inserted a button battery immediately call the 24-hour Poisons Information Centre on 13 11 26 (Australia) or 0800 764 766 (New Zealand) for fast, expert advice. Examine devices and make sure the battery compartment is correctly secured, e.g. that the screw or other mechanical fastener is tightened. Do not use if compartment is not secure.
- Dispose of used button batteries immediately and safely. Flat batteries can still be dangerous.
- Tell others about the risk associated with button batteries and how to keep their children safe.
COMPONENTS

OVERVIEW

Remote Control 
- Power button
- Temp adjustment button
- High /Low power button
- Switch button
- Set button
- Display button
Display

- Wi-Fi indicator
- Timer indicator
- LED number display
- Celsius/Fahrenheit
- Low power indicator
- High power indicator
INSTALLATION
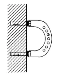
Attach the Brackets to the Heater
- Remove the heater and all accessories from the packing.
- If possible, retain the packaging in case storage or transport is required in future.
- Place the heater with the curved side down on a stable, flat surface.
- Slide the 2 “H” heater brackets into the rails on the rear of the heater and space them according to your installation requirements (no more than 1000 mm apart).

- Secure each bracket in place using 2 wing screws.

Mounting the Wall Brackets
This heater can be either mounted on a ceiling or on a wall.
- Ceiling mounting: Ensure there is a minimum distance of 200mm between the heater and any walls.

- Wall mounting: When mounting the strip heater on a wall, ensure that there is a minimum distance of at least 2200mm from the floor and 200mm from both the ceiling and adjacent walls.

- Determine the mounting location of the heater.
- Using the “W” wall brackets as a template, mark the location of the 4 holes for the expansion bolts. Note: Ensure the distance between the “W” brackets matches distance between the “H” brackets on the heater.
- Remove the nuts and washers from the expansion bolts.
- Attach the “W” brackets to mounting location using the expansion bolts and secure it place using the previously removed nuts and washers.

Mounting the Heater
Connect the “H” and “W” brackets together and secure the heater in place using the 4 wing screws and 4 wing nuts.

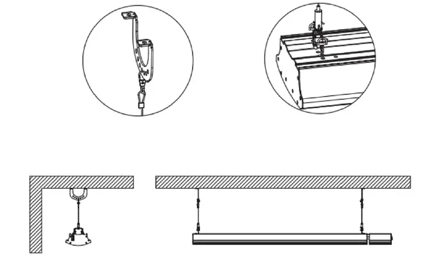
Additional Mounting Options
Dual ceiling mounting:
Two heaters can be mounted together from the ceiling using a dual mounting bracket (not supplied).

Suspension mounting:
If you have high ceilings, the heater can be mounted lower using a suspension mounting kit (not supplied).

CONNECT TO SMARTERHOME™ APP
Install App
Download the “Kogan SmarterHome” app from the Play Store (Android) or App Store (iOS).

To register:
- If you already have a SmarterHome account, select ‘Log In’. To register a new account, select ‘Sign Up’.
- The system will automatically recognise your country. If needed, you can manually select your country from the drop-down box. Enter your email address and tap
‘Get Verification Code’ to continue. - A 6-digit code will be sent to the submitted email address. Enter this code before the one-minute timer expires.
- Continue to the next page and complete your SmarterHome profile.

Set device in pairing mode
When the device is first turned on, it may automatically enter pairing mode (Wi-Fi indicator will be flashing rapidly).
If not automatically in pairing mode when powered on, you can manually set the device in pairing mode by pressing the switch button, high/low button and up button in sequence.
Add device through network
- Once registered, tap “Add Device” on the app’s home page, or the “+” in the upper right corner, to add a new device through the network.
- Select the product type from the list of options in the app (Heating & Cooling > Heaters).
- Enter your Wi-Fi details. It is important that your SmarterHome™ device and the app are connected to the same Wi-Fi network during setup.

Notes:
- The device and the app have to use the same Wi-Fi network.
- The device is only compatible with 2.4Ghz networks.
- Depending on the product, Steps 3 and 4 may be in opposite order.
- Ensure that the device is in pairing mode, with the Wi-Fi indicator flashing rapidly, and tap “Next”.
- The device will commence the pairing process and connect to the app. Ensure your Wi-Fi router, mobile phone, and the SmarterHome™ device are kept close until connection is complete.
- After successfully being added, you will have the option to rename the device and assign it to a location. It will now be listed on the app’s home page. Tap the device listing to enter its control page.

Note:
Once connected, you can select Create Scene from the “+” in the upper right corner (or from the Scene tab) to group connected SmarterHome™ products and automate their functions.
GOOGLE HOME CONTROL
Note:
You will need to have set up a Google Home account prior to linking your Kogan SmarterHome™ device.
Adding “SmarterHome” to the Google Home app
- From the home page of the Google Home app, select the “+” icon (top left corner, see arrow in the below screenshot) to access the ‘Add and manage’ page.
- Select ‘Set up device’, then select the ‘Works with Google’ option.

- Select the search bar and type ‘Smarter Home’ to locate the Kogan SmarterHome™ service.
- From here, you will be prompted to sign into your SmarterHome™ account using either your email or mobile phone number, depending on which method you used to register your account.
- Select “Kogan SmarterHome™” from the app options.

- Tap ‘Authorise’ to grant Google permission to access the SmarterHome™ app and your devices.
- Once connected, the app will display any compatible devices linked to your SmarterHome™ account. From here you can assign them to rooms and set up any routines. Tap on any of the devices to view a list of available commands.

Note:
Please note that Google Home can only control the base/core functions of any compatible SmarterHome™ devices. To make full use of this product’s smart functionality, please use the Kogan SmarterHome™ app.
AMAZON ALEXA CONTROL
Note:
You will need to have set up an Alexa account prior to linking your Kogan SmarterHome™ device.
Adding “SmarterHome” to the Alexa app
- From the home page of the Alexa app, select the “ ” icon in the bottom-right and select “Skills & Games” from the sidebar.
- Select the search bar and type ‘Smarter Home’ to locate the Kogan SmarterHome™ skill.

- Tap ‘Enable to Use’ to add the Kogan SmarterHome™ skill to Alexa.
- From here, you will be prompted to sign into your SmarterHome™ account using either your email or mobile phone number, depending on which method you used to register your account.
- Select “Kogan SmarterHome™” from the app options.

- Tap ‘Authorise’ to grant Alexa permission to access the SmarterHome™ app and your devices.
- Once connected, the app will perform a search and display the devices linked to your SmarterHome™ account. When your devices have successfully connected to the Alexa app, you will be able to control your Kogan SmarterHome™ devices via Alexa’s voice commands.

Note:
Please note that Alexa can only control the base/core functions of any compatible SmarterHome™ devices. To make full use of this product’s smart functionality, please use the Kogan SmarterHome™ app.
OPERATION
Turning the Heater On/Off
- Connect the power cord to an electrical outlet and place the power switch on the heater in the ON position. The heater is now in standby.
- Press the power button on the remote to turn on the heater. The ambient temperature will be displayed. If the ambient temperature is lower than the preset temperature, the heater will automatically turn on and begin heating the room.
- Press the Power button on the remote to return the heater to standby.
- Place the Power switch in the off position to turn it off completely.
Child Lock
- Press the switch and the power buttons simultaneously to enable the child lock. The “*” indicator will illuminate.
- When enable, all button inputs will be invalid
- To disable the child lock, press the switch and the power buttons simultaneously again.
Display
Press the Display button on the remote to toggle the display on/off.
High/Low Power Mode Selection
Press the “
” button on the remote to toggle between high and low power modes.
| Mode | Description |
| Low | The heater’s power consumption will be reduced, but it will require a longer time to reach the desired temperature. |
| High | In high power mode, the heater will consume more power, allowing it to reach the desired temperature more quickly. |
Temperature Setting
- Press the set button first to enter the temperature setting mode. Use the up and down buttons to select the desired temperature (5–45°C).
- The selected temperature will be set when there is no input for 5 seconds.
Timer Setting
- With a timer set, the heater will turn off automatically once the set time has been reached.
- Press the set button twice to enter the timer setting mode. Use the up and down buttons to select the desired timer (1-24 hours).
- The current timer setting will be accepted when there is no input for 5 seconds.
Window Detection
- If the temperature decreases by 3°C or more within 2 minutes, the Window Detection feature will be enabled and the heater will stop heating. The temperature indicator will flash.
- To restore normal operation, use the power button to turn the heater off, then turn it on again after a few seconds.
Wi-Fi Reset
- During operation, press the switch button, high/low button and up button in sequence.
- Wi-Fi will now be reset, and the Wi-Fi indicator will be begin flashing rapidly.
- Connect the heater to the Kogan SmarterHome™ app following the steps from the “Connect To SmarterHome™ App” section of this user guide.
Temperature Unit
During operation, press the switch button, high/low button and down button in sequence to swap between Celsius and Fahrenheit.
Need more information?
We hope that this user guide has given you the assistance needed for a simple set-up.
For the most up-to-date guide for your product, as well as any additional assistance you may require, head online to help.kogan.com

























