
QUICK START GUIDE

Ice Makers • 115 V / 60 Hz & 220-240 V / Hz
230V Marine Series 14 Inch Stainless Solid Ice Maker
WELCOME TO U-LINE
Congratulations on your U-Line purchase. Your product comes from a company with over five decades of premium modular ice making, refrigeration, and wine preservation experience. U-Line continues to be the American leader, delivering versatility and flexibility for multiple applications including residential, light commercial, outdoor and marine use. U-Line’s complete product collection includes Wine Captain® Models, Beverage Centers, Clear Ice Machines, Nugget Ice Machines, Crescent Ice Makers, Glass & Solid Door Refrigerators, Drawer Models, Freezers, Combo® Models, and more.
U-Line has captivated those with an appreciation for the finer things with exceptional functionality, style, inspired innovations and attention to even the smallest details. We are known and respected for our unwavering dedication to product design, quality and selection. U-Line is headquartered in Milwaukee, Wisconsin and has shipped product to five continents for over two decades and is proud to have the opportunity to ship to you. U-Line – RIGHT PRODUCT. RIGHT PLACE. RIGHT TEMPERATURE®.
PRODUCT INFORMATION
Looking for additional information on your product? User Guides, Spec Sheets, CAD Drawings, Compliance Documentation, and Product Warranty information are all available for reference and download at u-line.com.
PROPERTY DAMAGE / INJURY CONCERNS
In the unlikely event property damage or personal injury is suspected related to a U-Line product, please take the following steps:
- U-Line Customer Care must be contacted immediately at +1.414.354.0300.
- Service or repairs performed on the unit without prior written approval from U-Line is not permitted. If the unit has been altered or repaired in the field without prior written approval from U-Line, claims will not be eligible.
GENERAL INQUIRIES
U-Line Corporation
8900 N. 55th Street
Milwaukee, Wisconsin 53223 USA
Monday – Friday 8:00 am to 4:30 pm CST
T: +1.414.354.0300
Email: [email protected] u-line.com
SERVICE & PARTS ASSISTANCE
Monday – Friday 8:00 am to 4:30 pm CST
T: +1.414.354.0300
Service Email: [email protected]
Parts Email: [email protected]
CONNECT WITH US
![]()
Designed, engineered and assembled in WI, USA
This Quick Start Guide covers the basics of installation and general use of your product. For more details, see the complete User Guide & Service Manual on u-line.com.
![]()
This product is eligible for an additional one-year warranty at no charge when you register your product on u-line.com.
See complete warranty for details.
Safety and Warning
NOTICE
PLEASE READ all instructions before installing, operating, or servicing the appliance.
SAFETY ALERT DEFINITIONS
Throughout this guide are safety items labeled with a Danger, Warning or Caution based on the risk type:
DANGER
Danger means that failure to follow this safety statement will result in severe personal injury or death.
WARNING
Warning means that failure to follow this safety statement could result in serious personal injury or death.
CAUTION
Caution means that failure to follow this safety statement may result in minor or moderate personal injury, property or equipment damage.
GENERAL PRECAUTIONS
Use this appliance for its intended purpose only and follow these general precautions with those listed throughout this guide.
This appliance is not intended for use by persons (including children) with reduced physical, sensory or mental capabilities, or lack of experience or knowledge, unless they have been given supervision or instruction concerning use of the appliance by a person responsible for their safety. Children should be supervised to ensure that they do not play with this appliance. Cleaning and user maintenance shall not be performed by children without supervision.
DANGER
Do not use electrical appliances inside the food storage compartment of this appliance.
WARNING
Keep ventilation openings in the appliance enclosure or in the built in structure clear of obstruction.
WARNING
Do not store explosive substances such as aerosol cans with flammable propellant in this appliance.
WARNING
Requirement for an external switch in the fixed wiring is specified.
WARNING
To avoid a hazard due to instability of the appliance, it must be fixed in accordance with the instructions.
CALIFORNIA PROPOSITION 65
This product contains chemicals known to the state of California to cause cancer and birth defects or other reproductive harm.
www.P65warnings.CA.gov
CAUTION
Use care when moving and handling the unit. Use gloves to prevent personal injury from sharp edges.
If your model requires defrosting, DO NOT use medical devices or other means to accelerate the defrosting process. DO NOT use an ice pick or other sharp instrument to help speed up defrosting. These instruments can puncture the inner lining or damage the cooling unit. DO NOT use any type of heater to defrost. Using a heater to speed up defrosting can cause personal injury and damage to the inner lining.
NOTICE
Do not lift unit by door handle.
Never install or operate the unit behind closed doors. Be sure front grille (plinth strip/base fascia) is free of obstruction. Obstructing free airflow can cause the unit to malfunction and will void the warranty.
Failure to clean the condenser every six months can cause the unit to malfunction. This could void the warranty.
Allow unit temperature to stabilize for 24 hours before use.
Do not block any internal fans.
Use only genuine U-Line replacement parts. Imitation parts can damage the unit, affect its operation or performance and may void the warranty.
This appliance is intended to be used in household and similar applications such as:
- Staff kitchen areas in shops, office and other working environments.
- Farm houses and by clients in hotels, motels and other residential type environments.
- Bed and breakfast type environments.
- Catering and similar non-retail applications.
Environmental Requirements
115 V UNITS This model is intended for indoor/interior applications only and is not to be used in installations that are open/ exposed to natural elements.
This unit is designed to operate between 50°F (10°C) and 100°F (38°C). Higher ambient temperatures may reduce the unit’s ability to reach low temperatures and/or reduce ice production on applicable models.
For best performance, keep the unit out of direct sunlight and away from heat generating equipment.
In climates where high humidity and dew points are present, condensation may appear on outside surfaces. This is considered normal. The condensation will evaporate when the humidity drops.
CAUTION
Damages caused by ambient temperatures of 40°F (4°C) or below are not covered by the warranty.
220-240 V UNITS
This model is intended for indoor/interior applications only and is not to be used in installations that are open/ exposed to natural elements.
This unit is designed to operate between 50°F (10°C) and 90°F (32°C). Higher ambient temperatures may reduce the unit’s ability to reach low temperatures and/or reduce ice production on applicable models.
For best performance, keep the unit out of direct sunlight and away from heat generating equipment.
In climates where high humidity and dew points are present, condensation may appear on outside surfaces. This is considered normal. The condensation will evaporate when the humidity drops.
CAUTION
Damages caused by ambient temperatures of 40°F (4°C) or below are not covered by the warranty.
OUTDOOR UNITS
This unit is designed to operate between 50°F (10°C) and 100°F (38°C). Higher ambient temperatures may reduce the unit’s ability to reach low temperatures and/or reduce ice production on applicable models.
For best performance, keep the unit out of direct sunlight and away from heat generating equipment.
In climates where high humidity and dew points are present, condensation may appear on outside surfaces. This is considered normal. The condensation will evaporate when the humidity drops.
CAUTION
Damages caused by ambient temperatures of 40°F (4°C) or below are not covered by the warranty.
Electrical
115 V UNITS
WARNING
SHOCK HAZARD — Electrical Grounding Required. Never attempt to repair or perform maintenance on the unit until the electricity has been disconnected.
Never remove the round grounding prong from the plug and never use a two-prong grounding adapter.
Altering, cutting or removing power cord, removing power plug, or direct wiring can cause serious injury, fire, loss of property and/or life, and will void the warranty.
Never use an extension cord to connect power to the unit.
Always keep your working area dry.
NOTICE
Electrical installation must observe all state and local codes. This unit requires connection to a grounded (three-prong), polarized receptacle that has been placed by a qualified electrician.
The unit requires a grounded and polarized 115 VAC, 60 Hz, 15A power supply (normal household current). An individual, properly grounded branch circuit or circuit breaker is recommended. A GFCI (ground fault circuit interrupter) is usually not required for fixed location appliances and is not recommended for your unit because it could be prone to nuisance tripping. However, be sure to consult your local codes.
220-240 V UNITS
WARNING
SHOCK HAZARD — Electrical Grounding Required. Never attempt to repair or perform maintenance on the unit until the electricity has been disconnected.
Never remove the round grounding prong from the plug and never use a two-prong grounding adapter.
Altering, cutting or removing power cord, removing power plug, or direct wiring can cause serious injury, fire, loss of property and/or life, and will void the warranty.
Never use an extension cord to connect power to the unit.
Always keep your working area dry.
If the detachable type electric supply cord is damaged, it must be replaced by an equivalent cord available from the manufacturer or its service agent.
NOTICE
Electrical installation must observe all state and local codes. This unit requires connection to a grounded (three-prong), polarized receptacle that has been placed by a qualified electrician.
The unit requires a grounded and polarized 230 VAC, 50 Hz, 8A power supply (normal household current). An individual, properly grounded branch circuit or circuit breaker is recommended. A GFCI (ground fault circuit interrupter) is usually not required for fixed location appliances and is not recommended for your unit because it could be prone to nuisance tripping. However, be sure to consult your local codes.
Water Hookup
FRONT MOUNTED VALVE
PREPARE PLUMBING
The water valve uses a standard 1/4″ (6.35 mm) compression fitting. U-Line recommends using accessory water hook up kit part # WATERHOOKUP. The kit includes a 10′ (3 m) braided flexible water supply line and a brass hose fitting. When using a 1/4″ (6.35 mm) O.D. soft copper supply line use the brass nut and sleeve included with 220 – 240V models.
CAUTION
Plumbing installation must observe all state and local codes. All water and drain connections MUST BE made by a licensed/qualified plumbing contractor. Failure to follow recommendations and instructions may result in damage and/or harm.
Water Supply Connection
When connecting the water supply, please note the following:
- Before installing the unit and connecting to the cold water supply, review the local plumbing codes.
- The water pressure should be between 20 and 120 psi (138 and 827 kPa).
- The water line MUST have a shut-off valve in the supply line.
- The water line should be looped into 2 coils. This will allow the unit to be removed for cleaning and servicing. Make certain that the tubing is not pinched or damaged during installation.
WARNING
Connect to potable water supply only.
CAUTION
Do not use any plastic water supply line. The line is under pressure at all times. Plastic may crack or rupture with age and cause damage to your home.
Do not use tape or joint compound when attaching a braided flexible water supply line that includes a rubber gasket. The gasket provides an adequate seal other materials could cause blockage of the valve.
Failure to follow recommendations and instructions may result in damage and/or harm, flooding or void the product warranty.
Use new hose set. Do not reuse old hose set.
CAUTION
Turn off water supply and disconnect electrical supply to unit prior to installation.
Use caution when handling back panel. The edges could be sharp.
- Turn off water supply and disconnect electrical supply to product prior to attempting installation.
- Remove the grille (plinth strip/base fascia) and access panel (if equipped) along with back panel.
- Locate water valve in the front of the unit and thread water supply line through.
NOTICE
Route the water supply line through the unit so it does not come into contact with any internal components other than the solenoid valve. Normal operation creates some vibration. A water supply line contacting an internal component or cabinet wall can cause excessive noise during operation or damage to the line. - On the back panel, break away filler feature in bushing with flat screwdriver.

- Thread water line through back panel hole (with bushing).

- Turn on water supply and check for leaks.
- Reinstall the grille (plinth strip/base fascia) and access panel (if equipped) along with the back panel.

- Install retaining clip.
REAR MOUNTED VALVE PREPARE PLUMBING
The water valve uses a standard 1/4″ (6.35 mm) compression fitting. U-Line recommends using accessory water hook up kit part # WATERHOOKUP. The kit includes a 10′ (3 m) braided flexible water supply line and a brass hose fitting. When using a 1/4″ (6.35 mm) O.D. soft copper supply line use the brass nut and sleeve included with 220 – 240V models.
CAUTION
Plumbing installation must observe all state and local codes. All water and drain connections MUST BE made by a licensed/qualified plumbing contractor. Failure to follow recommendations and instructions may result in damage and/or harm.
Water Supply Connection
When connecting the water supply, please note the following:
- Before installing the unit and connecting to the cold water supply, review the local plumbing codes.
- The water pressure should be between 20 and 120 psi (138 and 827 kPa).
- The water line MUST have a shut-off valve in the supply line.
- The water line should be looped into 2 coils. This will allow the unit to be removed for cleaning and servicing. Make certain that the tubing is not pinched or damaged during installation.
WARNING
Connect to potable water supply only.
CAUTION
Do not use any plastic water supply line. The line is under pressure at all times. Plastic may crack or rupture with age and cause damage to your home.
Do not use tape or joint compound when attaching a braided flexible water supply line that includes a rubber gasket. The gasket provides an adequate seal other materials could cause blockage of the valve.
Failure to follow recommendations and instructions may result in damage and/or harm, flooding or void the product warranty.
Use new hose set. Do not reuse old hose set.
CAUTION
Turn off water supply and disconnect electrical supply to unit prior to installation.
Use caution when handling back panel. The edges could be sharp.
- Turn off water supply and disconnect electrical supply to product prior to attempting installation.
- Remove the back panel.
- Locate water valve inlet.

- Break away filler feature in bushing with flat screwdriver.

- Thread water line through back panel hole (with bushing).

- Locate water valve inlet and connect to valve.
- Turn on water supply and check for leaks.
- Reinstall back panel.
- Install retaining clip.
Door Swing
1200 SERIES

Units have a zero clearance for the door to open 90°, when installed adjacent to cabinets.
Stainless Steel and black and white models require 2-1/8″ (54 mm) door clearance to accommodate the handle if installed next to a wall.
Integrated models require 1/4″ (6 mm) clearance if installed next to a wall. Allow for additional space for any knobs or pulls installed on the integrated panel/frame.
BI SERIES
All units have a zero clearance for the door to open 90°. U-Line recommends a minimum door clearance of 1/4″ (6 mm) to accommodate the handle if the unit is installed next to a wall.

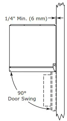
MARINE SERIES
All units have a zero clearance for the door to open 90°. U-Line recommends a minimum door clearance of 3/4″ (19 mm) to accommodate the handle if the unit is installed next to a wall or similar type of structure.

Door Adjustments
DOOR ALIGNMENT AND ADJUSTMENT ADA15IM Models
Align and adjust the door if it is not level or is not sealing properly. If the door is not sealed, the unit may not cool properly, or excessive frost may form in the interior.
Properly aligned, the door’s gasket should be firmly in contact with the cabinet all the way around the door (no gaps). Carefully examine the door’s gasket to ensure that it is firmly in contact with the cabinet. Also make sure the door gasket is not pinched on the hinge side of the door.
To align and adjust the door:
- Loosen (do not remove) top and bottom hinge screws using a Torx T-25 screwdriver on the top and a 1/4″ socket on the bottom.
- Align door squarely with cabinet.
- Make sure gasket is firmly in contact with cabinet all the way around the door (no gaps).
- Tighten bottom hinge screws.
- Tighten top hinge screws.
REVERSING THE DOOR
Location of the unit may make it desirable to mount the door on the opposite side of the cabinet.
Locate top hinge supplied in literature package. The hinge hardware and bottom hinge will be removed and reinstalled on the opposite side of the cabinet.

TO REVERSE THE DOOR
Remove grille:
Remove the grille (see GRILLE-PLINTH INSTALLATION section of this guide).
Remove top hinge and door:
- Hold door to keep it from falling.
- Remove top hinge from cabinet using a Torx T-25 screwdriver to remove three screws. Set aside and save for possible future use.

- Remove door by tilting forward and lifting door off bottom hinge. Retain shoulder washers; they will be reused.
- Remove three screws from hinge holes on the opposite side using a Torx T-25 screwdriver. Reinstall into holes where the hinge was removed. Take care not to scratch cabinet.
Remove bottom hinge:
- Remove bottom hinge from cabinet using 1/4″ socket.

- Remove top hinge from cabinet using a Torx T-25 screwdriver to remove three screws. Set aside and save for possible future use.
- Remove corresponding screws on opposite side of cabinet. On some models there may be a nut behind one or both screws on either side.
Install bottom hinge:
Install two or three screws, depending on model. Replace nuts if used.

Prepare door for reinstallation:
- Remove gasket. This will reveal mounting holes for the magnet assembly
- Remove magnet assembly from door with T-10 TORX driver. Be sure to only remove the two screws holding the assembly to the door. Reinstall on the opposite end of the door
- Rotate gasket 180°, aligning notch with magnet assembly and pressing firmly into the gasket channel starting at the corners.
- Rotate door 180° to reverse.
Install top hinge and door:
- Use alternate hinge supplied with unit and reinstall the screws. Do not tighten.

- Lift the door on to the bottom hinge.
- Align flat edge of the hinge with the outer edge of the unit.
- Tighten three screws.
Align and adjust the door:
Align and adjust the door (see DOOR ALIGNMENT AND ADJUSTMENT).
Install grille
DOOR ALIGNMENT AND ADJUSTMENT
BI1215 and Marine Models
Align and adjust the door if it is not level or is not sealing properly. If the door is not sealed, the unit may not cool properly, or excessive frost may form in the interior.
Properly aligned, the door’s gasket should be firmly in contact with the cabinet all the way around the door (no gaps). Carefully examine the door’s gasket to ensure that it is firmly in contact with the cabinet. Also make sure the door gasket is not pinched on the hinge side of the door.
To align and adjust the door:
- Loosen (do not remove) top and bottom hinge screws using a Torx T-25 screwdriver on the top and a 1/4” socket on the bottom.
- Align door squarely with cabinet.
- Make sure gasket is firmly in contact with cabinet all the way around the door (no gaps).
- Tighten bottom hinge screws.
- Tighten top hinge screws.
REVERSING THE DOOR
Location of the unit may make it desirable to mount the door on the opposite side of the cabinet.
The hinge hardware will be removed and reinstalled on the opposite side of the cabinet.
(If the unit has a flat hinge, use a Phillips screwdriver to remove hinge pin and reinstall on opposite surface of the hinge.)

TO REVERSE THE DOOR
Remove grille:
Remove the grille (see GRILLE-PLINTH INSTALLATION section of this guide).
Remove top hinge and door:
- Hold door to keep it from falling.
- Remove top hinge from cabinet using a Torx T-25 screwdriver to remove three screws. Set aside and save for possible future use.

- Remove door by tilting forward and lifting door off bottom hinge. Retain shoulder washers; they will be reused.
- Remove three screws from hinge holes on the opposite side. Reinstall into holes where the hinge was removed. Take care not to scratch cabinet.
Remove bottom hinge:
- Remove bottom hinge from cabinet using 1/4” socket.

- Remove corresponding screws on opposite side of cabinet. On some models there may be a nut behind one or both screws on either side.
Install bottom hinge:
Install two or three screws, depending on model. Replace nuts if used.

Install top hinge and door:
- Use alternate hinge supplied with unit and reinstall the screws. Do not tighten..

- Rotate door 180° to reverse and set the door onto the bottom hinge.
- Align flat edge of the hinge with the outer edge of the unit.
- Tighten three screws.
Align and adjust the door:
Align and adjust the door (see DOOR ALIGNMENT AND ADJUSTMENT).
Install grille
Door Latch
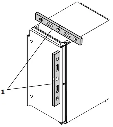
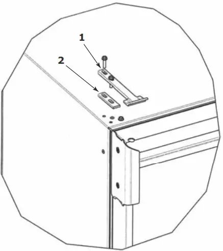
MARINE MODELS
The door latch assembly included with your unit can be installed to prevent the door from opening when the vehicle is in motion.
To install, perform the following:
- Remove the two outer most screws from the non-hinge side.
- Place spacer (2) over mounting holes. Place latch (1) on top of spacer (2). NOTE: Spacer (2) only required if included with unit.
- Re-install the screws, but do not tighten all the way.
- Verify door latch engagement and adjust as necessary.
- Tighten screws.
Door latch can be used to prop door open approximately 1/2″ (13 mm) when unit is not in use.
General Installation
MARINE AND BI SERIES
LEVELING INFORMATION
NOTICE
Because these units do not have leveling legs, it is extremely important that they sit on a level surface. If they are not level, the ice mold will not fill evenly.
Use a level to confirm the unit is level. Level should be placed along top edge and side edge as shown.
INSTALLATION
- Plug in the power/electrical cord.

- Gently push the unit into position. Be careful not to entangle the cord and water line.
- Re-check the leveling, from front to back and side to side. Make any necessary adjustments.
- Remove the interior packing material and wipe out the inside of the unit with a clean, water-dampened cloth.
1200 SERIES
LEVELING INFORMATION
- Use a level to confirm the unit is level. Level should be placed along top edge and side edge as shown.

- If the unit is not level, adjust the legs on the corners of the unit as necessary.

- Confirm the unit is level after each adjustment and repeat the previous steps until the unit is level.
INSTALLATION TIP
If the room floor is higher than the floor in the cutout opening, adjust the rear legs to achieve a total unit rear height of 1/8″ (3 mm) less than the opening’s rear height. Shorten the unit height in the front by adjusting the front legs. This allows the unit to be gently tipped into the opening. Readjust the front legs to level the unit after it is correctly positioned in the opening.
INSTALLATION
- Plug in the power/electrical cord.
- Gently push the unit into position. Be careful not to kink the water supply line or entangle the cord.
- Re-check the leveling, from front to back and side to side. Make any necessary adjustments. The unit’s top surface should be approximately 1/8″ (3 mm) below the countertop.
- Install the anti-tip bracket.
- Remove interior packing material and wipe out the inside of the unit with a clean, water-dampened cloth.
Integrated Panel Installation
MARINE AND BI95/BI98
This model accepts a 1/4″ insert panel.
INSERT PANEL INSTALLATION
Install the insert as follows:
CAUTION
Use care when handling the insert. Insert edges may be sharp.
- Remove top hinge screw pin with Phillips head screwdriver.
Remove door by tilting forward and lifting off bottom hinge pin.
- Pull door gasket out of groove (top edge of door only). Start in the middle and pull outward, moving toward the edge. This may take some force.

- Remove two outside screws holding door handle. Slightly separate door handle from door.

- Pull handle up and off.
- Slide custom door panel insert into 1/4″ (6 mm) channel in door front.
NOTICE
Use care not to damage magnet, located on door bottom when installing door insert. Do not set door on bottom edge when pushing insert into place. - Holding door gasket out of the way, replace handle on door, making sure it is seated properly on insert and that screw holes line up.
- Install two small screws removed in Step 3.
- Starting at the corners and working inward, push door gasket into place on door.
- Place door on bottom hinge pin and install upper hinge screw.
CRESCENT ICE MAKERS AND ADA15IM
- Fully open door/drawer.

- Starting at corner, pull gasket away from door/drawer.
- Continue to pull gasket free from gasket channel.
- Upon removal, lay gasket down on a flat surface.
- Partially loosen the 3 screws, securing the top hinge to the cabinet.
- Align the panel with the outside edge (opposite the hinge) and high enough to align with the highest point in the door/drawer.
- Insert panel underneath top hinge and apply upward pressure while bringing the lower portion of the panel flush to the door inside the lower hinge. The panel will fit snuggly
- Align door with cabinet. Tighten the top 3 screws, securing the top hinge to the cabinet.
Due to differences in floor construction or surrounding cabinetry, the panel may not sit flush with the top of the door/drawer.
- Secure integrated panel to door/drawer using clamps. A robust tape may also be used. U-Line recommends the use of bar clamps to secure the panel to the door/drawer. If using tape, be certain the tape will not damage panel finish upon removal.

- Using a 7/64″ (3 mm) drill bit, drill 6 pilot holes into the wood panel 1/2″ (12 mm) deep using the holes in the door/drawer frame as a guide.
It is important to ensure that all drilled holes are drilled to the correct depth in order to avoid splits in the wood when hardwood is installed. - Locate 6 of the #6x 1-1/4″ (32 mm) screws provided with your unit.
- Using a Phillips screwdriver, place one screw into each of the 6 pilot holes and screw down. Do not over tighten screws.
- Be sure the screws force their way past the opening on the gasket channel and sit flush against the bottom of the channel.

- Remove clamps from door/drawer.
If panel requires additional adjustment after If panel requires additional adjustment after removing clamps, slightly loosen each screw and adjust panel as necessary. Tighten screws upon
completion. - Starting at the corners, re-install the gasket into the gasket channel in the frame. Make sure the gasket is fully seated. This may take some force.
First Use
All U-Line controls are preset at the factory. Initial startup requires no adjustments.
NOTICE
U-Line recommends discarding the ice produced during the first two to three hours of operation to avoid possible dirt or scale that may dislodge from the water line.
To turn the unit on or off:
Press the rocker switch located inside the door on the front panel, or behind the grille.
Defrost
This unit requires manual defrost, periodically.
Inspect the interior walls for frost build up every 3 – 4 weeks. Defrost your unit when 1/4” of frost builds up on the interior walls. Frost will build up faster in humid environments and when the door is opened frequently.
To defrost, remove ice bucket, turn off unit, leave door open, and allow frost/ice to melt naturally. Do not use tools to chip or scrape the frost as it may damage your unit. Use a towel to absorb melting frost/ice. Before turning the unit back on, make sure all the frost is gone and the unit is dry.
Ice
ICE MAKER OPERATION
When the ice bucket is full, the ice making mechanism will Shut off. However, the refrigeration system will continue to cool and maintain the ice supply.
NOTICE
Do not place cans or bottles in the ice compartment because they will freeze.

To turn off ice production: Raise the bin arm into an upright and locked position. The unit will preserve temperature for ice storage.
NOTICE
If not intending to use the ice maker, turn the water supply valve off. It is also important to raise the bin arm of the ice maker (see above).
Failure to raise the bin arm may result in damage to the water valve.
Certain sounds are normal during the unit’s operation. You may hear the compressor or fan motor, the water valve, or ice dropping into the ice bucket.
CAUTION
NEVER use an ice pick, knife or other sharp instrument to separate cubes. Shake the ice bucket instead.
During periods of limited use or high ambient temperatures, it is common for cubes to fuse together.
Gently shake the bucket to break apart cubes. If not using the ice maker regularly, empty the ice bucket periodically to ensure fresh cubes.
It is normal for cubes to appear cloudy. The cause is air trapped in the water because of fast freezing. It is not caused by the health, taste or chemical make up of the water. It is the same air that is in every glass of water you drink.
Remove the ice bucket for emptying and cleaning. To remove the ice bucket, raise the bin arm and remove the bucket from the ice compartment. Use the ice bucket for ice storage only.
For parts and service assistance, or to find U-Line factory authorized service near you, contact U-Line:
8900 N. 55″ Street, Milwaukee, WI 53223 ¢ u-line.com
[email protected] « +1.800.779.2547
U-Line Corporation (U-Line) Limited Warranty
One Year Limited Warranty
For one year from the date of original purchase, this warranty covers all parts and labor to repair or replace any part of the product that proves to be defective in materials or workmanship. For products installed and used for normal residential use, material cosmetic defects are included in this warranty, with coverage limited to 60 days from the date of original purchase. All service provided by U-Line under the above warranty must be performed by a U-Line factory authorized servicer, unless otherwise specified by U-Line. Service provided during normal business hours.
Two Year Limited Warranty (5 Class Product)
For two years from the date of original purchase, this warranty covers all parts and labor to repair or replace any part of the product that proves to be defective in materials or workmanship. For products installed and used for normal residential use, material cosmetic defects are included in this warranty, with coverage limited to 60 days from the date of original purchase. All service provided by U-Line under the above warranty must be performed by a U-Line factory authorized servicer, unless otherwise specified by U-Line. Service provided during normal business hours.
Available Second & Third Year Limited Warranty
In addition to the standard one and two year warranties outlined above, U-Line offers a one year extension of the warranties from the date of purchase, free of charge. To take advantage of this extension, you must register your product with U-Line within 60 days from the date of purchase at u-line.com and provide proof of purchase.
Five Year Sealed System Limited Warranty
For five years from the date of original purchase, U-Line will repair or replace the following parts, labor not included, that prove to be defective in materials or workmanship: compressor, condenser, evaporator, drier, and all connecting tubing. All service provided by U-Line under the above warranty must be performed by a U-Line factory authorized servicer, unless otherwise specified by U-Line. Service provided during normal business hours.
Terms
These warranties apply only to products installed in any one of the fifty states of the United States, the District of Columbia, or the ten provinces of Canada. The warranties do not cover any parts or labor to correct any defect caused by negligence, accident or improper use, maintenance, installation, service, repair, acts of God, fire, flood or other natural disasters. The product must be installed, operated, and maintained in accordance with your product’s User Guide.
The remedies described above for each warranty are the only ones that U-Line will provide, either under these warranties or under any warranty arising by operation of law. U-Line will not be responsible for any consequential or incidental damages arising from the breach of these warranties or any other warranty, whether express, implied, or statutory. Some states do not allow the exclusion or limitation of incidental or consequential damages, so the above limitation or exclusion may not apply to you. These warranties give you specific legal rights, and you may also have other rights which vary from state to state.
Any warranty that may be implied in connection with your purchase or use of the product, including any warranty of merchantability or any warranty fit for a particular purpose is limited to the duration of these warranties, and only extends to five years in duration for the parts described in the section related to the five year limited warranty above. Some states do not allow limitations on how long an implied warranty lasts, so the above limitations may not apply to you.
- The warranties only apply to the original purchaser and are non-transferable.
- The second, third, and five year warranties cover products installed and used for normal residential or designated marine use only.
- The warranties apply to units operated outside only if designed for outdoor use by model and serial number.
- U-Line Commercial products are covered by the one year and 5 year limited warranties and are not eligible for the second and third year limited warranties.
- Replacement water filters, light bulbs, and other consumable parts are not covered by these warranties.
- The start of U-Line’s obligation is limited to four years after the shipment date from U-Line.
- In-home instruction on how to use your product is not covered by these warranties.
- Food, beverage, and medicine loss are not covered by these warranties.
- If the product is located in an area where U-Line factory authorized service is not available, you may be responsible for a trip charge or you may be required to bring the product to a U-Line factory authorized service location at your own cost and expense.
- Units purchased after use as floor displays, and/or certified reconditioned units, are covered by the limited one year warranty only and no coverage is provided for cosmetic defects.
- Signal issues related to Wi-Fi connectivity are not covered by these warranties.
For parts and service assistance, or to find U-Line factory authorized service near you, contact U-Line:
8900 N. 55th Street, Milwaukee, WI 53223 • u-line.com • [email protected] • +1.800.779.2547
Copyright © 2020 U-Line Corporation. All Rights Reserved. | Publication Number 30379 | 01/2020 Rev. N
NOTICE





Door Swing



Door latch can be used to prop door open approximately 1/2″ (13 mm) when unit is not in use.






Due to differences in floor construction or surrounding cabinetry, the panel may not sit flush with the top of the door/drawer.




















