U-LINE 115v Ice Maker User Guide
For more details, see the complete User Guide & Service Manual on uline.com.
Safety and Warning
NOTICE
Please read all instructions before installing, operating, or servicing the appliance.
Use this appliance for its intended purpose only and follow these general precautions with those listed throughout this guide:
SAFETY ALERT DEFINITIONS
Throughout this guide are safety items labeled with a Danger, Warning, or Caution based on the risk type:
DANGER
Danger means that failure to follow this safety statement will result in severe personal injury or death.
WARNING
Warning means that failure to follow this safety statement could result in serious personal injury or death.
CAUTION
Caution means that failure to follow this safety statement may result in minor or moderate personal injury, property, or equipment damage
DANGER
This unit contains R600a (Isobutane) which is a flammable hydrocarbon. It is safe for regular use. Do not use sharp objects to expedite defrosting. Do not service without consulting the “R600a specifications” section included in the User Guide. Do not damage the refrigerant circuit.
WARNING
Service must be done by factory authorized service personnel. Any parts shall be replaced with like components. Failure to comply could increase the risk of possible ignition due to incorrect parts or improper service.
CALIFORNIA PROPOSITION 65
This product contains chemicals known to the state of California to cause cancer and birth defects or other reproductive harm. www.P65warnings.CA.gov
CAUTION
This equipment is to be installed with adequate backflow protection to comply with applicable
federal, state and local codes
Environmental Requirements
This model is intended for indoor/interior applications only and is not to be used in installations that are open/ exposed to natural elements.
This unit is designed to operate between 50°F (10°C) and 100°F (38°C). Higher ambient temperatures may reduce the unit’s ability to reach low temperatures and/or reduce ice production on applicable models
For best performance, keep the unit out of direct sunlight and away from heat generating equipment.
In climates where high humidity and dew points are present, condensation may appear on outside surfaces. This is considered normal. The condensation will evaporate when the humidity drops.
CAUTION
Damages caused by ambient temperatures of 40°F (4°C) or below are not covered by the warranty
Electrical
WARNING
SHOCK HAZARD — Electrical Grounding Required. Never attempt to repair or perform maintenance on the unit until the electricity has been disconnected.
Never remove the round grounding prong from the plug and never use a two-prong grounding adapter.
Altering, cutting or removing power cord, removing power plug, or direct wiring can cause serious injury, fire, loss of property and/or life, and will void the warranty.
Never use an extension cord to connect power to the unit.
Always keep your working area dry
NOTICE
Electrical installation must observe all state and local codes. This unit requires connection to a grounded (three-prong), polarized receptacle that has been placed by a qualified electrician.
The unit requires a grounded and polarized 115 VAC, 60 Hz, 15A power supply (normal household current). An individual, properly grounded branch circuit or circuit breaker is recommended. A GFCI (ground fault circuit interrupter) is usually not required for fixed location appliances and is not recommended for your unit because it could be prone to nuisance tripping. However, be sure to consult your local codes.
Door Swing

Units have a zero clearance for the door to open 90°, when installed adjacent to cabinets.
Stainless Steel models require 2-1/8″ (54 mm) door clearance to accommodate the handle if installed next to a wall.
15” Models Door Adjustments
HINGE COVER
Hinge cover included with the literature bag is optional.
To install hinge cover:
- Press hinge cover squarely over hinge.

DOOR ALIGNMENT AND ADJUSTMENT
Align and adjust the door if it is not level or is not sealing properly. If the door is not sealed, the unit may not cool properly, or excessive frost may form in the interior.
NOTICE
Properly aligned, the door’s gasket should be firmly in contact with the cabinet all the way around the door (no gaps). Carefully examine the door’s gasket to ensure that it is firmly in contact with the cabinet. Also make sure the door gasket is not pinched on the hinge side of the door.
To align and adjust the door:
- Gently pry off hinge cover from top of unit.
- Loosen (do not remove) top and bottom hinge screws using a Torx T-25 screwdriver.
- Align door squarely with cabinet.
- Make sure gasket is firmly in contact with cabinet all the way around the door (no gaps).
- Tighten bottom hinge screws.
- Tighten top hinge screws and replace hinge cover.
REVERSING THE DOOR
Location of the unit may make it desirable to mount the door on the opposite side of the cabinet.The hinge hardware will be removed and reinstalled on the opposite side of the cabinet.
TO REVERSE THE DOOR

Remove arrow clips:
- With a puddy knife or other flat tool, gently pry each arrow clip from hinge mounting holes.
- Set aside arrow clips to be reused on the opposite side.

Remove grille:
Remove the grille (see GRILLE INSTALLATION section of this guide).
Remove top hinge and door:
- Hold door to keep it from falling.
- Remove top hinge from cabinet using a Torx T-25 screwdriver to remove three screws. Set aside and save for possible future use

- Remove door by tilting forward and lifting door off bottom hinge. Retain shoulder washers; they will be reused.
- Insert arrow clips into holes

Remove bottom hinge:
- Remove bottom hinge from cabinet using a T-25 TORX screw driver to remove three screws.

- Remove corresponding screws on opposite side of cabinet. On some models there may be a nut behind one or both screws on either side
Install bottom hinge:
Install two or three screws, depending on model. Replace nuts if used.
Install top hinge and door:
- Remove pivot screw from hinge, flip hinge over, and install the pivot screw in the same hole from the opposite surface.

- Lift the door onto the bottom hinge.
- Align edge of the hinge with the outer edge of the unit while inserting pivot screw into top of door.
- Tighten three screws and replace hinge cover.
- Replace hinge cover and grille.
Align and adjust the door:
Align and adjust the door (see DOOR ALIGNMENT AND ADJUSTMENT)
24” Models DOOR ADJUSTMENTS
HINGE COVER
Hinge cover included with the literature bag is optional.
To install hinge cover:
- Press hinge cover squarely over hinge.

DOOR ALIGNMENT AND ADJUSTMENT
Align and adjust the door if it is not level or is not sealing properly. If the door is not sealed, the unit may not cool properly, or excessive frost may form in the interior
NOTICE
Properly aligned, the door’s gasket should be firmly in contact with the cabinet all the way around the door (no gaps). Carefully examine the door’s gasket to ensure that it is firmly in contact with the cabinet. Also make sure the door gasket is not pinched on the hinge side of the door.
To align and adjust the door
- Gently pry off hinge cover from top of unit.
- Loosen (do not remove) top and bottom hinge screws using a Torx T-25 screwdriver.
- Align door squarely with cabinet.
- Make sure gasket is firmly in contact with cabinet all the way around the door (no gaps).
- Tighten bottom hinge screws.
- Tighten top hinge screws and replace hinge cover.
REVERSING THE DOOR
Location of the unit may make it desirable to mount the door on the opposite side of the cabinet. The hinge hardware will be removed and reinstalled on the opposite side of the cabinet.
TO REVERSE THE DOOR
Remove grille
Remove the grille (see GRILLE INSTALLATION section of this guide).
Remove arrow clips
- With a puddy knife or other flat tool, gently pry each arrow clip from hinge mounting holes.
- Set aside arrow clips to be reused on the opposite side.

Remove top hinge and door
- Hold door to keep it from falling.
- Remove top hinge from cabinet using a Torx T-25 screwdriver to remove three screws. Set aside and save for possible future use

- Remove door by tilting forward and lifting door off bottom hinge. Retain shoulder washers; they will be reused.
- Insert arrow clips into holes.

Remove bottom hinge:
- Remove bottom hinge from cabinet using 1/4” socket.

- Remove corresponding screws on opposite side of cabinet. On some models there may be a nut behind one or both screws on either side
Note: It is necessary to remove and switch the wine rack mounting hardware. This will allow the racks to extend out of the unit beyond the door.
Remove a wine rack
- Pull out rack as far as it will go.
- Locate the tabs inside the right and left slides.
- Push down on the tab on the right and pull slightly on the rack to allow it to pass beyond the lock.
- While holding the rack so it does not re-lock on the right, lift up on the left-side tab, and pull the rack toward you until it is completely free from the unit.

Install slide spacers on opposite sidewalls
- Take out 4 screws and remove the two brackets and spacers from the sidewalls of the unit – leave the screws in the brackets and spacers to keep them together.
- Using 4 screws, install the spacers and brackets on the opposite sidewalls – the open ends of the brackets need to remain toward the front of the unit
Note: Be sure that the hinge side of the unit has the slide bracket with the thicker spacer.
- Line up rack slide with slide brackets and push rack inall the way. Pull rack outward all the way to make sure locks are engaged.
Install bottom hinge
Install two or three screws, depending on model.Replace nuts if used.
General Installation
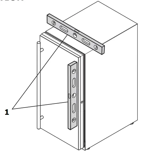
LEVELING INFORMATION
- Use a level to confirm the unit is level. Level should be placed along top edge and side edge as shown.

- If the unit is not level, adjust the legs on the corners of the unit as necessary.

- Confirm the unit is level after each adjustment and repeat the previous steps as needed.
INSTALLATION TIP
If the room floor is higher than the floor in the cutout opening, adjust the rear legs to achieve a total unit rear height of 1⁄8” (3 mm) less than opening’s rear height. Shorten the unit height in the front by adjusting the front legs. This allows the unit to be gently tipped into the opening. Readjust the front legs to level the unit after it is correctly positioned in the opening.
INSTALLATION
- Plug in the power/electrical cord.
- Gently push the unit into position. Be careful not to entangle the cord or water and drain lines, if applicable.
- Re-check the leveling, from front to back and side to side. Make any necessary adjustments. The unit’s top surface should be approximately 1⁄8” (3 mm) belowthe countertop.
- Install the anti-tip bracket.
- Remove interior packing material and wipe out the inside of the unit with a clean, water-dampened cloth.
Anti-Tip Bracket
- Slide unit out so screws on top of unit are easily accessible.
- Remove the two screws from the opposite side of the hinge assembly using a T-25 Torx driver (see below).
NOTE: 24” models use four screws and 15” models use three screws, but same screws are used in both applications.
- Place bracket over holes and attach to unit with two screws removed in step 2 using a T-25 Torx driver. Tighten screws fully.
- Gently push unit into position. Be careful not to entangle the electrical cord or water line, if applicable.
- Check to be sure the unit is level from front to back and side to side. Make any necessary adjustments. The unit’s top surface should be approximately 1⁄8” (3 mm) below the counter top.
- Secure bracket into adjoining surface.
Wine and Drawer Models
FLOOR MOUNTED ANTI-TIP INSTALLATION
- Locate two anti-tip brackets included with the kit.
- Place the unit into the area where it will be installed. Check the door, sides, and top for a proper fit. Also test to make sure the door opens and closes freely.
- Remove grille and place a mark on the floor at the front of the unit. Also place a mark on the floor in the center of the unit.
- Remove the unit. Using a square, extend center line “B” (see chart below). This line serves as the back.edge for the anti-tip brackets. From the center line, measure “A” to the left and right. This line is the outer edge of each bracket.

024/124 115 A 11-1⁄16” (281 mm) 6-9⁄16” (167 mm) B 20-1⁄4” (514 mm) 20-1⁄4” (514 mm) - Place the anti-tip brackets on the floor against the li drawn for the outer edge. Mark spots for the screw holes

024/124 115 A 11-1⁄16” (281 mm) 6-9⁄16” (167 mm) B 20-1⁄4” (514 mm) 20-1⁄4” (514 mm) - Use a 1/8” drill to make two starter holes and fasten the anti-tip brackets to the floor using the screws provided.
- Place the unit back into position, making sure the feet engage the anti-tip brackets properly. Check the alignment of the lines made on the floor in step
3 with the position of the front feet to ensure proper positioning.
Integrated Panel Installation
- Fully open door.
- Starting at corner, pull gasket away from door.
- Continue to pull gasket free from gasket channel.
- Upon removal, lay gasket down on a flat surface.
- Align top of panel with top edge of door. Center panel on door.

NOTICE Due to differences in floor construction or surrounding cabinetry, the panel may not sit flush with the top of the door. - Secure integrated panel to door using clamps. A robust tape may also be used. U-Line recommends the use of bar clamps to secure the panel to the door. If using tape, be certain the tape will not damage panel finish upon removal.

- Using a 7/64″ (3 mm) drill bit, drill 6 pilot holes into the wood panel 1/2″ (12 mm) deep using the holes in the door frame as a guide.
NOTICE It is important to ensure that all drilled holes are drilled to the correct depth in order to avoid splits in the wood when hardwood is installed. - Locate 6 of the #6x 1-1/2″ (38 mm) screws provided with your unit.
- Using a Phillips screwdriver, place one screw into each of the 6 pilot holes and screw down. Do not over tighten screws.
- Ensure the screws sit flush against the bottom of the channel.”

- Remove clamps from door.
NOTICE If panel requires additional adjustment after removing clamps, slightly loosen each screw and adjust panel as necessary. Tighten screws upon completion. - Starting at the corners, re-install the gasket into the gasket channel in the frame. Make sure the gasket is fully seated.
Convertible Freezer
Control Operation

CONTROL FUNCTION GUIDE
| FUNCTION | COMMAND | NOTES |
| ON/OFF | Press and release | Unit will immediately turn On or OFF |
| Leave interior light on | Press deactivate | After 12 hours, factory default is restored; light will turn on when door is open |
| Adjust Temperature | Press | When the display is flashing, press or to adjust the set point temperature. Note: temperature displayed is the actual temperature inside unit |
| Toggle between ºF / ºC | Hold | The display will change units |
| Toggle between Freezer/ Refrigerator | Hold | Unit will “beep” and display will show the default set point for Refrigerator/Freezer |
| Enable Sabbath Mode | Press | The oF / oC symbol will flash briefly after 5 seconds. Interior light and display will go dark and remain so until user resets mode – unit continues to operate |
| Disable Sabbath Mode | Press | Display and interior light return to normal operation |
| Showroom Mode | Hold | Display will show SH for 2 seconds. Interior light and display will function normally, but the compressor and fans will not energize. Repeat command to return to normal operation. Display will show EH for 2 seconds. |
This unit is Star-K certified. See www.star-k.org for more details.
DOOR ALERT NOTIFICATION
When the door is left open for more than 5 minutes:
- A tone will sound for several seconds every minute
- will appear in display
Close door to silence alert and reset
All Other Models
Control Operation

CONTROL FUNCTION GUIDE
| FUNCTION | COMMAND | NOTES |
| ON/OFF | Press | Unit will turn On or OFF |
| Leave interior light on | Press and release to leave interior light on for 3 hours; press again todeactivate | After 3 hours, factory default is restored; light will turn on when door is open |
| Adjust Temperature | Press | When the display is flashing, press or to adjust the set point temperature. Note: temperature displayed is the actual temperature inside unit |
| Toggle between ºF / ºC | Hold | The display will change units |
| Enable Sabbath Mode | Press | The oF / oC symbol will flash briefly after 5 seconds. Interior light and display will go dark and remain so until user resets mode – unit continues to operate |
| Disable Sabbath Mode | Press | Display and interior light return to normal operation |
| Showroom Mode | Hold | Display will show SH for 2 seconds. Interior light and display will function normally, but the compressor and fans will not energize. Repeat command to return to normal operation. Display will show EH for 2 seconds. |
This unit is Star-K certified. See www.star-k.org for more details
First Use
Convertible Freezer
Initial startup requires no adjustments. If the unit was turned off, press and the unit will immediately switch on. To turn off, press and release. See CONTROL OPERATION section for more details
NOTICE
Temperature displayed reflects actual temperature inside unit.
If the temperature displayed is different than selected, the unit is progressing towards the selected temperature. Time to reach set point varies based upon ambient temperature, temperature of product loaded, door openings, etc. U-Line recommends allowing the unit to reach set point before loading
Approximate time required (empty unit) when converting between refrigerator and freezer:
- 38ºF to 0ºF – 1 hour
- 0ºF to 38ºF – 4 hours
All Other Models
Initial startup requires no adjustments. If the unit was turned off, press and hold
for 5 seconds to turn unit on. See “Control Operation” section for more details
NOTICE
Temperature displayed reflects actual temperature inside unit.
If the temperature displayed is different than selected, the unit is progressing towards the selected temperature. Time to reach set point varies based upon ambient temperature, temperature of product loaded, door openings, etc. U-Line recommends allowing the unit to reach set point before loading.
Airflow & Product Loading
External
- Do not block the front grille – no additional clearance around sides, top or rear of unit is needed for ventilation
- o not install behind a closed door
Internal
- When loading, leave space between internal fans, vents, and side walls to allow air to circulate freely
PRODUCT LOADING
Bottles and cans come in many shapes and sizes. Not all bottles and cans will fit on every shelf and wine rack. Larger diameter champagne and Magnum bottles only fit on wine racks when noted on the product specifications. When determining capacities U-Line uses typical 12 oz. cans, 12 oz. bottles, 750 mL white wine and red wine bottles shown below.
NOTICE
Restricting airflow may result in poor product performance, product failure, and uneven internal temperatures and may freeze contents.
Cleaning
Stainless Models Stainless door panels and handles can discolor when exposed to chlorine gas, pool chemicals, saltwater or cleaners with bleach.
Keep your stainless unit looking new by cleaning with a good quality all-in-one stainless steel cleaner and polish monthly. For best results use Claire® Stainless Steel Polish and Cleaner. Comparable products are acceptable. Frequent cleaning will remove surface contamination that could lead to rust. Some installations may require cleaning weekly
Do not clean with steel wool pads.
Do not use stainless steel cleaners or polishes on any glass surfaces
Clean any glass surfaces with a non-chlorine glass cleaner.
Do not use cleaners not specifically intended for stainless steel on stainless steel surfaces (this includes glass, tile and counter cleaners).
If any surface discoloring or rusting appears, clean it quickly with Bon-Ami® or Barkeepers Friend Cleanser® and a nonabrasive cloth. Always clean with the grain.Always finish with Claire® Stainless Steel Polish and Cleaner or comparable product to prevent further problems
Using abrasive pads such as Scotchbrite™ will cause the gaining in the stainless steel to become blurred.
Rust not cleaned up promptly can penetrate the surface of the stainless steel and complete removal of the rust may not be possible.
Integrated Models
To clean integrated panels, use household cleaner per the cabinet manufacturer’s recommendation.
INTERIOR CLEANING
Disconnect power to the unit.
Clean the interior and all removed components using a mild nonabrasive detergent and warm water solution applied with a soft sponge or non-abrasive cloth.
Rinse the interior using a soft sponge and clean water.
Do not use any solvent-based or abrasive cleaners.
These types of cleaners may transfer taste to the interior products and damage or discolor the lining.
DEFROSTING
Under normal conditions this unit does not require manual defrosting. Minor frost on the rear wall or visible through the evaporator plate vents is normal and will melt during each off cycle.
If there is excessive build-up of 1/4″ (6 mm) or more, manually defrost the unit.
Ensure the door is closing and sealing properly.
High ambient temperature and excessive humidity can also produce frost.
CAUTION
DO NOT use an ice pick or other sharp instrument to help speed up defrosting. These instruments can puncture the inner lining or damage the cooling unit. DO NOT use any type of heater to defrost. Using a heater to speed up defrosting can cause personal injury and damage to the inner lining.
NOTICE
The drain pan was not designed to capture the water created when manually defrosting. To prevent water from overflowing the drain pan and possibly damaging water sensitive flooring, the unit must be removed from cabinetry
To defrost:
- Disconnect power to the unit.
- Remove all products from the interior.
- Prop the door in an open position (2 in. [50 mm] minimum).
- Allow the frost to melt naturally.
- After the frost melts completely clean the interior and all removed components. (See INTERIOR CLEANING).
- When the interior is dry, reconnect power and turn unit on.
U-Line Corporation (U-Line) Limited Warranty
One Year Limited Warranty
For one year from the date of original purchase, this warranty covers all parts and labor to repair or replace any part of the product that proves to be defective in materials or workmanship. For products installed and used for normal residential use, material cosmetic defects are included in this warranty, with coverage limited to 60 days from the date of original purchase. All service provided by U-Line under the above warranty must be performed by a U-Line factory authorized service, unless otherwise specified by U-Line. Service provided during normal business hours.
Two Year Limited Warranty (5 Class Product)
For two years from the date of original purchase, this warranty covers all parts and labor to repair or replace any part of the product that proves to be defective in materials or workmanship. For products installed and used for normal residential use, material cosmetic defects are included in this warranty, with coverage limited to 60 days from the date of original purchase. All service provided by U-Line under the above warranty must be performed by a U-Line factory authorized servicer, unless otherwise specified by U-Line. Service provided during normal business hours
Available Second & Third Year Limited Warranty
In addition to the standard one and two year warranties outlined above, U-Line offers a one year extension of the warranties from the date of purchase, free of charge. To take advantage of this extension, you must register your product with U-Line within 60 days from the date of purchase at u-line.com and provide proof of purchase.
Five Year Sealed System Limited Warranty
For five years from the date of original purchase, U-Line will repair or replace the following parts, labor not included, that prove to be defective in materials or workmanship: compressor, condenser, evaporator, drier, and all connecting tubing. All service provided by U-Line under the above warranty must be performed by a U-Line factory authorized servicer, unless otherwise specified by U-Line. Service provided during normal business hours.
Terms
These warranties apply only to products installed in any one of the fifty states of the United States, the District of Columbia, or the ten provinces of Canada. The warranties do not cover any parts or labor to correct any defect caused by negligence, accident or improper use, maintenance, installation, service, repair, acts of God, fire, flood or other natural disasters. The product must be installed, operated, and maintained in accordance with your product’s User Guide.
The remedies described above for each warranty are the only ones that U-Line will provide, either under these warranties or under any warranty arising by operation of law. U-Line will not be responsible for any consequential or incidental damages arising from the breach of these warranties or any other warranty, whether express, implied, or statutory. Some states do not allow the exclusion or limitation of incidental or consequential damages, so the above limitation or exclusion may not apply to you. These warranties give you specific legal rights, and you may also have other rights which vary from state to state.
Any warranty that may be implied in connection with your purchase or use of the product, including any warranty of merchant ability or any warranty fit for a particular purpose is limited to the duration of these warranties, and only extends to five years in duration for the parts described in the section related to the five year limited warranty above. Some states do not allow limitations on how long an implied warrantylasts, so the above limitations may not apply to you.
- The warranties only apply to the original purchaser and are non transferable.
- The second, third, and five year warranties cover products installed and used for normal residential or designated marine use only.
- The warranties apply to units operated outside only if designed for outdoor use by model and serial number.
- U-Line Commercial products are covered by the one year and 5 year limited warranties and are not eligible for the second and third year limited warranties.
- Replacement water filters, light bulbs, and other consumable parts are not covered by these warranties.
- The start of U-Line’s obligation is limited to four years after the shipment date from U-Line.
- In-home instruction on how to use your product is not covered by these warranties.
- Food, beverage, and medicine loss are not covered by these warranties.
- If the product is located in an area where U-Line factory authorized service is not available, you may be responsible for a trip charge or you may be required to bring the product to a U-Line factory authorized service location at your own cost and expense.
- Units purchased after use as floor displays, and/or certified reconditioned units, are covered by the limited one year warranty only and no coverage is provided for cosmetic defects.
- Signal issues related to Wi-Fi connectivity are not covered by these warranties.
For parts and service assistance, or to find U-Line factory authorized service near you, contact U-Line: 8900 N. 55th Street, Milwaukee, WI 53223 • uline.com • [email protected] • +1.414.354.0300

















and release to leave interior light on for 3 hours; press again to
















