

USE AND CARE GUIDE TV STAND
MODEL MTS31502 B-LA1501W B-LA1502G
IMPORTANT: Please read this manual carefully before beginning the assembly of this product. keep this manual for future reference.
WHAT’S IN THE BOX


INSTALLATION STEPS


Insert dowels(C) into panel(2) and attach panels(3.4) , Then insert and secure cam lock(B) to panel (2) to lock it.
Screw parts(A) and Insert dowels(C) into panel(7), then attach panels(2,3,4,5,6) to panel(7), Insert and secure cam lock(B) to panel (2,3,4,5,6) to lock it.

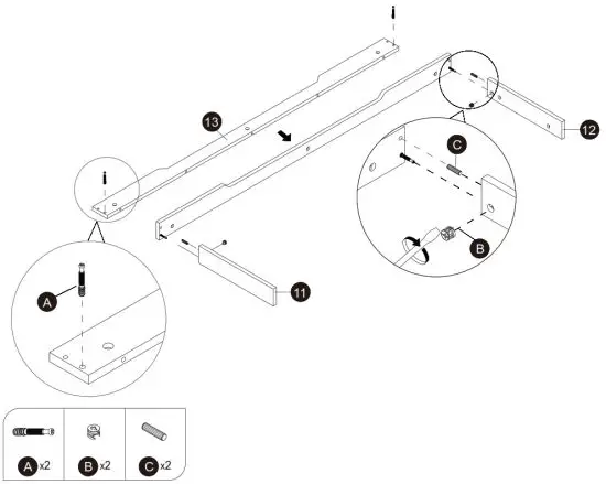
Screw parts(A) into panels(13)and Insert dowels(C) into panel(11,12), then attach panels(11,12) to panel(13), Insert and secure cam lock(B) to panel (11,12) to lock it.
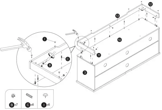
Insert dowels(C)into panel(10), then attach panels(11,12,13) to panel(10), Insert and secure cam lock(B) to panel (11,12,13) to lock it. Secure pins(I) to panels (11,12,13)



Dear customer:
Thanks for your purchase in our store. Any questions, please contact us via [email protected] with below details:
- Purchase platform & order number
- Model number & Instruction version#
- The detailed photo (faulty part, damaged part, if some parts are missing, please circle it/them on the manual instruction) and send us.
We’ll reply as soon as we receive your message(usually within 24 hours).


Insert dowels(C) into panel(2) and attach panels(3.4) , Then insert and secure cam lock(B) to panel (2) to lock it.
Screw parts(A) and Insert dowels(C) into panel(7), then attach panels(2,3,4,5,6) to panel(7), Insert and secure cam lock(B) to panel (2,3,4,5,6) to lock it.

Screw parts(A) into panels(13)and Insert dowels(C) into panel(11,12), then attach panels(11,12) to panel(13), Insert and secure cam lock(B) to panel (11,12) to lock it.
Insert dowels(C)into panel(10), then attach panels(11,12,13) to panel(10), Insert and secure cam lock(B) to panel (11,12,13) to lock it. Secure pins(I) to panels (11,12,13)




















