robustel R3000 Lite Dual-SIM VPN Router

Overview
The Robustel Industrial Dual SIM Cellular VPN Router (R3000 Lite) is a rugged cellular router offering state-of-the-art mobile connectivity for machine to machine (M2M) applications. R3000 Lite is a powerful router developed from RobustOS, a Robustel self-developed and Linux-based operating system which is designed to be used in Robustel hardware routers.
Package Checklist
Before commencing installation ensure your package has the following components:
- Device

- 3-PIN Terminal Block

- RCMS Card

- Quick Start Guide Card

- Mounting Kit (Optional)

- Cellular Antenna (Optional)

- Power Supply (Optional)

- Ethernet Cable (Optional)

Note: The accessories could be different on specific order
Panel Layout (May Vary on Different Models)
Top View

Bottom View

Interface Descriptions
- LED Indicator
Name Color Status Description RUN Green On, fast blinking (250ms blink time)
Router is powered on (System is initializing) On, blinking (500ms blink time)
Router starts operating Off Router is powered off USR-SIM
Green
On, solid Main Card is being used On, blinking Backup card is being used Off NO SIM card USR-NET Green On, solid Network is joined successfully and worked in an optimum one On, blinking Network is joined successfully but worked in a lower-level than standard
Off Network is not joined or joining USR-OpenVPN Green On, solid OpenVPN connection is established Off OpenVPN connection is not established USR-IPsec Green On, solid IPsec connection is established Off IPsec connection is not established PPP Green On, solid Link connection is established Off Link connection is not established 
Green Three lights are solid green High signal strength (21-31) is available Two lights are solid green Medium signal strength (11-20) is available One light is solid green Low signal strength (1-10) is available Off No signal When the network is disconnected, those three signal LEDs are designed as a binary combination code to indicate a series of error report. Blinking: 1 Off: 0 bit2 bit1 bit0
0 0 1 AT command failed
0 1 0 no SIM card detected
0 1 1 need to enter the PIN code
1 0 0 need to enter the PUK code
1 0 1 registration failed
1 1 0 module error
1 1 1 not support the module
Note: You can choose the display type of USR LED. For more details, please refer to
RT123_SM_RobustOS Software Manual Service > Advanced > System >System Settings > User LED Type. - USB Interface
Feature Operation Firmware upgrade USB interface is used for batch firmware upgrading, but cannot be used for sending or receiving data from slave devices which connected to it. You can insert a USB storage device into the router’s USB interface, such as a U disk or a hard disk. If there have a supported configuration file or a router firmware in this USB storage device, the router will automatically update the configuration file or the firmware. For more details, see RT123_SM_RobustOS Software Manual. - PIN Assignment

PIN Polarity 10 Positive 11 Negative 12 GND PIN Debug (232) RS-232 RS485 (2-Line) Direction 1 Data+(A) — 2 RXD Router → Device 3 TXD Router ← Device 4 DRXD Router ← Device 5 GND GND GND 6 Data-(B) — 7 RTS Router ← Device 8 CTS Router → Device 9 DTXD Router → Device - Reset Button
Feature Operation Reboot Press and hold the RST button for 2~ 5 seconds under the operating status. Restore to default configuration Press and hold the RST button for 5~10 seconds, the RUN LED starts blinking quickly, the router will restore to default configuration.
Restore to factory default settings Once the operation of restoring default configuration is performed twice within one minute, the router will restore to factory default settings.
Note: The more details please refer to RT123_SM_RobustOS Software Manual, 2.3 Factory Reset. - Ethernet Ports. R3000 Lite Router has one Ethernet port with two LED indicators. The yellow one is link indicator and the green one is speed indicator. For details about status, see the table below.
Indicator Status Description Link indicator On, solid Connection is established On, blinking Data is being transferred Off Connection is not established Speed indicator On, solid 100 Mbps mode Off 10 Mbps mode
Hardware Installation
- SIM Card Installation. Loosen the screws associated with the cover by using a screwdriver and then find the SIM card slot. Press the card with finger until you hear a click and then tighten the screws associated with the cover by using a screwdriver. Put back the cover and tighten the screws associated with the cover by using a screwdriver.

- Antenna Installation. Rotate the antenna into the antenna connector accordingly.

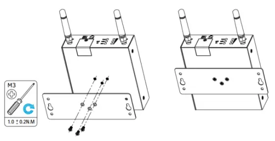
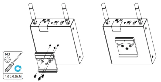
- DIN rail mounting
- Mounting Kit installation. (Optional)

- Wall mounting

- Mounting Kit installation. (Optional)
- Power Supply installation. Following to the color of the head, connect the cable marked red to the positivepole through a terminal block, and connect the yellow one to the negative in the same way.
Note: The range of power voltage is 9 to 36V DC.
CONNECTING THE POWER CABLECOLOR POLARITY RED + YELLOW – 
- Connect the Router to a Computer. Connect an Ethernet cable to the port marked ETH at the bottom of the R3000 Lite, and connect the other end of the cable to your computer.

Login to the Device
- Connect the router’s Ethernet port to a PC with a standard Ethernet cable.
- Before logging in, manually configure the PC with a static IP address on the same subnet as the gateway address, click and configure “Use the following IP address”.

- To enter the gateway’s web interface, type http://192.168.0.1 into the URL field of your Internet browser.
- Use login information shown in the product label when prompted for authentication.

- After logging in, the home page of the web interface is displayed, then you can view system information and perform configuration on the device.

- The automatic APN selection is ON by default, if need to specify your own APN, please go to the menu Interface->Link Manager->Link Setting->WWAN Settings to finish the specific setting.

- The more configuration details please refer to RT123_SM_RobustOS Software Manual. (END)
Regulatory and Type Approval Information
Table 1: Toxic or Hazardous Substances or Elements with Defined Concentration Limits
| Name of the Part | Hazardous Substances | |||||
| (Pb) | (Hg) | (Cd) | (Cr (VI) ) | (PBB) | (PBDE) | |
| Metal parts | o | o | o | o | o | o |
| Circuit modules | o | o | o | o | o | o |
| Cables and cable assemblies | o | o | o | o | o | o |
| Plastic and polymeric parts | o | o | o | o | o | o |
| o: Indicates that this toxic or hazardous substance contained in all of the homogeneous materials for this part is below the limit requirement in 2011/65/EU and SJ/T11363-2006. x: Indicates that this toxic or hazardous substance contained in at least one of the homogeneous materials for this part might exceed the limit requirement in 2011/65/EU and SJ/T11363-2006. | ||||||
Radio Specifications for Europe
| RF technologies | 2G, 3G, 4G |
| Cellular Frequency* | 4G: LTE FDD: B1/B2/B3/B4/B5/B7/B8/B12/B13/B18/B19/B20/B25/B26/B28 LTE TDD: B38/B39/B40/B41 3G: WCDMA: B1/B2/B4/B5/B6/B8/B19 2G: GSM: B2/B3/B5/B8 |
| Max RF power | 33 dBm±2dB@GSM, 24 dBm+1/-3dB@WCDMA, 23 dBm±2dB@LTE |
* May vary on difference models
Caution: The user is cautioned that changes or modifications not expressly approved by the party responsible for
compliance could void the user’s authority to operate the equipment.
This device contains licence-exempt transmitter(s)/receiver(s) that comply with Innovation, Science and Economic
Development Canada’s licence-exempt RSS(s) and Part 15 of the FCC Rules. Operation is subject to the following two conditions:
- This device may not cause interference.
- This device must accept any interference, including interference that may cause undesired operation of the device.
Note: This equipment has been tested and found to comply with the limits for a Class B digital device, pursuant to Part 15 of the FCC Rules. These limits are designed to provide reasonable protection against harmful interference in a residential installation. This equipment generates, uses and can radiate radio frequency energy and, if not installed and used in accordance with the instructions, may cause harmful interference to radio communications. However, there is no guarantee that interference will not occur in a particular installation.
If this equipment does cause harmful interference to radio or television reception, which can be determined by turning the equipment off and on, the user is encouraged to try to correct the interference by one or more of the following measures:
- Reorient or relocate the receiving antenna.
- Increase the separation between the equipment and receiver.
- Connect the equipment into an outlet on a circuit different from that to which the receiver is connected.
- Consult the dealer or an experienced radio/TV technician for help.
FCC& IC Radiation Exposure Statement
This equipment complies with FCC and Canada radiation exposure limits set forth for an uncontrolled environment.
This equipment should be installed and operated with a minimum distance of 20cm between the radiator and your body.
This transmitter must not be co-located or operating in conjunction with any other antenna or transmitter.
Simplified EU Declaration of Conformity
We, Guangzhou Robustel Co., Ltd. are located at 501, Building #2, 63 Yongan Road, Huangpu District, Guangzhou,
China, declare that this radio equipment complies with all applicable EU directives. The full text of the EU DoC is
available at the following internet address: www.robustel.com/certifications/
Safety Information
General
- The router generates radio frequency (RF) power. When using the router, care must be taken on safety issues related to RF interference as well as regulations of RF equipment.
- Do not use your router in aircraft, hospitals, petrol stations or in places where using cellular products is prohibited.
- Be sure that the router will not be interfering with nearby equipment. For example: pacemakers or medical equipment. The antenna of the router should be away from computers, office equipment, home appliance, etc.
- An external antenna must be connected to the router for proper operation. Only uses approved antenna with the router. Please contact authorized distributor on finding an approved antenna.
RF Exposure
- This device meets the official requirements for exposure to radio waves. This device is designed and manufactured not to exceed the emission limits for exposure to radio frequency (RF) energy set by authorized agencies.
- The device must be used with a minimum separation of 20 cm from a person’s body to ensure compliance with RF exposure guidelines. Failure to observe these instructions could result in your RF exposure exceeding the applicable limits.
Note: Some airlines may permit the use of cellular phones while the aircraft is on the ground and the door is open. Router may be used at this time.

The symbol indicates that the product should not be mixed with general household waste but must be sent to separate collection facilities for recovery and recycling.
![]()
The symbol indicates that the product meets the requirements of the applicable EU directives.

The symbol indicates that the product meets the requirements of the relevant UK legislation
Find more product documents or tools at: www.robustel.com/en/documentations/
Technical Support
Tel: +86-20-82321505
Email: [email protected]
Web: www.robustel.com
Document History
Updates between document versions are cumulative. Therefore, the latest document version contains all updates
made to previous versions.
| Date | Firmware Version | Document Version | Change Description |
| July 28, 2022 | 5.0.0 | 1.0.0 | Initial release. |
| Nov. 22, 2022 | 5.0.0 | 1.0.1 | Added declaration for product. |
Customer Support
Support: [email protected]
Website: www.robustel.com
© 2022 Guangzhou Robustel Co.,Ltd.
All rights reserved. Subject to change without notice.









































