METTLLER TOLEDO dDrive Dosing Unit

Introduction
The dDrive is designed to be used as an accessory. This document provides you with the information you need to get started with your METTLER TOLEDO dDrive.
- This User Manual contains the information you need to set up the accessory, put it into operation and maintain it.
- Keep the User Manual for future reference.
- Include the User Manual if you transfer the accessory to other parties.
- The Reference Manual of the main instrument contains additional information on the interface between the accessory and the main instrument.
Only use the accessory according to this User Manual and the Reference Manual of the main instrument. If you do not use the accessory according to both documents or if it is modified, the safety of the main instrument may be impaired and Mettler-Toledo GmbH assumes no liability.
For third party licenses and open source attribution files, see the following link: www.mt.com/licenses
If you have any additional questions, contact your authorized METTLER TOLEDO service representative or dealer. www.mt.com/contact
Explanation of Conventions and Symbols
Refers to an external document.
Elements of Instructions
Instructions always contain action steps and can contain prerequisites, intermediate results and results. If an instruction contains more than one action step, the action steps are numbered.
- Prerequisites that must be fulfilled before the individual action steps can be executed.
- Action step 1
Intermediate result - Action step 2
Result
- Action step 1
Compliance Information
National approval documents, e.g., the FCC Supplier Declaration of Conformity, are available online and/or included in the packaging. http://www.mt.com/ComplianceSearch
Application-relevant standards and norms are listed on the internet.
Contact METTLER TOLEDO for questions about the country-specific compliance of your instrument. www.mt.com/contact
European Union
The instrument complies with the directives and standards listed on the EU Declaration of Conformity.
United States of America
This equipment has been tested and found to comply with the limits for a Class A digital device, pursuant to part 15 of the FCC Rules. These limits are designed to provide reasonable protection against harmful interference when the equipment is operated in a commercial environment. This equipment generates, uses, and can radiate radio frequency energy and, if not installed and used in accordance with the instruction manual, may cause harmful interference to radio communications. Operation of this equipment in a residential area is likely to cause harmful interference in which case the user will be required to correct the interference at his own expense.
Changes or modifications not expressly approved by the party responsible for compliance could void the user’s authority to operate the equipment.
This device complies with Part 15 of the FCC Rules. Operation is subject to the following two conditions:
- This device may not cause harmful interference.
- This device must accept any interference received, including interference that may cause undesired operation.
Canada
This device contains license-exempt transmitter(s)/receiver(s) that comply with Innovation, Science and Economic Development Canada’s license-exempt RSS(s). Operation is subject to the following two conditions:
- This device may not cause interference.
- This device must accept any interference, including interference that may cause undesired operation of the device.
Safety Information
Definition of Signal Words and Warning Symbols
Safety notes contain important information on safety issues. Ignoring the safety notes may lead to personal injury, damage to the instrument, malfunctions and false results. Safety notes are marked with the following signal words and warning symbols:
Signal Words
- CAUTION: A hazardous situation with low risk, resulting in minor or moderate injury if not avoided.
- NOTICE: A hazardous situation with low risk, resulting in damage to the instrument, other material damage, malfunctions and erroneous results, or loss of data.
- Warning Symbols: General hazard: read the User Manual for information about the hazards and the resulting measures.
Product Specific Safety Notes
Intended use
The dDrive is intented to be used by trained staff. The dDrive is compatible with all main instruments that list it as an accessory in their Reference Manual.
Together with a compatible burette, the dDrive is designed to aspirate and dispense liquids. The liquids must have the following properties:
- Viscosity: <10 mPa*s at ambient temperature
- No particles
- No degasing when underpressurized is applied
- The liquids are compatible with the materials they come into contact with.
Any other type of use and operation beyond the limits of use stated by Mettler-Toledo GmbH without consent from Mettler-Toledo GmbH is considered as not intended.
Responsibilities of the Instrument Owner
The instrument owner is the person holding the legal title to the accessory and who uses the accessory and the main instrument or authorizes any person to use them, or the person who is deemed by law to be the operator of the accessory and the main instrument. The instrument owner is responsible for the safety of all users of the accessory and third parties.
Mettler-Toledo GmbH assumes that the instrument owner trains users to safely use the accessory and the main instrument in their workplace and deal with potential hazards. Mettler-Toledo GmbH assumes that the instrument owner provides the necessary protective gear.
Safety Notes
NOTICE
Leakage at the Valve Head Due to Overpressure
If overpressure in the burette exceeds 4 bar, the content leaks out along the valve head.
- Only use liquids with a viscosity <10 mPa*s.
- Install a blind plug in any port that is not connected to a tube.
NOTICE
Damage to the Accessory or the Main Instrument Due to the Use of Unsuitable Parts
Using unsuitable parts with the accessory can damage the accessory or the main instrument or cause them to malfunction.
Only use parts from METTLER TOLEDO that are intended to be used with your accessory.
Design and Function
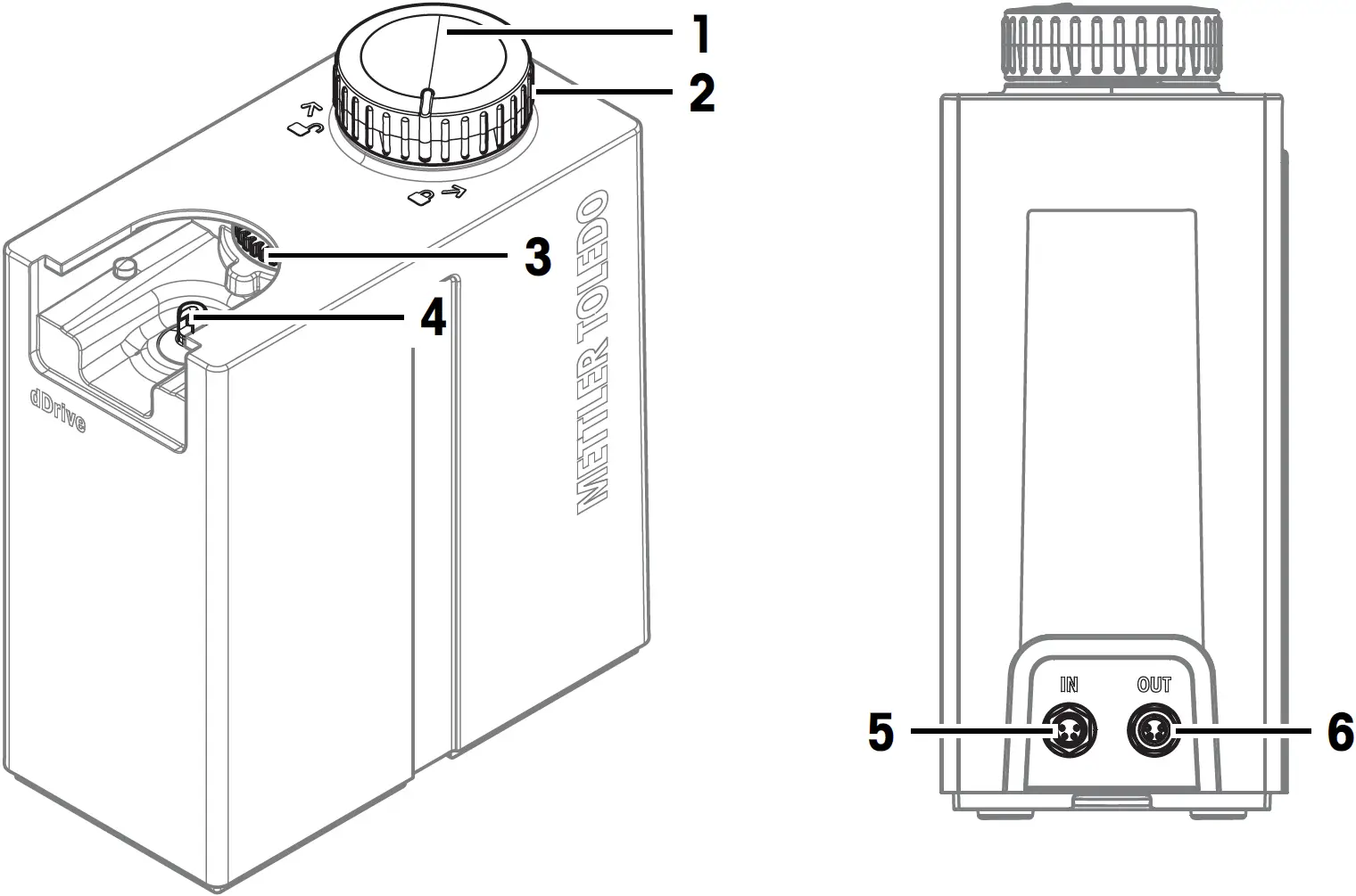
Overview dDrive

| No. | Name | Function |
| 1 | Knob | Locks the burette |
| 2 | Signal LED | Green: dDrive connected to the main instrument and ready for use LED off: dDrive not connected to the main instrument |
| 3 | Piston rod | Connects to the piston of the burette to the motor in the dDrive |
| 4 | Gear | Turns the burette to control which port is open. |
| 5 | IN | Actor Bus IN socket to connect the main instrument or another dDrive |
| 6 | OUT | Actor Bus OUT socket to connect another dDrive |
Overview of Functions
A dDrive with a DispenSix six-port burette functions as liquid handler.
The piston in the burette is connected to the piston rod of the dDrive. The piston rod and therefore the piston are moved by the spindle motor in the dDrive. The spindle motor has a resolution of 120000 steps. This allows for accurate and aspiration and dosing of liquids.
The gear on the dDrive rotates the burette and therefore controls which port is open for aspiration or dispensing.
The main instrument controls the actions of the dDrive.

Read the User Manual of the burette for more information on the function of the burette.
Read the Reference Manual of the main instrument for more information on the programming of the aspiration and dispensing.
Installation
Scope of Delivery
- dDrive
- Cable M8A/F, RJ12/M cable 60 cm
- User Manual
- Declaration of conformity
- Test report
Download Manuals
- Go to the website www.mt.com/library.
- Select the Technical Documentation tab.
- Find the product type on the housing of the main instrument and enter it into the search field.
- Start the search.
- Select the manual from the result list.
- Select the link.
- The manual is either opened or downloaded depending on the browser settings.
- Check which firmware version is installed on your main instrument.
- If the manual is not written for the installed firmware version, contact your authorized METTLER TOLEDO service representative or dealer.
Unpack the dDrive
- Unpack the dDrive.
- Store the protective packaging for later transport over long distances.
- Check that you have received all parts listed in the scope of delivery.
- Inspect the parts visually for flaws or damage.
- If parts are missing or damaged, report it to your authorized METTLER TOLEDO service representative or dealer.
Position the dDrive
The dDrive has been developed for indoor operation in a well-ventilated area.
The following site requirements apply:
- Ambient conditions within the limits specified in the technical data
- No powerful vibrations
- No direct sunlight
- No corrosive gas atmosphere
- No explosive atmosphere
- No powerful electric or magnetic fields
Procedure
- Place the dDrive on a level surface.
- Wait for at least three hours before you connect the dDrive to the main instrument if the temperature during transport or storage was more than 20°C lower than the temperature in the laboratory.
- Install the cables in such a way that they cannot be damaged or interfere with operation.
Install the Burette
- The dDrive is connected to the main instrument.
- The piston rod (2) is in its lower position.
- The knob points to the open lock (1).

- Slide the burette (2) onto the dDrive.
- Turn the knob (1) clockwise to the closed lock.

Remove the Burette
- The dDrive is connected to the main instrument.
- The piston rod of the dDrive is in its lower position.
- The burette and the connected tubes are empty.

- Disconnect the tubes.
- Turn the knob (2) counterclockwise to the open lock.
- Slide the burette (1) off the dDrive.
Operation
Read the Reference Manual of the main instrument for more information about how to control the dDrive.
Maintenance
In this chapter, you find descriptions of the maintenance tasks you can perform yourself. Any other maintenance tasks need to be performed by a service technician that has been qualified by METTLER TOLEDO.
If you experience problems with your accessory, contact your authorized METTLER TOLEDO dealer or service representative.
METTLER TOLEDO recommends that a preventive maintenance and calibration certification is done at least once a year through your authorized METTLER TOLEDO dealer or service representative.
Maintenance Schedule
Follow this maintenance schedule, unless otherwise required by the standard operating procedures of your company.
Everyday
Check the dDrive and the burette visually for leakage
Clean the dDrive
NOTICE
Damage to the dDrive due to inappropriate cleaning methods
Inappropriate cleaning agents can damage the housing or other parts of the dDrive. If liquids enter the housing, they can damage the dDrive.
- Make sure the cleaning agent is compatible with the material of the part you want to clean.
- Make sure that no liquid enters the interior of the dDrive.
METTLER TOLEDO recommends the following cleaning agents:
- Isopropanol
- Ethanol
- Water with a mild detergent
If you have questions about the compatibility of cleaning agents, contact your authorized METTLER TOLEDO service representative or dealer.
Procedure
- Wipe the housing with a cloth moistened with the cleaning agent.
Prepare the dDrive for Storage or Shipping
- Remove the burette.
- Disconnect the dDrive from the main instrument.
- Clean the dDrive.
- To store the dDrive, keep it in a dry and clean place.
- To ship the dDrive, use the original packaging.
Dispose of the dDrive
In conformance with the European Directive 2012/19/EU on Waste Electrical and Electronic Equipment (WEEE) this device may not be disposed of in domestic waste. This also applies to countries outside the EU, per their specific requirements.
Please dispose of this product in accordance with local regulations at the collecting point specified for electrical and electronic equipment. If you have any questions, please contact the responsible authority or the distributor from which you purchased this device. Should this device be passed on to other parties, the content of this regulation must also be related.
Technical Data
| Characteristic | Value | |
| Power input | Power consumption | 24 V DC ±10 %, 0.5 A |
| Input rating | 24 V DC ±10 %, 3 A | |
| Connector type | M8, 4 pin, male | |
| Power output | Output rating | 24 V DC ±10 %, 2.5 A |
| Connector type | M8, 4 pin, female | |
| Dimensions | Width | 81.2 mm |
| Depth | 167 mm | |
| Height | 190.5 mm | |
| Weight | approx. 1.75 kg | |
| Materials | Housing | PBT (polybutylenterephthalat) |
| Piston rod | Polyetheretherketone (PEEK KetaSpire KT-820 SL30) | |
| Ambient conditions | Ambient temperature | +5°C…+40°C |
| Relative humidity | Non-condensing, max. 80% for temperatures up to 31°C, decreasing linearly to 50% at 40°C | |
| Altitude | Up to 5000 m above sea level | |
| Use | In interior spaces | |
| Overvoltage category | II | |
| Pollution degree | 2 | |
| Storage conditions | Temperature | -20…+70 °C |
| Relative humidity | 0…95 % | |
| Performance | Resolution | 120000 steps (0.42 uL) |
| Dead volume | ~ 45 uL | |
| Volume range dispensing | 0.010…50 mL | |
| Volume range aspirating | 0.010…50 mL | |
| Dispensing accuracy | According to ISO 8655-3 | |
| Dispensing precision | ||
| Aspiration accuracy | ||
| Aspiration precision |
Accessories
All parts and accessories are specified with their order number, and quantity where more than one part is included.
If you have any questions, contact your authorized METTLER TOLEDO service representative or dealer.
- DispenSix set
- Cable M8A/F, RJ12/M 60 cm
- Cable M8A/F, M8A/M 60 cm




















