Husqvarna 593024301 Broom Rider Instruction Manual
SYMBOLS
The following symbols can be found on the machine to remind you of the care and attention that are required during use. The symbols mean:

Warning!
Read the instruction manual and the safety manual before using the machine.

Warning!
Keep hands and feet away from the rotating parts of the machinery.

Warning!
Watch out for discarded objects. Keep onlookers away.

Warning!
Before starting repair work, remove the spark plug cable from the spark plug.
Warning!
Never use the machine with damaged protections or without the safeguards fitted in place.
SAFETY REGULATIONS
- These regulations should be read carefully by everyone using the machine.
- Tell everyone who wants to use the sweeper what the risks involved are, and how accidents can be avoided.
- Keep hands and feet away from the rotating parts of the machinery.
- The fewer people there are near the machine, the less risk there is of anyone being hurt by stones or other hard objects thrown out by the brushes.
- Keep children clear of the working area of the machine at all times. Have another adult person keep an eye on the children.
- Be careful when reversing. Look back before and during reversing to check for obstacles. Beware of small children.
- Do not drive too near ditches or high kerbs. The machine may overturn if a wheel goes over the edge or a shoulder gives away.
- When clearing snow, never point the sweeper in the direction of people, animals, windows etc. Stones may be hidden in the snow, and may be thrown out with considerable force.
- Always switch off the engine before cleaning the sweeper, or carrying out repairs, adjustments or inspections.
- Tighten all nuts and screws to ensure that the machine is in a safe working condition.
- Always use original spare parts. Using nonoriginal parts may involve a risk of damage, even if they fit the machine.
Package Content

| 59142 | M10 x 70 | 88038 | M10 |
![]() | ![]() | ![]() | ![]() |
| M10 | M8 x 16 | M8 | |
![]() |
Instructions


























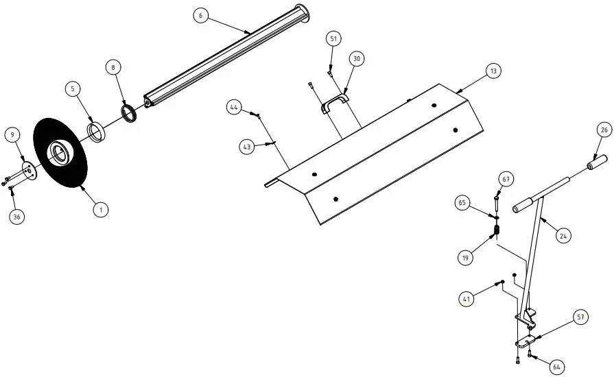
Spare parts




CERTIFICATE
Manufacturer:
KONEPAJA A. VANNE, KOVA, Veistamontie 16, FIN- 24800 HALIKKO, FINLAND, hereby certifies that the machine of type T-20447 conforms to Machine Directive 2006/42/EC concerning essential health and safety requirements in relation to design and manufacture.
Issued at Halikko 2018.’
Declaration of Conformity
Product model/type
T-20447
Serial numbers dating from 2023 and onwards.
This declaration is issued under the sole responsibility of the product manufacturer.
The object of the declaration described above is in conformity with the relevant UK Statutory Instruments and their amendments:
- The supply of Machinery (Safety) Regulations 2008
Issued at Halikko, 31.12.2022-
Manufacturer:
Konepaja A.
Veistamontie 16
FIN-24800
Halikko
FINLAND
UK importer:
Vanne Husqvarna Uk Ltd
Preston Road, Co.
Durham
DL5 6UP
![]()
Managing Director
Authorized representative for KOVA and responsible for technical documentation
![]()

















