
BOSCH GST 700 Professional Reciprocating saw

Safety Notes
General Power Tool Safety Warnings
WARNING Read all safety warnings and all instructions. Failure to follow the warnings and instructions may result in electric shock, fire and/or serious injury.
Save all warnings and instructions for future reference.
The term “power tool” in the warnings refers to your mains-operated (corded) power tool or battery-operated (cordless) power tool.
Work area safety
- Keep work area clean and well lit. Cluttered or dark areas invite accidents.
- Do not operate power tools in explosive atmospheres, such as in the presence of flammable liquids, gases or dust. Power tools create sparks which may ignite the dust or fumes.
- Keep children and bystanders away while operating a power tool. Distractions can cause you to lose control.
Electrical safety
- Power tool plugs must match the outlet. Never modify the plug in any way. Do not use any adapter plugs with earthed (grounded) power tools. Unmodified plugs and matching outlets will reduce risk of electric shock.
- Avoid body contact with earthed or grounded surfaces, such as pipes, radiators, ranges and refrigerators. There is an increased risk of electric shock if your body is earthed or grounded.
- Do not expose power tools to rain or wet conditions. Water entering a power tool will increase the risk of electric shock.
- Do not abuse the cord. Never use the cord for carrying, pulling or unplugging the power tool. Keep cord away from heat, oil, sharp edges and moving parts. Damaged or entangled cords increase the risk of electric shock.
- When operating a power tool outdoors, use an extension cord suitable for outdoor use. Use of a cord suitable for outdoor use reduces the risk of electric shock.
- If operating a power tool in a damp location is unavoidable, use a residual current device (RCD) protected supply. Use of an RCD reduces the risk of electric shock.
Personal safety
- Stay alert, watch what you are doing and use common sense when operating a power tool. Do not use a power tool while you are tired or under the influence of drugs, alcohol or medication. A moment of inattention while operating power tools may result in serious personal injury.
- Use personal protective equipment. Always wear eye protection. Protective equipment such as dust mask, non-skid safety shoes, hard hat, or hearing protection used for appropriate conditions will reduce personal injuries.
- Prevent unintentional starting. Ensure the switch is in the off-position before connecting to power source and/or battery pack, picking up or carrying the tool. Car-rying power tools with your finger on the switch or energising power tools that have the switch on invites accidents.
- Remove any adjusting key or wrench before turning the power tool on. A wrench or a key left attached to a rotating part of the power tool may result in personal injury.
- Do not overreach. Keep proper footing and balance at all times. This enables better control of the power tool in unexpected situations.
- Dress properly. Do not wear loose clothing or jewelry. Keep your hair, clothing and gloves away from moving parts. Loose clothes, jewellery or long hair can be caught in moving parts.
- If devices are provided for the connection of dust extraction and collection facilities, ensure these are connected and properly used. Use of dust collection can reduce dust-related hazards.
Power tool use and care
- Do not force the power tool. Use the correct power tool for your application. The correct power tool will do the job better and safer at the rate for which it was designed. Do not use the power tool if the switch does not turn it on and off. Any power tool that cannot be controlled with the switch is dangerous and must be repaired.Power tool use and care
- Disconnect the plug from the power source and/or the battery pack from the power tool before making any adjustments, changing accessories, or storing power tools. Such preventive safety measures reduce the risk of starting the power tool accidentally.
- Store idle power tools out of the reach of children and do not allow persons unfamiliar with the power tool or these instructions to operate the power tool. Power tools are dangerous in the hands of untrained users.
- Maintain power tools. Check for misalignment or binding of moving parts, breakage of parts and any other condition that may affect the power tool’s operation. If damaged, have the power tool repaired before use. Many accidents are caused by poorly maintained power tools.
- Keep cutting tools sharp and clean. Properly maintained cutting tools with sharp cutting edges are less likely to bind and are easier to control.
- Use the power tool, accessories and tool bits etc. in accordance with these instructions, taking into account the working conditions and the work to be performed. Use of the power tool for operations different from those intended could result in a hazardous situation.
Service
Have your power tool serviced by a qualified repair person using only identical replacement parts. This will ensure that the safety of the power tool is maintained.
Safety Warnings for Jigsaws
- Hold power tool by insulated gripping surfaces, when performing an operation where the cutting accessory may contact hidden wiring or its own cord. Cutting accessory contacting a “live” wire may make exposed metal parts of the power tool “live” and could give the operator an electric shock.
- Keep hands away from the sawing range. Do not reach under the workpiece. Contact with the saw blade can lead to injuries.
- Apply the machine to the workpiece only when switched on. Otherwise there is danger of kickback when the cutting tool jams in the workpiece.
- Pay attention that the base plate 6 rests securely on the material while sawing. A jammed saw blade can break or lead to kickback.
- When the cut is completed, switch off the machine and then pull the saw blade out of the cut only after it has come to a standstill. In this manner you can avoid kick-back and can place down the machine securely.
- Use only undamaged saw blades that are in perfect condition. Bent or dull saw blades can break, negatively influence the cut, or lead to kickback.
- Do not brake the saw blade to a stop by applying side pressure after switching off. The saw blade can be damaged, break or cause kickback.
- Use suitable detectors to determine if utility lines are hidden in the work area or call the local utility company for assistance. Contact with electric lines can lead to fire and electric shock. Damaging a gas line can lead to explosion. Penetrating a water line causes property damage or may cause an electric shock.
- Secure the workpiece. A workpiece clamped with clamp-ing devices or in a vice is held more secure than by hand.
- Always wait until the machine has come to a complete stop before placing it down. The tool insert can jam and lead to loss of control over the power tool.
- Products sold in GB only: Your product is fitted with a BS 1363/A approved electric plug with internal fuse
(ASTA approved to BS 1362). - If the plug is not suitable for your socket outlets, it should be cut off and an appropriate plug fitted in its place by an authorised customer service agent. The replacement plug should have the same fuse rating as the original plug. The severed plug must be disposed of to avoid a possible shock hazard and should never be inserted into a mains socket elsewhere.
Products sold in AUS and NZ only: Use a residual current device (RCD) with a rated residual current of 30 mA or less.
Product Description and Specifications
Read all safety warnings and all instructions. Failure to follow the warnings and instructions may result in electric shock, fire and/or serious injury.
While reading the operating instructions, unfold the graphics page for the machine and leave it open.
Intended Use
The machine is intended for making separating cuts and cut-outs in wood, plastic, metal, ceramic plates and rubber while resting firmly on the workpiece. It is suitable for straight and curved cuts with mitre angles to 45°. The saw blade recommendations are to be observed.
Product Features
The numbering of the product features refers to the illustration of the machine on the graphics page.
- Lock-on button for On/Off switch
- On/Off switch
- Thumbwheel for stroke rate preselection
- Hex key
- Vacuum connection
- Base plate
- Adjusting lever for orbital action
- SDS saw blade receptacle
- Guide roller
- Saw blade
- Contact protector
- Cover
- Handle (insulated gripping surface)
- Splinter guard*
- Screw
- Scale for mitre angle
- Lead for the parallel guide
- Locking screw for parallel guide*
- Parallel guide *
- Centring tip of the circle cutter*
*Accessories shown or described are not part of the standard delivery scope of the product. A complete overview of accessories can be found in our accessories program.
Technical Data

Noise/Vibration Information
Sound emission values determined according to
EN 60745-2-11.
Typically the A-weighted noise levels of the product are: Sound pressure level 90 dB(A); Sound power level
101 dB(A). Uncertainty K =3 dB.
Wear hearing protection!
Vibration total values ah (triax vector sum) and uncertainty K determined according to EN 60745-2-11:
Cutting wood: ah=4.0 m/s2, K=1.5 m/s2,
Cutting sheet metal: ah=4.0 m/s2, K=1.5 m/s2.
The vibration level given in this information sheet has been measured in accordance with a standardised test given in EN 60745 and may be used to compare one tool with another. It may be used for a preliminary assessment of exposure. The declared vibration emission level represents the main applications of the tool. However if the tool is used for different applications, with different accessories or insertion tools or is poorly maintained, the vibration emission may differ. This may significantly increase the exposure level over the total working period.
An estimation of the level of exposure to vibration should also take into account the times when the tool is switched off or when it is running but not actually doing the job. This may significantly reduce the exposure level over the total working period. Identify additional safety measures to protect the operator from the effects of vibration such as: maintain the tool and the accessories, keep the hands warm, organisation of work patterns.
Assembly
Replacing/Inserting the Saw Blade
- When mounting the saw blade, wear protective gloves. Danger of injury when touching the saw blade.
Selecting a Saw Blade
An overview of recommended saw blades can be found at the end of these instructions. Use only T-shank saw blades. The saw blade should not be longer than required for the intended cut.
Use a thin saw blade for narrow curve cuts.
Inserting/Replacing the Saw Blade (see figure A)
1 Insert the saw blade 10 until it latches in the SDS saw
blade receptacle 8.
While inserting the saw blade, pay attention that the back of the saw blade is positioned in the groove of the guide roller 9.|
Check the tight seating of the saw blade. A loose saw blade can fall out and lead to injuries.
2 Slide the cover of the saw blade holder 8 upwards in the 3 direction of the arrow and remove the saw blade 10.
Splinter Guard (see figure B)
The splinter guard 14 (accessory) can prevent fraying of the surface while sawing wood. The splinter guard can be used only at a cutting angle of 0°.
Press the splinter guard 14 from the bottom into the base plate 6.
Dust/Chip Extraction
- Dust from materials such as lead-containing coatings, some wood types, minerals and metal can be harmful to one’s health. Touching or breathing in the dust can cause allergic reactions and/or lead to respiratory infections of the user or bystanders.
Certain dust, such as oak or beech dust, is considered carcinogenic, especially in connection with wood-treatment additives (chromate, wood preservative). Materials containing asbestos may only be worked by specialists.- Provide for good ventilation of the working place.
- It is recommended to wear a P2 filter-class respirator. Observe the relevant regulations in your country for the materials to be worked.
- Prevent dust accumulation at the workplace. Dust can easily ignite.
Operation
Operating Modes
Orbital Action Settings
The four orbital action settings allow for optimal adaptation of cutting speed, cutting capacity and cutting pattern to the material being sawed.
The orbital action can be adjusted with the adjusting lever 7, even during operation.
O No orbital action
I Small orbital action
II Medium orbital action
III Large orbital action
The optimal orbital action setting for the respective application can be determined through practical testing. The following recommendations apply:
- Select a lower orbital action setting (or switch it off) for a finer and cleaner cutting edge.
- For thin materials such as sheet metal, switch the orbital action off.
- For hard materials such as steel, work with low orbital action.
- For soft materials and when sawing in the direction of the grain, work with maximum orbital action.
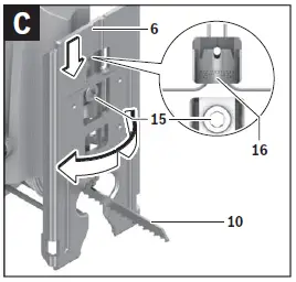
Adjusting the Cutting Angle (see figure C)
The base plate 6 can be swivelled by 45° to the left or right for mitre cuts.
Loosen the screw 15 with the Allen key 4 and slide the base plate 6 slightly towards the saw blade 10.
For adjustment of precise mitre angles, the base plate has adjustment notches on the left and right at 0° and 45°. Swivel the base plate 6 to the desired position according to the scale 16. Other mitre angles can be adjusted using a protractor.
Afterwards, push the base plate 6 to the stop toward the mains cable.
Tighten the screw 15 again.
The splinter guard 14 can not be inserted for mitre cuts.
Controlling/Presetting the Stroke Rate
With the thumbwheel for stroke rate preselection 3, the stroke rate can be preset and changed during operation.
The required stroke rate is dependent on the material and the working conditions and can be determined by a practical trial.
Reducing the stroke rate is recommended when the saw blade engages in the material as well as when sawing plastic and aluminium.
After longer periods of work at low stroke rate, the machine can heat up considerably. Remove the saw blade from the machine and allow the machine to cool down by running it for ap-prox. 3 minutes at maximum stroke rate.
Starting Operation
Observe correct mains voltage! The voltage of the power source must agree with the voltage specified on the nameplate of the machine. Power tools marked with 230 V can also be operated with 220
Switching On and Off
To switch on the power tool, press the On/Off switch 2 and keep it pressed.
To lock the pressed On/Off switch 2, push the lock-on button 1 toward the right or left.
To switch off the machine, release the On/Off switch 2. When the On/Off switch 2 is locked, press it first and then release it.
To save energy, only switch the power tool on when using it.
Working Advice.
- Before any work on the machine itself, pull the mains plug.
- When working small or thin work pieces, always use a sturdy support or a saw table (accessory).
Check wood, press boards, building materials, etc. for foreign objects such as nails, screws or similar, and remove them, if required.
Plunge Cutting (see figure D)

The plunge cutting procedure is only suitable for treating soft materials such as wood, plaster board or similar! Do not work metal materials with the plunge cutting procedure!
Use only short saw blades for plunge cutting. Plunge cutting is possible only with the mitre angle set at 0°.
Place the machine with the front edge of the base plate 6 on to the workpiece without the saw blade 10 touching the workpiece and switch on. For machines with stroke rate control, select the maximum stroke rate. Firmly hold the machine against the workpiece and by tilting the machine, slowly plunge the saw blade into the workpiece.
When the base plate 6 fully lays on the workpiece, continue sawing along the desired cutting line.
Parallel Guide with Circle Cutter (Accessory)
For cuts using the parallel guide with circle cutter 19 (acces-sory), the thickness of the material must not exceed a maximum of 30 mm.
Parallel Cuts (see figure E): Loosen the locking screw 18 and slide the scale of the parallel guide through the lead 17 in the base plate. Set the desired cutting width as the scale value on the inside edge of the base plate. Tighten the locking screw 18.
Circular Cuts (see figure F): Set the locking screw 18 to the other side of the parallel guide. Slide the scale of the parallel guide through the lead 17 in the base plate. Drill a hole in the workpiece centred in the section to be sawn. Insert the cen-tring tip 20 through the inside opening of the parallel guide and into the drilled hole. Set the radius as the scale value on the in-side edge of the base plate. Tighten the locking screw 18.
Coolant/Lubricant
When sawing metal, coolant/lubricant should be applied alongside cutting line because of the material heating up.
Maintenance and Service
Maintenance and Cleaning
- For safe and proper working, always keep the machine and ventilation slots clean.
Clean the saw blade holder regularly. For this, remove the saw blade from the machine and lightly tap out the machine on a level surface.
Heavy contamination of the machine can lead to malfunctions. Therefore, do not saw materials that produce a lot of dust from below or overhead. - In extreme conditions, always use dust extraction as far as possible. Blow out ventilation slots frequently and install a portable residual current device (PRCD). When working metals, conductive dust can settle in the interior of the power tool. The total insulation of the power tool can be impaired.
Lubricate the guide roller 9 occasionally with a drop of oil.
Check the guide roller 9 regularly. If worn, it must be replaced through an authorised Bosch after-sales service agent.
If the replacement of the supply cord is necessary, this has to be done by Bosch or an authorized Bosch service agent in order to avoid a safety hazard.
After-sales Service and Application Service
Our after-sales service responds to your questions concerning maintenance and repair of your product as well as spare parts. Exploded views and information on spare parts can also be found under:
www.bosch-pt.com
Bosch’s application service team will gladly answer questions concerning our products and their accessories.
In all correspondence and spare parts orders, please always include the 10-digit article number given on the nameplate of the product.
Great Britain
Robert Bosch Ltd. (B.S.C.)
P.O. Box 98
Broadwater Park
North Orbital Road
Denham
Uxbridge
UB 9 5HJ
At www.bosch-pt.co.uk you can order spare parts or arrange the collection of a product in need of servicing or repair. Tel. Service: (0344) 7360109
E-Mail: [email protected]
Ireland
Origo Ltd.
Unit 23 Magna Drive
Magna Business Park
City West
Dublin 24
Tel. Service: (01) 4666700
Fax: (01) 4666888
Australia, New Zealand and Pacific Islands
Robert Bosch Australia Pty. Ltd.
Power Tools
Locked Bag 66
Clayton South VIC 3169
Customer Contact Center
Inside Australia:
Phone: (01300) 307044
Fax: (01300) 307045
Inside New Zealand:
Phone: (0800) 543353
Fax: (0800) 428570
Outside AU and NZ:
Phone: +61 3 95415555
www.bosch-pt.com.au
www.bosch-pt.co.nz
Republic of South Africa
Customer service
Hotline: (011) 6519600
Gauteng – BSC Service Centre
35 Roper Street, New Centre
Johannesburg
Tel.: (011) 4939375
Fax: (011) 4930126
E-Mail: [email protected]
KZN – BSC Service Centre
Unit E, Almar Centre
143 Crompton Street
Pinetown
Tel.: (031) 7012120
Fax: (031) 7012446
E-Mail: [email protected]
Western Cape – BSC Service Centre
Democracy Way, Prosperity Park
Milnerton
Tel.: (021) 5512577
Fax: (021) 5513223
E-Mail: [email protected]
Bosch Headquarters
Midrand, Gauteng
Tel.: (011) 6519600
Fax: (011) 6519880
E-Mail: [email protected]
Disposal
The machine, accessories and packaging should be sorted for environmental-friendly recycling.
Do not dispose of power tools into house-hold waste!
Only for EC countries:
According to the European Guideline 2012/19/EU for Waste Electrical and Electronic Equipment and its implementation into national right, power tools that are no longer usable must be collected separately and disposed of in an environmentally correct manner.
Subject to change without notice.
References
My Blog
dz.com
Welcome to nis.com
Skånevik Ølen Kraftlag AS
ÐлектроинÑтрументы Bosch | Bosch Professional
Bosch Power Tools | Bosch Power Tools
Bosch Power Tools | Bosch Power Tools
Select your country | Bosch Power Tools
Bosch Power Tools | Bosch Power Tools
Bosch Elektrowerkzeuge | Bosch Elektrowerkzeuge
Outillage électroportatif Bosch | Outillage électroportatif Bosch
Elettroutensili Bosch | Elettroutensili Bosch
Bosch Elektrowerkzeuge und Zubehör | Bosch Elektrowerkzeuge
Bosch-sähkötyökalut | Bosch-sähkötyökalut
Outillage électroportatif Bosch | Outillage électroportatif Bosch
Bosch elektromos kéziszerszámok | Bosch elektromos kéziszerszámok
Elektronarzędzia Bosch | Elektronarzędzia Bosch
bosch-pt.ru
Elektrické náradie Bosch | Elektrické náradie Bosch
Bosch România | Bosch în România
Начало | Бош в България
Invented for life | Bosch Global
Contato | Bosch no Brasil
Inicio | Bosch en Peru
Ana Sayfa | Bosch Türkiye
Domovská stránka | Bosch Česká republika
Innostavia tuotteita ja palveluita | Bosch Suomessa
Herramientas eléctricas de Bosch | Bosch Professional

















