Installation Instructions
for use by heating contractor
Burner Filter Kit
for use with Vitocrossal 200 CI2 Boilers
Part # 7946571, 399/500
Part # 7946570, 750/1000
Part # 7946569, 1500
Part # 7946568, 2000
Safety and Installation Requirements
Please ensure that these instructions are read and understood before starting any service work. Failure to comply with these instructions may cause product/property damage, severe personal injury and/or loss of life.
Working on the equipment
The installation, adjustment, service and maintenance of this product must be performed by a licensed professional heating contractor who is qualified and experienced in
the installation, service, and maintenance of hot water boilers. There are no user serviceable parts on the boiler, burner or control.
Ensure that main power to the equipment being serviced is off.
Ensure that the main fuel supply valve to the boiler is closed.
Take precautions to avoid accidental activation of power or fuel during service work.
Do not perform service work on any component part without ensuring safe operation of the heating system.
When replacing parts, use original Viessmann or Viessmann approved replacement parts.
Refer to the Installation Instructions applicable to this boiler.
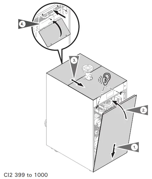
Preparing the Boiler (CI2 399 to 1000)

- Turn the power switch off and disconnect the power supply to the boiler close gas shutoff valve.
- Remove junction box retaining screws and set aside, swing the junction box access door to open.
- Push back top panels to access the front panel release (top panel removal is not required).
- Using a screwdriver push down on the front panel releases.
- Pull forward at the top of the front panel and lift up to remove.
Preparing the Boiler (CI2 1500/2000)

1. Shut off and disconnect the boiler power supply.
2. Flip up the handle in the top panel.
3. Using the handle, pull straight up.
4. Using a screw driver, push in on the panel retaining clip while pulling up on the handle to remove the panel (the location is donated by an up arrow in the panel).
5. Using a screwdriver push down on the front panel release.
6. Pull forward at the top of the front panel and lift up to remove.
Removing the Air Intake Tube

- For 750/1000 MBH burners only, remove air intake tube.
Note: The CI2 2000 is equipped with two 1000 MBH burners.
Installing the Burner Filter
399/500 MBH burners | 750/1000 MBH burners |
Closing the Boiler

- Place the bottom of the front panel on the front sill.
- Push in the top of the front panel until you hear a click.
- Pull back the top panels.
- Close the junction box access door and reinstall retaining screws.
Printed on environmentally friendly (recycled and recyclable) paper.

- Place the bottom of the front panel on the front sill.
- Push in the top of the front panel until you hear a click.
- Slide the top front panel into position.
- Flip down the top panel handle.
Technical information subject to change without notice.
Scan for a digital copy of this document
http://www.vitoteam.com/docs/?id=6178721&doc=AII&s=CI2&src=QR
Viessmann Manufacturing Company Inc.
750 McMurray Road Waterloo, Ontario
N2V 2G5
Canada Techinfo Line 1-888-484-8643 1-800-387-7373
Fax (519) 885-0887
www.viessmann.ca
[email protected]
Viessmann Manufacturing Company (U.S.) Inc.
45 Access Road Warwick, Rhode Island
02886
USA Techinfo Line 1-888-484-8643 1-800-288-0667
Fax (401) 732-0590
www.viessmann-us.com
[email protected]
6178 721 – 02
399/500 MBH burners
750/1000 MBH burners

















