FZG 3005 Gas Grill 3 Burners
Instruction Manual
FZG 3005
GENERAL SAFETY INSTRUCTIONS
DANGER
If you smell gas:
- Shut off the gas to the appliance.
- Extinguish any open flame.
- Open Lid.
- If the odor continues, immediately call your gas supplier or fi re department.
WARNING!
Improper installation, adjustment, alteration, service or maintenance can cause injury or property damage.
Read the installation, operation, and maintenance instructions thoroughly before installing or servicing this equipment.
Failure to follow these instructions could result in fi re or explosion which could cause property damage, personal injury, or death
DANGER!
DO NOT use gas grill for indoor cooking or heating. TOXIC fumes can accumulate and cause asphyxiation.
NOT to be used in or on boats or recreational vehicles.
SAVE THESE INSTRUCTIONS FOR FUTURE REFERENCE. IF YOU ARE ASSEMBLING THIS UNIT FOR SOMEONE ELSE, GIVE THIS MANUAL TO HIM OR HER TO SAVE FOR FUTURE REFERENCE.
IMPORTANT NOTICE: READ ALL INSTRUCTIONS PRIOR TO ASSEMBLY AND USE!
WARNING
DO NOT store or use gasoline or other fl ammable vapors and liquids in the vicinity of this or any other appliance.
A gas cylinder not connected for use shall NOT be stored in the vicinity of this or any other appliance.
Safety First!
Read and understand all warnings and precautions prior to operating your grill.
DANGER
To prevent fi re or explosion hazards when testing for a leak:
- Always perform a “leak test” before lighting the grill, each time the cylinder is connected for use.
- No smoking. Do not use or permit sources of ignition in the area while conducting a leak test.
- Conduct the leak test outdoors in a well-ventilated area.
- Do not use matches, lighters, or a flame to check for leaks.
- Do not use the grill until any and all leaks are corrected. If you are unable to stop a leak, disconnect the propane supply. Call a gas appliance serviceman or your local propane gas supplier.
WARNING
- This grill is for outside use only, and shall not be used in a building, garage, or any other enclosed area.
- This grill is for use with propane gas only (propane gas cylinder not included).
- Never attempt to attach this grill to the self-contained propane system of a camper trailer, motor home or house
- Never use charcoal or lighter fluid.
- The use of alcohol, or prescription or non-prescription drugs may impair the consumer’s ability to properly assemble or safely operate the appliance.
- Do not use gasoline, kerosene, or alcohol for lighting!
- Always open grill lid carefully and slowly as heat and steam trapped within grill can severely burn you.
- Always place your grill on a hard, level surface far away from combustibles. An asphalt or blacktop surface may not be acceptable for this purpose.
- DO not attempt to move the grill while it is lit.
- Do not leave a lit grill unattended especially keep children and pets away from grill at all times.
- This is not a tabletop grill, therefore; do not place this grill on any type of tabletop surface.
- Do not operate grill in high winds.
- Do not use the grill unless it is COMPLETELY assembled and all parts are securely fastened & tightened.
- Keep all combustible items and surfaces at least 24 inches (61cm) away from the grill at all times. DO NOT use this gas grill or any gas product under any overhead or near any unprotected combustible constructions
- Place dust cap on cylinder valve outlet whenever the cylinder is not in use. Only install the type of dust cap on the cylinder valve outlet that is provided with the cylinder valve. Other types of caps or plugs may result in the leakage of propane.
WARNING
- Do not store spare LP cylinder within 10 feet (3m) of this appliance
- Do not store or use gasoline or other fl ammable liquids or vapors within 25 feet (8m) of this appliance.
- When cooking with oil/grease, do not allow the oil/grease to exceed 350°F (177°C).
- Do not leave oil/grease unattended.
CAUTION
Do not touch metal parts of grill until it has completely cooled (about 45 min.) to avoid burns, unless you are wearing protective gear (potholders, gloves, BBQ mittens, etc.).
Do not use it in an explosive atmosphere. Keep grill area clear and free from combustible materials, gasoline and other flammable vapors and liquids.
Do not alter the grill in any manner.
Clean and inspect the hose before each use of the appliance. If there is evidence of abrasion, wear, cuts, or leaks, the hose must be replaced prior to the appliance being put into operation. The replacement hose assembly shall be that specifi ed by the manufacturer.
Move gas hoses as far away as possible from hot surfaces and dripping hot grease.
Never keep a filled container in a hot car or car trunk. Heat will cause the gas pressure to increase, which may open the relief valve and allow gas to escape.
CAUTION
Liquid propane (LP) gas is fl ammable and hazardous if handled improperly. Become aware of the characteristics before using any LP product.
LP Characteristics: Flammable, explosive under pressure, heavier than air, and settles and pools in low areas.
In its natural state propane has no odor. For your safety, an odorant is added that smells like rotten cabbage.
Contact with LP can cause freeze burns to the skin.
This grill is shipped from the factory for LP gas use Only.
Never use an LP cylinder with a damaged body, valve, collar, or footing.
Dented or rusted LP cylinders may be hazardous and should be checked by your LP gas supplier.
CAUTION
It is essential to keep the grill’s valve compartment, burners, and circulating air passages clean. Inspect grill before each use.
GENERAL INFORMATION
PROPANE GAS CYLINDER NEEDED TO OPERATE:
This Gas Grill is NOT for commercial use!
Liquid propane units must be used with a 20-pound cylinder only.
If the outdoor cooking gas appliance is not in use the gas MUST be turned off at the supply cylinder.
The pressure regulator and hose assembly supplied with the gas grill MUST be used. Replacement regulators and hose assemblies must be supplied by the manufacturer. Please see the parts page for a replacement part #16.
USER’S MANUAL
Grill and gas cylinder positioning
BBQ
Place the BBQ on a fi rm, fl at and fi re-proof surface.
Make sure to maintain a safety clearance of at least 60 cm from nearby combustible surfaces.
Never move the BBQ when it is lit or still hot from grilling.
Gas cylinder
Position the gas cylinder in such a way that it is not exposed to continuous sunlight or other sources of heat.
The gas cylinder should be placed next to the BBQ when it is being used, not under it.
Make sure that the gas hose does not come into contact with any part of the BBQ that will become hot during use. Ensure that it is not under tension, kinked or in danger of being damaged by other objects.
Do not keep any gas cylinder inside the barbecue trolley when using. It’s forbidden to insert/put a gas cylinder into the appliance.
Connecting the pressure cylinder
Important:
Make sure that the regulator is set to OFF before starting to connect the gas cylinder.
The appearance of regulators and their method of connection varies from country to country.
The following table explains the connection of 6 types of regulator (A-F).
| A 1. Check the rubber seal on the regulator. If it has been damaged in any way, the regulator must be replaced. 2. Connect the gas hose to the regulator (if it is not already attached) and tighten the hose clamp. Connect the regulator to the gas cylinder by screwing it into the valve connector. The pictured regulator has a left-hand thread. | ![]() |
| B 1. Make sure that the regulator is set to OFF. Lift up the spring-loaded locking collar and fi t the regulator onto the top of the gas cylinder. 2. Push the locking collar down until you hear a click. | ![]() |
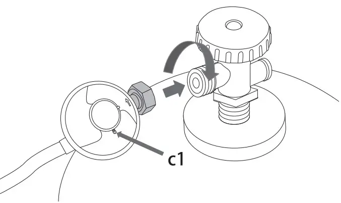
| C Connect the regulator to the gas cylinder by turning the lock nut clockwise. Twist the regulator so that the ventilation hole (c1) is at the bottom. | ![]() |
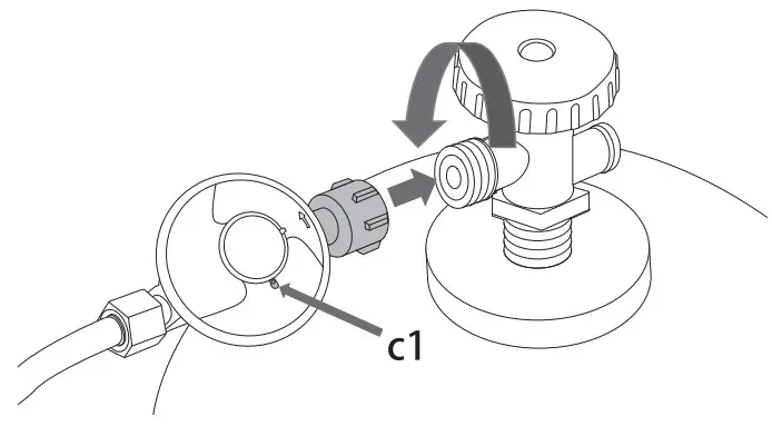
| D Connect the regulator to the gas cylinder by turning the lock nut anticlockwise. Twist the regulator so that the ventilation hole (c1) is at the bottom. | ![]() |
| E Make sure that the regulator is set to OFF. Push the regulator down onto the valve until it clicks into place. | ![]() |
| F 1. Make sure that the regulator is set to OFF. Lift up the spring-loaded locking collar and push the regulator down onto the gas cylinder. 2. Push the locking collar down to lock the regulator onto the gas cylinder. | ![]() |
| 2. Connect the gas hose to the BBQ and tighten the hose clamp. The picture shows the connection of a gas hose in accordance with Swedish standards. In some countries the gas hose is of a larger diameter and is pushed all the way onto the connector. | ![]() |
| 3. Open the lid and make sure that the gas control knobs are set to OFF. 4. Open the gas cylinder by turning the handwheel anticlockwise. | ![]() |
Gas leak testing
Always test for gas leaks before using the BBQ after the gas cylinder has been connected.
Do not smoke while checking for gas leaks.
Do the gas leak test outdoors.
Never use a lit match, cigarette lighter or other naked flame to localize a gas leak.
How to perform a gas leak test:
- Mix up a solution of water and some washing-up liquid.
- Spray or brush some of the soapy water solutions onto the points shown in the picture.
If you detect any leaks (if you find bubbles appearing), make sure that they are sealed before starting to use the product. If you are unsure about using the bbq, contact a qualified service technician before using the product.
Lighting Instructions for barbecue
- Open the hood of the barbecue before attempting to light the burners.
- Turn all the control knobs clockwise to the “OFF” position.
- Connect the regulator to the gas bottle. Turn the gas supply “ON” at the regulator. Check with the use of soapy water for any gas leakage between the bottle and the regulator.
- Push down the front left control knob and keep pressing whilst turning anti-clockwise to the “HIGH” position (a clicking sound is heard), this will light the left-hand burner. Observe if the burner has lit. If not repeat this process.
- If the burner has not lit after retrying wait 5 minutes and repeat step 4.
- Adjust the heat by turning the knob to the High/Low position.
- If the burner does not light. Light the appliance with a match using the lighting hole in the side of the appliance. Consult your gas dealer to rectify the ignition.
- To light the remaining burners in sequence from left to right, and repeat 4 above.
- To turn the barbecue ‘OFF’ turn the cylinder valve or regulator switch to the ‘OFF’ position and then turn the control knob on the appliance clockwise to the ‘OFF position.
WARNING!
If the burner fails to ignite, turn the control knob off (clockwise) and also turn the cylinder valve off. Wait five minutes before attempting to relight with the ignition sequence.
Before cooking for the first time, operate the barbecue for about 15 minutes with the lid closed and the gas turned on LOW. This will “heat clean” the internal parts and dissipate odor from the painted fi nish.
Clean your barbecue after each USE. DO NOT use abrasive or fl ammable cleaners, as it will damage the parts of the product and may start a fi re. Clean in warm soapy water.
WARNING: Accessible parts may be very hot. Keep young children away from the hot appliance at all times (even while cooling down!).
It is recommended that protective gloves (eg oven gloves) be used when handling particularly hot components.
Things to consider when barbecuing
Burn hazard – wear protective gloves.
Ensure that the BBQ is placed in an open area. Never use it in an enclosed space or under a roof.
Keep children and pets at a safe distance from the BBQ.
Never leave the BBQ unattended during use.
The lid must never be closed for more than fi ve minutes at a time when barbecuing, otherwise there is a risk of it becoming damaged and discoloured.
Cleaning and maintenance
Let the BBQ cool completely and clean the exterior using a damp cloth. Use only mild cleaning agents, never solvents or corrosive chemicals.
Check the integrity of the gas hose on a regular basis by fl exing it. If you detect any cracks, replace the hose before using the BBQ again.
Clean the barbecue carefully if necessary:
- Remove the regulator from the gas cylinder and place it to one side.
- Take out the cooking grate and hand wash it carefully.
- Take out the heat shield plate over the burner and remove it if necessary. If the gas outlets are blocked you can carefully remove any dirt or residue by using an appropriate object.
- Carefully scrape away any excess grease from the interior of the barbecue with a plastic or wooden implement.
- You can also carefully wash and dry the interior of the bbq with water and a mild detergent. Make sure that no water gets into the gas hose and burner.
- Remove and wash the cup used for collecting grease when necessary.
Storage
During the barbecuing season, the BBQ should be placed in a sheltered area outdoors, sheltered from the wind, when not in use.
When taking the BBQ in for the winter, clean it according to the Care and Maintenance section.
Remove the gas cylinder and make sure that the gas hose is not bent or damaged by other objects.
The BBQ should be stored in a dry, dust-free environment out of the reach of children.
SERVICING
Your gas barbecue should be serviced annually by a competent registered person.
TROUBLESHOOTING
| PROBLEM | POSSIBLE CAUSE | SOLUTION |
| Burners will not light using the ignition system | 1. LP gas cylinder is empty 2. Faulty regulator 3. Obstructions in the burner 4. Obstructions in gas jets or gas hose 5. Electrode wire loose or disconnected on electrode or ignition unit 6. Electrode or wire is damaged faulty pushbutton igniter | 1. Replace with a full cylinder 2. Have regulator checked or replace 3. Clean burner 4. Clean jets and gas hose 5. Reconnect wire 6. Change electrode and wire Change igniter |
| The burner will not light with a match | 1. LG gas cylinder is empty 2. Faulty regulator 3. Obstructions in the burner 4. Obstructions in gas jets or gas hose | 1. Replace with a full cylinder 2. Have the regulator checked or replace 3.Clean burner 4. Clean jets and gas hose |
| Low flame or flashback (fire in burner tube-a hissing or roaring noise may be heard) | 1. LP gas cylinder too small 2. Obstructions in the burner 3. Obstructions in gas jets or gas hose 4.Windy conditions | 1. Use larger cylinder 2.Clean burner 3. Clean jets and gas hose 4. Use BBQ in a more sheltered position |
Specifications
| UK | |
| Gas (LPG) | 13+(28-30/37) G30 Butane at 28-30 mbar G31 Propane at 37 mbar |
| Pressure and type of gas | Butan 28-30 mbar/ Propan 37 mbar |
| Power | 3 x 3kW = 9 kW |
| Consumption | Butan: 654 (g/h) a Propan: 642 (g/h) |
| Regulator | The regulator that is used must be CE approved |
| Gas hose | The gas hose that is used must be CE-approved (max length 1.5 m) |
| Ignition | Integrated ignition |
| Grill size | 60 x 42 cm |
| Dimensions | 122 x 57 x 112 cm |
PARTS DIAGRAM FOR FZG 3005


ASSEMBLY





PROTECTION OF THE ENVIRONMENT
Warning! Do not dispose of electrical and electronic waste with standard unsorted waste, rather use containers for sorted waste.
You will receive further information regarding the recycling of this power tool from an authorized vendor or at a waste collection facility.
INSTRUCTIONS AND INFORMATION REGARDING THE DISPOSAL OF USED PACKAGING MATERIALS
Dispose of used packaging material at a site designated for waste in your municipality.
The machine and its accessories are manufactured from various materials, e.g. metal and plastic.
Take damaged parts to a recycling center. Inquire at the relevant government department.
This product meets all the basic requirements of EU directives that apply to it.
Changes in the text, design, and technical specifi cations may be made without prior notice and we reserve the right to make these changes.
TECHNICAL DATA

























