
TC36D
BLACK DIAMOND BURNER KIT INSTRUCTIONS

SKU# 22150014
For TC36D & TC36D Arch
Series D Fireplaces
INSTALLER: Leave this manual with the appliance.
CONSUMER: Retain this manual for future reference.
These instructions are supplementary to the Installation and Operating Instructions supplied with the fireplace and should be kept together.
Refer to the Installation and Operating Instructions for proper gas supply, safety requirements and operating instructions
Contents of Package

A. Burner Tube
B. Burner Shield
C. Media Spacer, Rear
D. Media Spacer, Center
E. Media Spacer, Front
F. 5lbs. Tumbled Glass
G. Burner Tray
H. Pilot Shield (including pilot and supply tube).
I. Manifold Assembly
Hardware Package (not shown)
Burner/ Grate Installation

NOTE: If converting to propane, refer to the propane conversion section on page 13 before continuing.
A porcelain panel set must be used in conjunction with the installation of the burner assembly.
NOTE: The burner shield may need to be loosened and retightned after positioning if the panel does not slip in behind it.
- Remove access cover from the valve control center at the inside right hand side of the rebox (Figure 2).

- Remove 2 screws from the air channel and attach the lower rear panel to the rebox with these screws (Figure 3).
- Attach the manifold bracket to the oor shield in the bottom of the rebox with one screw (Figure 4).

- Attach the manifold and pilot supply tubes to the bulk head tting and tighten (Figure 5). Ensure that all connections are gas tight.
- Feed the ignition and sensor wires through the bulkhead plate (Figure 6) to the interface module.


- Attach the ignition and sensor wires to the Interface module as shown in Figure 7.

- Reinstall the valve control center access panel (Figure 8).

Panel Installation

- Remove panel retainer from the upper heat shield. Install right side panel by placing the bottom into the rebox and tipping the top into position (Figure 9). Panel clips must be installed on the bottom of both side panels (notch facing inside)(Figure 9b). To ensure proper positioning of the burner shield. This must be done at the same time as installing the porcelain side panels.
- Position upper rear panel on top of lower rear panel and slip in behind the right panel (Figure 10).


- While supporting the upper rear panel install the left side panel in the same manner as the right side panel (Figure 11). Secure both side panels with the previously removed panel retainer.
- Install burner shield by tipping the shield into the rebox, feed the pilot assembly through the opening in the shield (Figure 12).


- With a short, stubby screwdriver, attach pilot shield to burner tray with two screws (Figure 13).
- Attach the burner tray to the burner shield using two screws at the back of the tray (Figure 14). Ensure that front mounting holes are aligned under tray before tightening.


- Install front media spacers (Figure 15).
- Install rear media spacer (Figure 16).


- Install burner by tilting burner tube through the tray. Ensure that the orice has entered the tube(Figure 17 and Figure 18).
Set the air shutter to fully open for Propane or fully closed for Natural gas.

- Install the center media spacer. Secure the spacer and burner with two long screws (Figure 19).
Four holes must line up to set each screw. Some pressure may need to be applied to the front t ray support on the shield to align the holes (Figure 20).

- Apply just enough glass media to cover the burner assembly (Figure 21).
NOTE: Too much glass media over the burner will cause sooting with the use of propane gas.
Propane Conversion
WARNING
This conversion kit shall be installed by a qualified service agency in accordance with themanufacturer’s instructions and all applicable codes and requirements of the authority having jurisdiction.
If the information in these instructions is not followed exactly, a fire, explosion or production of carbon monoxide may result causing property damage, personal injury or loss of life. The qualified service agency is responsible for the proper installation of this kit. The installation is not proper and complete until the operation of the converted appliance is checked as specified in the manufacturer’s instructions supplied with the kit.
CAUTION
The gas supply and electrical power shall be shut off before proceeding with the conversion.
Note: Factory supplied components must be used to ensure correct input. After conversion confirm proper manifold pressure.
If the unit is to be used on propane convert as follows using the components supplied with this fireplace:
- Ensure the burner, pilot and gas supply are turned off, and the appliance has cooled.
- With a ½” wrench remove the natural gas orifice (Figure 22) and replace with propane orifice (marked “LI”) (Figure 23).

- Fully open the primary air shutter.
- Remove the pilot shield from the burner tray by removing two screws (Figure 24).
- With a 7/16” wrench, loosen the pilot head on the pilot assembly (Figure 25)


- Slide the pilot adjustment band over and ensure that the hole in the orice band is showing. Figure 26 indicates that the pilot is in the Natural Gas position. Figure 27 indicates that the pilot is in the Propane Gas position.

- Fill in the conversion label (Figure 28). Peel off the protective backing and apply the conversion label directly over the gas specifications on the rating label. Rating label can be found on a metal plate stored on the left hand side of the fireplace, behind the decorative trim.

For complete valve conversion installation instructions, refer to the instruction book included in the SIT conversion kit.
Gas Pressure Check
Note: To test the gas pressure, turn off the gas supply before removing the plug from the supply pressure test port or manifold pressure test port.
Verify gas pressures with the fireplace lit and on the highest setting.
- Remove the blanking plug from the pressure test port. The plug is located between the right side lintel and firebox side (Figure 29).
- Thread the extension test fitting into the open test port (Figure 30)
- Attach a pressure gauge onto the fitting.
- When testing is complete remove the extension test fitting and replace the plug. Thread sealant will be required to ensure a gas tight connection.

| Correct gas pressure requirement: | ||
| Supply Pressure | Natural Gas | Propane |
| Minimum | 5.0” wc | 12.5” wc |
| Maximum | 13.9” wc | 13.9” wc |
| Manifold Pressure | ||
| Maximum | 3.5” wc | 10.0” wc |
| Minimum | 1.6” wc | 6.4” wc |
Burner Flame Adjustment
The air shutter on the burner tube controls the primary combustion air. It is set to the closed position at the factory for natural gas fuel. For LP, some adjustment may be necessary to obtain desired ame and to eliminate carbon deposits. Evaluate ame appearance after the replace has reached operating temperature. See Fig. #26 for proper ame pattern.
Open primary air if the window glass and rebox have carbon accumulation and/or the ames are long, dark and stringy. The shutter may also be opened to lessen the ame height.
NOTE:
Proper air shutter setting is required.
The flame should be just orange and “lazy”. It should NEVER be set to create sooting on internal parts and window glass. Allow the fireplace to run for 30 minutes before evaluating flame appearance. See
Figure 31 for an example of what a desireable flame pattern should look like.
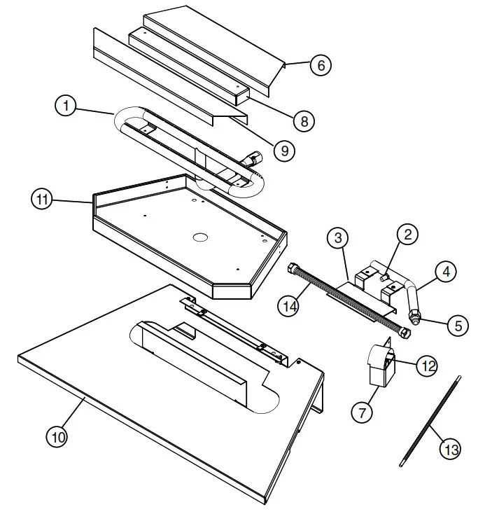
Parts Diagram
NOTE: FIREPLACE & VALVE REPLACEMENT PARTS ARE LOCATED IN THE APPLIANCE INSTRUCTIONS
ITEM … DESCRIPTION ………………………..PART NO.
1………. BURNER TUBE ……….. TC36.5011835WELD
2………. ORIFICE, NG ………………………… marked “NI”
………… ORIFICE, LP …………………………..marked “LI”
………… MANIFOLD ASSEMBLY …………..TC36.9788
3………. MANIFOLD BRACKET ……………………..9631
4………. MANIFOLD ……………………..TC36.9788WLD
5………. DORMONT FITTING …………………. 5019.221
6………. MEDIA SPACER, REAR ……………………9634
7………. PILOT SHIELD …………………………9626.002
8………. MEDIA SPACER, CENTER ………… 9635.001
9………. MEDIA SPACER, FRONT ……………….9634.5
ITEM……DESCRIPTION ………………………PART NO.
10 ……… BURNER SHIELD ……………………. 9636.001
11 ……… BURNER TRAY …………………………. 9632.01
12 ……… PILOT ASSEMBLY, CONVERTIBLE……TCRP5005025
13 ……… 1/4” FLEX TUBE ………………………. 5019.225
14 ……… 1/2” FLEX TUBE ……………………… 5019.223
HARDWARE PACKAGE ……………………. TC36.HK03
Not sold separately

© 2017 Copyright Pacific Energy Fireplace Products LTD
Reproduction, adaptation, or translation without prior written permission is prohibited, except as allowed under the copyright laws.
![]()
For technical support, please contact your retailer
Web site: www.townandcountryfireplaces.net
2975 Allenby Rd., Duncan, BC V9L 6V8
Printed in Canada


































