Raddy NW3 Multifunctional Radio
RADIO OPERATION
- Press the button “(!)” to turn on the radio, and the power indicator light turns blue.
- Press the “BAND” button to select FM/AM/WB.
- After selecting band FM/AM/WB, short press the button “‘” or “T” to select a channel. Long pressing the button “‘” or “T” enables the radio to search channels automatically, it will stop when a channel is properly selected and the green signal indicator light will come on. Extend the antenna and adjust the direction to get a better signal.
- Press the button “+ VOL -” to adjust the volume.
- Indicator Light (from top to bottom): Charging Indicator, Signal Indicator, Power Indicator, Alert Indicator.
WEATHER ALERT
- Press the “AL:’ button and switch the radio to weather alert mode. The yellow alert indicator light will come on.
- The LCD screen display will stay at 162.400MHz, but the system will keep scanning all NOAA channels. The radio will have no audio until it receives a bad weather signal.
- Once the bad weather signal is received, the green signal indicator light and the yellow alert indicator light will flash together. Also, “ALERT” will flash on the LCD screen and the radio will alarm.
- To exit the weather alert mode or stop the NOAA alarm, press the “AL:’ or “BAND” button and the device will go back to normal radio mode.
PHONE CHARGING
The standard USB output port can be used to charge mobile devices. The radio has a 2000mAh power capacity when fully charged.
USB Charging
- To charge the radio, insert the supplied USB cable into the USB power source and plug the Micro-USB connector into the input port on the right side of the radio.
- The charging indicator light will flash red as the battery is charging, and it will stay red when it’s fully charged.
- When the battery is fully charged, the radio can play for 20-22 hours at medium volume or work as a flashlight for 10-12 hours.
NOTE: It would be better to turn off the radio when it is charging.
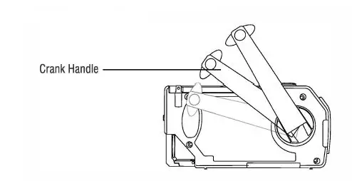
Hand Crank Dynamo
The radio can also be charged by turning the handle at the rear of the device and activating the dynamo.
- The handle can be cranked either clockwise or counterclockwise. The red charging indicator light will come on when the handle is being cranked.
- One minute of cranking can power the radio for 5 minutes at medium volume or power the flashlight for 30 minutes.
Solar Powered
The radio battery can be charged by the solar panel on the top. Expose the solar panel to clear sunlight to let it charge as efficiently as possible.
- The red charging indicator light will light up when the radio starts charging up by the solar panel.
- The solar charging effect depends on the sunlight intensity. The stronger the sunlight, the better the charging effect.
- Solar charging is mainly used for maintaining the battery and prolonging the battery life. It’s not suggested to use the solar panel to fully charge the device as the solar charging efficiency is not as high as other charging methods.
AAA Batteries
Remove the battery compartment cover at the bottom, and insert 3 AAA batteries into the compartment. The symbol of the battery level displayed on the LCD screen will change to AAA.
NOTE: 1. Ensure the negative(-) end is placed against the spring.
- The radio gives priority to using the power from the AAA batteries.
- Take out the AAA batteries if the radio is not used frequently.
EARPHONE JACK
- You can plug an earphone into the earphone jack and listen to the radio in your leisure time.
- The radio can only work with earphones with a 3.5mm jack, such as those used with Android phones and MP3/MP4 players. It does not work with iPhone earphones.
- The earphone jack on the radio only supports output, so it won’t work with AUX cable.
- If you press the SOS button at this time, the alarm siren will still be emitted from the speaker and the LED screen will go out.
SOS ALARM
- The radio has an SOS feature for emergencies that activates a loud siren and strobes. Long press the SOS button in the lower-left corner to activate it.
- Press SOS button again to turn it off.
SAFETY INSTRUCTIONS
- When the radio is used for the first time or sits idle for more than 60 days, please hand the crank for one minute or place it under strong sunlight (daylight>86000LUX) for 30 minutes to activate the battery.
- Please do not over-discharge the device, otherwise, its battery life will be shortened or even damaged.
- Use a soft damp cloth to clean the radio surface. Do not use alcohol or other liquids containing corrosive ingredients to clean this product.
- The unit is not waterproof, only water-resistant. Do not submerge in water.
PACKING LIST
- Radio x 1
- User Manual x 1
- Micro USB Cable x 1























