Whirlpool WTW8127LW0 Automatic Washer

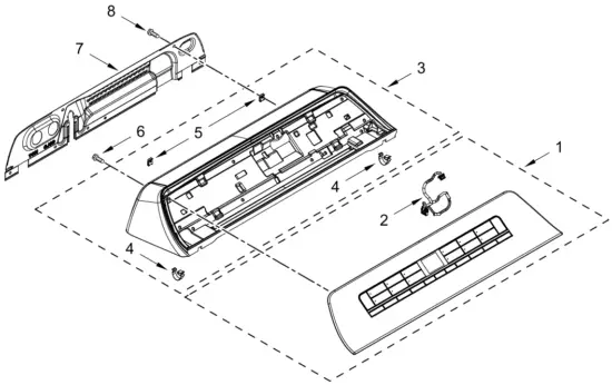
TOP AND CABINET PARTS

Illus. No. Part No. Description
- Literature Parts
W11197727 Owners Manual
W11485197 Energy Guide
W11197745 Tech Sheet
W11250102 Wiring Diagram - Assembly, Lid (Glass)
W11416841 Tempest Grey - W11091027 Strike Assembly
- W10631074 Bumper, Lid
- W11128305 Hinge, Lid (Left)
- W11128306 Hinge, Lid (Right)
- W10142728 Screw
- W11183686 Screw
- Top
W11126907 White
W11126908 Chrome Shadow - W11484621 Control Unit Assembly, Machine and Motor
- 693995 Screw
- W11033573 Assembly, Line Filter
- 3400076 Screw
- W11112935 Power Cord
- Bezel, Bleach Dispenser
W11175768 Chrome Shadow - W11175764 Brush, Scrub
- Bezel, Lid Lock
W11215078 White
W11215091 Chrome Shadow - W11032875 Assembly, Lid Lock
- 90016 Clip, Harness
- W11094976 Bezel, Faucet Switch
- W11175629 Assembly, Faucet Switch
- Assembly, Dispenser Drawer
W11174984 Chrome Shadow - W11130938 Harness, Dispenser
- W11174982 Bezel, Dispenser
- 9740848 Screw
- W11094592 Assembly, Dispenser Housing & Inlet Valve
- W11096268 Valve, Water Inlet
- W11130934 Harness, Water Inlet Valve
- W11178145 Sensor, Detergent Level
- W10715699 Clamp, Hose
- W11094606 Hose (Short)
- W11174978 Hose (Long)
- 97787 Screw
- W11238377 Pump, Metering
- Cabinet
W10677265 White
W10677266 Chrome Shadow - W10884775 Badge
- W10687506 Foot Assembly, Leveling
- W10688364 Absorber, Impact
- Channel, Top Front
W11384398 White
W11384407 Chrome Shadow - W10512626 Channel, Top Rear
- 8564458 Absorber, Impact
- W10676061 Cover, Harness
- W11417171 Panel, Rear
- W10567155 Screw
- W10660565 Screw
- W10339879 Tie, Cable
- W10280024 U-Bend, Drain Hose
- W11203364 Hose, Outer Drain Assembly
- 356138 Clamp, Hose
CONSOLE PARTS

Illus. No. Part No. Description
- W11094978 Assembly, Fascia
- W11130939 Harness, UI
- Assembly, Console
W11093764 White
W11178258 Chrome Shadow - 8312709 Clip, Console
- W10298336 Nut, “U”
- 12990204 Screw
- W11129559 Panel, Console Rear
- W10660565 Screw
BASKET AND TUB PARTS

Illus. No. Part No. Description
- W11094304 Tub Ring
- W11395428 Agitator
- W11395423 Cap, Impeller (Agitator/Impeller Cap interchangeable)
- W10625252 Screw
- W11308900 Impeller (Washplate)
- W11178227 Basket Assembly
- W11183985 Basket, Lock Nut
- W11219115 Tub
- W11089264 Filter, Drain Pump
- 8533928 Screw
- W11187091 Damper Assembly, Tub Suspension (Set Of 4-Includes Suspension Bushings and Suspension Balls)
- W11130936 Harness, Lower
- 8572540 Hose Pressure Switch
- W10005430 Clamp, Cable
- W10238319 Screw
GEARCASE, MOTOR AND PUMP PARTS

Illus. No. Part No. Description
- W11185701 Drive Assembly
- W10249633 Screw
- W11218170 Washer, Thrust
- W10673062 Harness Shield – Motor
- 3400076 Screw
- W10897050 Stator, Motor
- W10905022 Assembly, Clutch
- W10644129 Screw
- W10905025 Slider
- W10006494 Assembly, Spring
- W10897040 Rotor, Motor
- W10636382 Screw
- W10894129 Shield, Heat
- W11263349 Pump Assembly, Drain
- W10004910 Screw
- W10763259 Hose, Tub to Pump
- 8317496 Clamp, Hose
- W11375994 Clamp, Hose
- W11291620 Hose, Internal Drain
- 9740848 Screw
- W10652932 Clip, Hose
- 8533943 Screw
OPTIONAL PARTS (NOT INCLUDED)
PAINT, TOUCH-UP (1/2OZ.)
Illus. No. Part No. Description
72017 White
W10446202 Chrome Shadow
PAINT, PRESSURIZED SPRAY (12 OZ.)
Illus. No. Part No. Description
350938 Gray Primer
350930 White
PAINT, BULK (1 QT.)
Illus. No. Part No. Description
799344 White (Uncut)
SEALER
Illus. No. Part No. Description
285195 Sealer, Gasket (.20 Fl. Oz.) (6ml)
ACCESSORY PARTS
Illus. No. Part No. Description
XHS1000XX Laundry Appliance Hanger Rack
W10135699 Affresh® Washer Cleaner
W10355053 Affresh® Machine Cleaning Wipes
W10921681 Affresh® Machine Cleaning Wipes
W10921682 Affresh® Washer Cleaner Pouch
8212526 Washer, Drip Tray
W10180464RP. Delicates Laundry Wash Bag
W10214580RP. Top Load Washer/Dryer Cover (Gray)
8212546RP Inlet Hoses, 4 Ft. (Two Black Hoses W/ Straight Ends and 4 Rubber Washers)
8212487RC Inlet Hoses, 5 Ft. (Two Braided Hoses W/Straight Ends & 4 Rubber Washers).
8212487RP Inlet Hoses, 5 Ft. (Two Braided Hoses W/Straight Ends & 4 Rubber Washers).
8212545RP Inlet Hoses, 5 Ft. (One Red Hose and One Blue Hose W/ Straight Ends and 4 Rubber Washers)
8212641RP Inlet Hoses, 5 Ft. (Two Black Hoses W/ Straight Ends and 4 Rubber Washers)
8212638RC Inlet Hoses, 6 Ft (Two Braided Hoses W/ One Straight End and One 90 Degree End and 4 Rubber Washers).
8212638RP Inlet Hoses, 6 Ft (Two Braided Hoses W/ One Straight End and One 90 Degree End and 4 Rubber Washers)
8212656RP Inlet Hoses, 10 Ft. (Two Black Hoses W/ Straight Ends and 4 Rubber Washers)
W10575888 Hose Fill Kit
285320 Siphon Break Kit
DRNEXT4 Drain Hose Extension Kit
40922 Drain Hose Extension Kit
285863 4′ Drain Hose w/Clamp
8318155 4′ Drain Hose Extension
285666 8′ Drain Hose w/clamp




















