Whirlpool Front Load Washer Owner’s Manual
Whirlpool Front Load Washer Owner’s Manual
WASHER SAFETY
Your safety and the safety of others are very important.
We have provided many important safety messages in this manual and on your appliance. Always read and obey all safety messages.
This is the safety alert symbol.
This symbol alerts you to potential hazards that can kill or hurt you and others.
All safety messages will follow the safety alert symbol and either the word “DANGER” or “WARNING.” These words mean:
DANGER
You can be killed or seriously injured if you don’t immediately follow instructions.
WARNING
You can be killed or seriously injured if you don’t follow instructions.
All safety messages will tell you what the potential hazard is, tell you how to reduce the chance of injury, and tell you what can happen if the instructions are not followed.
IMPORTANT SAFETY INSTRUCTIONS
WARNING: To reduce the risk of fire, electric shock, or injury to persons when using your appliance, follow basic precautions, including the following:
■ Read all instructions before using the appliance.
■ Do not wash articles that have been previously cleaned in, washed in, soaked in, or spotted with gasoline, dry-cleaning solvents, or other flammable or explosive substances, as they give off vapors that could ignite or explode.
■ Do not add gasoline, dry-cleaning solvents, or other flammable or explosive substances to the wash water. These substances give off vapors that could ignite or explode.
■ Under certain conditions, hydrogen gas may be produced in a hot-water system that has not been used for 2 weeks or more. HYDROGEN GAS IS EXPLOSIVE. If the hot-water system has not been used for such a period, before using a washing machine, turn on all hot-water faucets and let the water flow from each for several minutes. This will release any accumulated hydrogen gas. As the gas is flammable, do not smoke or use an open flame during this time.
■ Do not allow children to play on or in the appliance. Close supervision of children is necessary when the appliance is used near children.
■ Before the appliance is removed from service or discarded, remove the door.
■ Do not reach into the appliance if the tub or agitator is moving.
■ Do not install or store this appliance where it will be exposed to the weather.
■ Do not tamper with controls.
■ Do not repair or replace any part of the appliance or attempt any servicing unless specifically recommended in the user maintenance instructions or in published user-repair instructions that you understand and have the skills to carry out.
■ Do not use replacement parts that have not been recommended by the manufacturer (e.g. parts made at home using a 3D printer).
■ See the Installation Instructions for grounding requirements and installation.
SAVE THESE INSTRUCTIONS
WARNING
Certain internal parts are intentionally not grounded and may present a risk of electric shock only during servicing. Service Personnel Do not contact the thermostat bracket while the appliance is energized.
Internet Connectivity Guide for Connected Appliances Only
IMPORTANT: Proper installation of your appliance prior to use is your responsibility. Be sure to read and follow the installation instructions that came with your appliance. Connectivity requires Wi-Fi and account creation. App features and functionality are subject to change. Data rates may apply. Once installed, launch the app. You will be guided through the steps to set up a user account and to connect your appliance.
You Will Need:
■ A home wireless router supporting Wi-Fi, 2.4Ghz with WPA2 security. If you are unsure of your router’s capabilities, refer to the router manufacturer’s instructions.
■ The router to be on and have a live internet connection.
■ The 10character SAID code for your appliance. The SAID code is either printed on a label on the appliance or found on the LCD screen.
Federal Communications Commission (FCC) Compliance Notice
This device complies with Part 15 of the FCC Rules. Operation is subject to the following two conditions:
1. This device may not cause harmful interference, and
2. This device must accept any interference received, including interference that may cause undesired operation. Changes or modifications not expressly approved by the party responsible for compliance could void the user’s authority to operate the equipment.
Industry Canada (IC) Compliance Notice
This Device complies with Industry Canada License-exempt RSS standard(s). Operation is subject to the following two conditions:
1. This device may not cause interference.
2. This device must accept any interference, including interference that may cause undesired operation of the device. Under Industry Canada regulations, this radio transmitter may only operate using an antenna of a type and maximum (or lesser) gain approved for the transmitter by Industry Canada. To reduce potential radio interference to other users, the antenna type and its gain should be so chosen that the equivalent isotopically radiated power (e.i.r.p.) is not more than that necessary for successful communication. To comply with FCC and Industry Canada RF radiation exposure limits for general population, antenna(s) used for this transmitter must be installed such that a minimum separation distance of 20 cm is maintained between the radiator (antenna) and all persons at all times and must not be co-located or operating in conjunction with any other antenna or transmitter. If this equipment does cause harmful interference to radio or television reception, which can be determined by turning the equipment off and on, the user is encouraged to try to correct the interference by one of the following measures:
■ Reorient or relocate the receiving antenna.
■ Increase the separation between the equipment and receiver.
■ Connect the equipment into an outlet on a circuit different from that to which the receiver is connected.
■ Consult the dealer or an experienced radio/TV technician for help.
CHOOSING THE RIGHT DETERGENT
Use only High Efficiency detergents. The package will be marked “HE” or “High Efficiency.” Low-water washing creates excessive siding with a non-HE detergent. Using non-HE detergent will likely result in longer cycle times and reduced rinsing performance. It may also result in component failure and, over time, buildup of mold or mildew. HE detergents should be lows using and quick-dispersing to produce the right amount of suds for the best performance. They should hold soil in suspension so it is not redeposited onto clean clothes. Not all detergents labeled as High Efficiency are identical in formulation and their ability to reduce suds. For example, natural, organic, or homemade HE detergents may generate a high level of suds. If you use one of these and see an “SD” or “Sud” error code appear in the display, consider using a different HE detergent. Always follow the detergent manufacturer’s instructions to determine the amount of detergent to use. Do not go over the Max line on the dispenser.
Adding Laundry Products

Adding HE detergent to basket: Single-dose laundry packets, Oxi type boosters, color-safe bleach, or scented crystals can be added to the drum prior to adding laundry. When using single-dose laundry packets, make sure that the bulk dispenser is disabled (on some models) or off.
NOTE: Follow the manufacturer’s instructions to determine the amount of laundry products to use.
Adding liquid chlorine bleach to single-load dispenser:
Add liquid chlorine bleach to the bleach compartment. Do not overfill, dilute, or use more than 2/3 cup (165 mL). Do not use color-safe bleach or Oxi in the same cycle with liquid chlorine bleach.

IMPORTANT:
■ Always measure liquid chlorine bleach. Use a measuring cup with a pour spout; do not guess.
■ Do not fill beyond the “MAX” line. Overfilling could cause garment damage.
■ Do not use thickened, easy-pour, or no-splash bleach when running the Clean Washer with affresh® cycle, as excess suds may occur.
■ On some models: Do not add liquid chlorine bleach to the bulk dispenser.
■ Slowly close dispenser drawers. Make sure the drawers are closed completely (on some models).
Adding liquid fabric softener to single-load dispenser:
Pour a measured amount of liquid fabric softener into liquid fabric softener compartment. Always follow manufacturer’s directions for correct amount of fabric softener, based on your load size. Disable the 1-Liter Load & Go™ dispenser if not used to dispense detergent (on some models).
Fabric softener is always dispensed in the last rinse, even if Extra Rinse is selected.
IMPORTANT: Do not overfill, dilute, or use more than the manufacturer-recommended quantity of fabric softener. Do not fill past the “MAX” line. Overfilling dispenser will cause fabric softener to immediately dispense into washer.
■ Do not spill or drip any fabric softener onto the clothes.
■ Do not use liquid fabric softener dispenser balls in this washer. They will not dispense correctly.
■ Do not use fabric softener sheets, as they can stain the load.
Adding HE detergent to Optimal Dispense Drawer (on some models):
This compartment holds up to 14.3 oz. (424 ml) of liquid HE detergent allowing you to avoid having to refill detergent for each load. Also, this will use just the right amount of detergent required for a particular load/cycle.
NOTE: Do not add single-dose laundry packets, Ox-type boosters, color-safe bleach, or fabric softener crystals to dispensers. They will not dispense correctly.

Adding HE detergent to Load & Go™ dispenser (on some models):
Use only High Efficiency (HE) liquid detergents. The bulk dispensers will hold about 67.6 oz. (2 L) or 33.8 oz. (1 L) of liquid HE detergent, depending on dispenser, or enough for many loads of laundry.
To fill bulk dispensers (on some models):
Open the dispenser drawer by pulling on the handle at the base of the washer. If desired, the drawer can be completely removed from the washer.
Locate the Load & Go™ bulk dispenser. Gently pull up on the tab located on the bulk dispenser lid to lift the fill door.

Fill to the “MAX” line (see illustrations at right) with HE liquid detergent or liquid fabric softener (1-liter dispenser only). Close fill door. It will click into place. Make sure the concentration setting is correct (see the online “Cycle Guide”).

It is recommended that you rinse out the Load & Go™ containers when refilling, when changing detergent types or concentrations, or when the washer will not be used for an extended period. For instructions on cleaning the dispenser cartridge, see “Washer Care” in the “Washer Maintenance and Care” section of your Owner’s Manual.

Adding HE detergent to single-load dispenser:
Pour a measured amount of HE detergent into detergent compartment. For powdered detergent, lift the selector to the high position. For liquid detergent, push down the selector to the low position. Do not overfill; adding too much detergent may cause detergent to be dispensed into the washer too early.

IMPORTANT:
■ Disable the Load & Go™ option before starting a single load (on some models).
■ Do not add single-dose laundry packet to dispenser drawer.

Lift the selector to the high position. Add directly to the
compartment.
Push down the selector to the low position. Add directly to the
compartment.
WASHER MAINTENANCE AND CARE
Cleaning the Washer Location
Keep washer area clear and free from items that would block airflow. This includes clearing piles of laundry in front of the washer.
Water Inlet Hoses
Replace inlet hoses after 5 years of use to reduce the risk of hose failure. Periodically inspect and replace inlet hoses if bulges, kinks, cuts, wear, or leaks are found.
When replacing your inlet hoses:
■ Mark the date of replacement on the label with a permanent marker.
■ Check that the old washers are not stuck on the washer inlet valves.
■ Use new washers in the new inlet hoses to ensure a proper seal.
Washer Care
Recommendations to Help Keep Your Washer Clean and Performing at Its Best
- Always use High Efficiency (HE) detergents and follow the HE detergent manufacturer’s instructions regarding the amount of HE detergent to use. Never use more than the recommended amount because that may increase the rate at which detergent and soil residue accumulate inside your washer, which, in turn, may result in undesirable odor.
- Use warm or hot water washes sometimes (not exclusively cold water washes), because they do a better job of controlling the rate at which soils and detergent accumulate.
- Always leave the washer lid open between uses to help dry out the washer and prevent the buildup of odor-causing residue.
- Periodically clean residue from all interior surfaces of the window. For better care, wipe the entire inside of the door with a damp cloth.
Cleaning Your Front-Loading Washer
Read these instructions completely before beginning the routine cleaning processes recommended below. This Washer Maintenance Procedure should be performed, at a minimum, once per month or every 30 wash cycles, whichever occurs sooner, to control the rate at which soils and detergent may otherwise accumulate in your washer.
Cleaning the Door Seal
- Open the washer door and remove any clothing or items from the washer.
- Inspect the gray-colored seal between the door opening and the drum for stained areas, soil buildup, or lint. Pull back the seal to inspect all areas under the seal and to check for foreign objects or lint.
- If stained areas, soil buildup, or lint are found, wipe down these areas of the seal using either of the following two procedures:
a. affresh® Machine Cleaning Wipes Procedure:
i. When the cycle is complete, gently pull back the rubber door seal and clean the entire surface with the textured side of an affresh® Machine Cleaning Wipe.
b. Dilute Liquid Chlorine Bleach Procedure:
i. Mix a dilute bleach solution, using 3/4 cup (177 mL) of liquid chlorine bleach and 1 gallon (3.8 L) of warm tap water.
ii. Wipe the seal area with the dilute solution, using a damp cloth.
iii. Let stand 5 minutes. iv. Wipe down area thoroughly with a dry cloth and let washer interior air dry with door open.
IMPORTANT:
■ Wear rubber gloves when cleaning with bleach.
■ Refer to the bleach manufacturer’s instructions for proper use.
Cleaning the Inside of the Washer
This washer has a special cycle that uses higher water volumes in combination with affresh® Washer Cleaner or regular liquid chlorine bleach to thoroughly clean the inside of the washer. Steam washer models also utilize steam to enhance cleaning in this special cycle.
IMPORTANT: Do not use thickened, easy-pour, or no-splash bleach when running the Clean Washer with affresh® cycle as excess suds may occur.
NOTE: Read these instructions completely before beginning the cleaning process.
Begin Procedure
- Clean Washer with affresh® Cycle Procedure (Recommended for best performance):
a. Open the washer door and remove any clothing or items.
b. Use an affresh® Machine Cleaning Wipe or a soft, damp cloth or sponge to clean the inside door window.
c. Add an affresh® Washer Cleaner tablet to the washer drum.
d. Do not add the affresh® Washer Cleaner tablet to the dispenser drawer.
e. Do not add any detergent or other chemical to the washer when following this procedure.
f. Close the washer door.
g. Select the Clean Washer with affresh® cycle.
h. On some models: Select the Fan Fresh®/Fresh Hold®/
Fresh Spin™ option to help dry the washer interior after the cycle is complete.
NOTE: The washer remembers your last option selection and will use it for future wash cycles until you deselect that option.
i. Touch and hold Start/Pause to begin the cycle. See the “Description of Clean Washer with affresh® Cycle Operation” section.
2. Chlorine Bleach Procedure:
a. Open the washer door and remove any clothing or items.
b. Open the dispenser drawer and add liquid chlorine bleach to the Max level in both the bleach compartment and the fabric softener compartment. Either traditional or HE chlorine bleach can be used.
IMPORTANT: Do not use thickened, easy-pour, or no-splash bleach as excess suds may occur.
NOTE: Use of more liquid chlorine bleach than is recommended above could cause washer damage over time.
c. Close the washer door and the dispenser drawer.
d. Do not add any detergent or other chemicals to the washer when following this procedure.
e. Select the Clean Washer with afresh® cycle.
f. On some models: Select the Fan Fresh®/Fresh Hold®/ Fresh Spin™ option to help dry the washer interior after the cycle is complete.
NOTE: The washer remembers your last option selection and will use it for future wash cycles until you deselect that option.
g. Touch and hold Start/Pause to begin the cycle. See the “Description of Clean Washer with affresh® Cycle Operation” section.
NOTE: For best results, do not interrupt cycle.
Description of Clean Washer with affresh® Cycle Operation
- The Clean Washer with affresh® cycle will determine whether clothing or other items are in the washer.
- If no items are detected in the washer, it will proceed with the cycle.
a. If any items are detected in the washer, “rL” (remove load) will be displayed. The door will unlock. Open washer and remove any garments from the washer drum.
b. Touch Power to clear the “rL” code.
c. Touch and hold Start/Pause to restart the cycle. - Steam models only: During the first 20 minutes of the cycle, it will activate the steamer but the drum will not spin or fill with water. You may see condensation on the door window during this initial phase. If you are using an affresh® Washer Cleaner tablet, it will not dissolve completely during the steam phase. This is normal.
After the cycle is complete, leave the door open slightly to allow for better ventilation and drying of the washer interior.
Cleaning the Dispensers
After a period of using your washer, you may find some residue buildup in the washer’s dispensers.
For the Single-Load or Optimal dispenser: Remove the drawer and wipe the surfaces with an affresh® Machine Cleaning Wipe or a damp cloth, and towel dry either before or after you run the Clean Washer with affresh® cycle. Use an all-purpose surface cleaner, if needed.
For the Load & Go™ dispenser: Lift the handle on the dispenser housing and pull to remove it from the washer cabinet; then rinse the dispenser thoroughly with running water. Wipe the outside dispenser surface with an affresh® Machine Cleaning Wipe or a damp cloth, and towel dry. Use an all-purpose surface cleaner, if needed.
Replace the dispenser in the washer cabinet and make sure that it is correctly seated.
IMPORTANT: Dispensers are not dishwasher-safe.
Cleaning the Outside of the Washer
IMPORTANT: To avoid damaging the washer’s finish, do not use abrasive products. Use an affresh® Machine Cleaning Wipe or a soft, damp cloth or sponge to wipe up any spills. Occasionally wipe the outside of your washer to help keep it looking new. Use an affresh® Machine Cleaning Wipe or mild soap and water.
Clean Washer Cycle Reminder
NOTE: Not all models have the Clean Washer with affresh® cycle reminder light. The Clean Washer with affresh® message will flash at the end of a wash cycle when the washer has run 30 wash cycles. This is a reminder to run the Clean Washer with affresh® cycle. If the Clean Washer with affresh® cycle is not run, the message will stop flashing at the end of a wash cycle after running three more regular wash cycles. After 30 more wash cycles are completed, the Clean Washer with affresh® message will again flash at the end of a wash cycle as a reminder.
Removing the Dispenser
Optimal Dispenser Drawer (on some models) To remove:
- Pull dispenser drawer out until it stops.
- Press down on the release tab and pull straight out to remove the dispenser.

- Lift off cover panel by pulling straight up.

To replace:
- Slide cover panel back onto posts on dispenser.
- Align edges of dispenser with guides in washer; then slide dispenser back into slot.

Single-Load Dispenser Drawer (on some models) To remove:
- Pull dispenser drawer out until it stops.
- Press down on the release tab and pull straight out to remove the dispenser.

- Lift off cover panel by pulling straight up.

To replace:
- Position cover panel back onto posts on dispenser. Apply slight pressure on cover panel to seat it.
- Align edges of dispenser with guides in washer; then slide dispenser back into slot.

Cleaning Load & Go™ Containers (on some models)
IMPORTANT: Containers are not dishwasher-safe.
It is recommended that you rinse out the Load & Go™ containers when refilling, when changing detergent types or concentrations, or when the washer will not be used for an extended period.
- Pull the dispenser drawer out until it stops.
- Lift out the Load & Go™ containers.
- Lift the fill lid and flush interior thoroughly with warm water.

- Allow to air dry.
Nonuse and Vacation Care
Operate your washer only when you are home. If moving, or not using your washer for a period of time, follow these steps:
- Unplug or disconnect power to washer.
- Turn off water supply to washer to avoid flooding due to water pressure surges.
HELPFUL TIP: Attach a reminder note to the washer to turn the water back on before washer’s next use. - Clean the dispensers. See “Cleaning the Dispensers.”
Winter Storage Care
IMPORTANT: To avoid damage, install and store washer where it will not freeze. Because some water may stay in hoses, freezing can damage washer. If storing or moving during freezing weather, winterize your washer.
To winterize washer:
- Shut off both water faucets; disconnect and drain water inlet hoses.
HELPFUL TIP: Attach a reminder note to the washer to turn the water back on before washer’s next use. - Remove drain pump filter.
- Put 1 qt. (1 L) of R.V.-type antifreeze in drum and run washer on Normal cycle for about 2 minutes to mix antifreeze and remaining water.
- Unplug washer or disconnect power.
Transporting Your Washer
- Shut off both water faucets. Disconnect and drain water inlet hoses.
- If washer will be moved during freezing weather, follow “Winter Storage Care” directions before moving.
- Disconnect drain hose from drain system and from back of washer.
- Unplug power cord.
- Place inlet hoses and drain hose inside drum.
- Bundle power cord with a rubber band or cable tie to keep it from hanging to the ground. IMPORTANT: Call for service to install new transport bolts. Do not reuse transport bolts. Washer must be transported in the upright position. To avoid structural damage to your washer, it must be properly set up for relocation by a certified technician.
Reinstalling/Using Washer Again
WARNING
![]()
Electrical Shock Hazard
Plug into a grounded 3 prong outlet.
Do not remove ground prong.
Do not use an adapter.
Do not use an extension cord.
Failure to follow these instructions can result in death, fire, or electrical shock.
To reinstall washer after nonuse, vacation, winter storage, or moving:
- Refer to Installation Instructions to locate, level, and connect washer.
- Before using again, run washer through the following recommended procedure:
To use washer again:
- Flush water pipes and hoses.
- Reconnect water-inlet hoses.
- Turn on both water faucets.
- Plug into a grounded 3-prong outlet or reconnect power.
- Run washer through Heavy Duty/Power Wash cycle to clean washer and remove antifreeze, if used. Use only HE detergent. Use half the manufacturer’s recommended amount for a medium-size load.
Cleaning the Drain Pump/Draining Residual Water (on some models)
IMPORTANT: Make sure the washer is off before cleaning the drain pump filter.
NOTE: Perform the following procedure occasionally.
1. Open the dispenser drawer by pulling on the handle at the base of the washer. This will reveal the drain pump filter. Remove the drawer by releasing the tab on each side.
With your finger, push down on tab on right side of drawer, and up on tab on left side of drawer.

2. Place a broad, flat container beneath the drain pump filter to collect the drain water. Release the black hose from the hose clip, remove the plug, and drain the hose into the container. Empty the container. Repeat this procedure if necessary until all the water has drained. Make sure that the black hose is completely dry, replace the plug, and secure the hose in the clip.
NOTE: If water does not drain well, push in hose slightly to remove any possible kinks.

3. Lay a cotton cloth beneath the drain pump filter to absorb any water still in it. Then remove the drain pump filter by turning it counterclockwise.

4. Remove large clumps of lint by hand from the filter and place lint in a suitable waste container. Remove remaining residue from the filter by rinsing with water.

5. Reinsert the drain pump filter by turning it clockwise. Make sure to turn it in as far as it will go, with the filter handle remaining as close as possible to the vertical position.

6. Replace and close the dispenser drawer. Make sure to insert both rails simultaneously when replacing the drawer. You will hear a clicking sound that indicates the rails have engaged. To ensure proper placement of the drawer, pull out fully. The drawer should be fully engaged and the rails locked in place. Make sure the drain hose is secured in the hose clip and tucked underneath the cutout.

Additional Cleaning
Gently pull back the rubber door seal and clean any stained areas, soil buildup, or lint with the textured side of an affresh® Machine Cleaning Wipe.

INSTALLATION INSTRUCTIONS REQUIREMENTS
Tools and Parts
Gather required tools and parts before starting installation.
Tools Needed:

Parts Supplied:
NOTE: All parts supplied for installations are in the washer.

Drain hose with clamp, U-form, and cable tie
Parts Needed: (if not supplied with washer)

NOTE: Various inlet hose options are available; check your Quick Start Guide for ordering information.
Available Accessories
An optional matching pedestal is available for your washer. Please contact your retailer for ordering information, or see your Quick Start Guide.
Alternate Parts (not supplied with washer)
Your installation may require additional parts. To order, please refer to contact information on your Quick Start Guide.

Location Requirements
IMPORTANT: Do not install, store, or operate washer where it will be exposed to weather or in temperatures below 32°F (0°C). Water remaining in washer after use may cause damage in low temperatures. See “Washer Maintenance and Care” for winterizing information.
Select proper location for your washer to improve performance and minimize noise and possible “washer walk.” Install your washer in a basement, laundry room, closet or recessed area.
Proper installation is your responsibility.
You will need
■ A water heater set to 120°F (49°C).
■ A grounded electrical outlet located within 6 ft. (1.8 m) of power cord on back of washer.
■ Hot and cold water faucets located within 4 ft. (1.2 m) of hot and cold water fill valves on washer, and water pressure of 20 100 psi (137.9689.6 kPa).
■ A level floor with maximum slope of 1″ (25 mm) under entire washer. Installing on carpet or surfaces with foam backing is not recommended.
■ Floor must support washer’s total weight (with water and load) of 315 lbs. (143 kg).
All dimensions show minimum spacing allowed. For each arrangement, consider allowing more space for ease of installation and servicing, and spacing for companion appliances and clearances for walls, doors, and floor moldings. Space must be large enough to allow door to fully open. Add spacing of 1″ (25 mm) on all sides of washer to reduce noise transfer. If a closet door or louvered door is installed, top and bottom air openings in door are required.
NOTE: For additional details (or information) specific to your model, refer to your Quick Start Guide.
Recessed area or closet installation (stacked washer and dryer)

Custom under cabinet installation

Recessed area or closet installation (washer only)

Custom cabinet installation

Drain System
It is the responsibility of the installer to install and secure the drain hose in to the provided plumbing/drain in a manner that will avoid the drain hose coming out of o leaking from the plumbing/drain. Drain system can be installed using a floor drain, wall standpipe, floor standpipe, or laundry tub. Select the method you need. IMPORTANT: To avoid siphoning, only 4.5″ (114 mm) of drain hose should be inside standpipe. Always secure drain hose with cable tie.
Floor standpipe drain system
Minimum diameter for a standpipe drain: 2″ (51 mm). Minimum carry-away capacity: 17 gal. (64 L) per minute. A 1/4″ (6 mm) diameter to 1″ (25 mm) diameter Standpipe Adapter Kit is available; refer to the Quick Start Guide for online ordering information. Top of standpipe must be at least 39″ (762 mm) high; install no higher than 96″ (2.4 m) from bottom of washer. If you have an overhead sewer and need to pump higher than 96″ (2.4 m), a sump pump and associated hardware are needed. See “Alternate Parts.”
Wall standpipe drain system

See requirements in “Floor standpipe drain system.”
Laundry tub drain system

Minimum capacity: 20 gal. (76 L). Top of laundry tub must be at least 39″ (991 mm) from the floor; install no higher than 96″ (2.4 m) from bottom of washer.

Floor drain system

Floor drain system requires a Siphon Break Kit, 2 Connector Kits, and an Extension Drain Hose that may be purchased separately; refer to the Quick Start Guide for online ordering information. Minimum siphon break height: 28″ (710 mm) from bottom of washer. (Additional hoses may be needed.)
Electrical Requirements
WARNING
Electrical Shock Hazard
Plug into a grounded 3 prong outlet.
Do not remove ground prong.
Do not use an adapter.
Do not use an extension cord.
Failure to follow these instructions can result in death, fire, or electrical shock.
■ A 120 V, 60 Hz, AC-only, 15 or 20 A, fused electrical supply is required. A time-delay fuse or circuit breaker is recommended. It is recommended that a separate circuit breaker serving only this appliance be provided.
■ This washer is equipped with a power supply cord having a 3-prong grounding plug.
■ To minimize possible shock hazard, the cord must be plugged into a mating, 3-prong, grounding-type outlet, grounded in accordance with local codes and ordinances. If a mating outlet is not available, it is the personal responsibility and obligation of the customer to have the properly grounded outlet installed by a qualified electrician.
■ If codes permit and a separate ground wire is used, it is recommended that a qualified electrician determine that the ground path is adequate.
■ Do not ground to a gas pipe.
■ Check with a qualified electrician if you are not sure the washer is properly grounded.
■ Do not have a fuse in the neutral or ground circuit.
GROUNDING INSTRUCTIONS
For a grounded, cord-connected appliance:
This appliance must be grounded. In the event of a malfunction or breakdown, grounding will reduce the risk of electric shock by providing a path of least resistance for electric current. This appliance is equipped with a cord having an equipment-grounding conductor and a grounding plug. The plug must be plugged into an appropriate outlet that is installed and grounded in accordance with all local codes and ordinances.
WARNING: Improper connection of the equipment grounding conductor can result in a risk of electric shock. Check with a qualified electrician or service representative if you are in doubt as to whether the appliance is properly grounded. Do not modify the plug provided with the appliance: If it will not fit the outlet, have a proper outlet installed by a qualified electrician.
For a permanently connected appliance:
This appliance must be connected to a grounded metal, permanent wiring system, or an equipment-grounding conductor must be run with the circuit conductors and connected to the equipment-grounding terminal or lead on the appliance.
SAVE THESE INSTRUCTIONS
INSTALLATION
Unpacking
WARNING
Excessive Weight Hazard
Use two or more people to move and install or uninstall appliance.
Failure to do so can result in back or other injury.
1. Move washer

It is necessary to remove all shipping materials for proper operation and to avoid excessive noise from washer. Move washer to within 4 ft. (1.2 m) of its final location. It must be in a fully upright position.
2. Locate transport bolts

Locate four transport bolts on rear of washer.
3. Remove transport bolts from washer

Loosen bolts with a 5/8″ (16 mm) wrench. Slide each bolt and spacer to center of hole. Pull bolts and plastic spacers from back of washer. Discard bolts and spacers.
IMPORTANT: Do not plug washer in until installation has been completed.
Connect Drain Hose
4. Attach drain hose to drain port

If clamp is not already in place on elbow end of drain hose, squeeze clamp with pliers and slide it over end of hose, centering it between the ribs, as shown. Squeeze clamp with pliers and slide elbow end of drain hose onto drain port and secure with clamp.
For a laundry tub or standpipe drain, go to step 6.
For a floor drain, remove the preinstalled drain hose form as shown in step 5. You may need additional parts with separate directions. See “Alternate Parts.”
It is the responsibility of the installer to install and secure the drain hose into the provided plumbing/drain in a manner that will avoid the drain hose coming out of or leaking from the plumbing/drain.
5. Remove drain hose form (floor drain installations only)

For floor drain installations, you will need to remove the drain hose form from the end of the drain hose. You may need additional parts with separate directions; refer to the Quick Start Guide.
6. Place drain hose in standpipe

Place hose into standpipe (shown in picture) or over side of laundry tub.
IMPORTANT: 4.5″ (114 mm) of drain hose should be inside standpipe; do not force excess hose into standpipe or lay on bottom of laundry tub. Drain hose form must be used.
Connect Inlet Hoses
IMPORTANT: To avoid leaks, check that your water inlet hoses have flat washers at both ends. Washer must be connected to water faucets with new inlet hoses with flat washers (not provided). Do not use old hoses. Do not use hoses without washers.
7. Insert new flat washers

8. Connect inlet hoses to water faucets

IMPORTANT: Do not overtighten or use tape or sealants on valve when attaching to faucets or washer. Damage can result. Attach the hose labeled hot to hot water faucet. Screw on coupling by hand until it is seated on washer. Use adjustable pliers to tighten couplings an additional two-thirds turn. Repeat this step with the hose labeled cold for the cold water faucet. Both hoses must be connected for washer to work properly.
HELPFUL TIP: Make note of which hose is connected to hot water to help in attaching hoses to washer correctly. In most standard configurations, hoses will cross over each other when attached correctly.
9. Clear water lines

Run water for a few seconds through hoses into a laundry tub, drainpipe, or bucket to prevent clogs. Water should run until clear.
10. Connect inlet hoses to washer

IMPORTANT: To reduce risk of hose failure, replace the hoses every 5 years. Record hose installation or replacement dates for future reference.
■ Do not overtighten hose or use tape or sealants on the valve. Damage to the valves can result.
■ Periodically inspect and replace hoses if bulges, kinks, cuts, wear, or leaks are found.
Attach hot water hose to hot water inlet valve. Screw coupling by hand until it is snug. Use adjustable pliers to tighten couplings an additional two-thirds turn. Repeat with cold water inlet valve.
11. Check for leaks

Slowly turn on water faucets to check for leaks. A small amount of water may enter washer. It will drain later.
12. Secure drain hose

Secure drain hose to laundry tub leg, drain standpipe, or inlet hoses for wall standpipe with cable tie or beaded tie strap.
It is the responsibility of the installer to install and secure the drain hose in to the provided plumbing/drain in a manner that will avoid the drain hose coming out of or leaking from the plumbing/drain.
Level Washer
IMPORTANT: Leveling your washer properly reduces excess noise and vibration.
13. Check levelness of washer

Remove cardboard from beneath washer. Place a level on top edges of washer, checking each side and front. If not level, tip washer and adjust feet up or down as shown in steps 15 and 16, repeating as necessary.

14. Rock washer to test foot contact

Grip washer from top and rock back and forth, making sure all four feet are firmly on floor. Repeat, rocking washer from side to side. If washer rocks, go to step 15 and adjust leveling feet. If all four feet are in firm contact with floor, go to step 16.
15. Adjust leveling feet

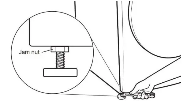
If washer is not level, use a 9/16″ (14.3 mm) open-end or adjustable wrench to turn jam nuts clockwise on feet until they are about 1/2″ (13 mm) from the washer cabinet. Then turn the leveling foot clockwise to lower the washer or counterclockwise to raise the washer. Do not exceed 2″ (50 mm) from bottom of foot to bottom of cabinet. Recheck levelness of washer and that all four feet are firmly in contact with the floor. Repeat as needed.
HELPFUL TIP: You may want to prop up front of washer about 4″ (102 mm) with a wood block or similar object that will support weight of washer.
16. Tighten leveling feet

When washer is level and all four feet are firmly in contact with the floor, use a 9/16″ (14.3 mm) open-end or adjustable wrench to turn jam nuts counterclockwise on leveling feet tightly against washer cabinet. HELPFUL TIP: You may want to prop washer again with a wooden block.
WARNING
![]()
Electrical Shock Hazard
Plug into a grounded 3 prong outlet.
Do not remove ground prong.
Do not use an adapter.
Do not use an extension cord.
Failure to follow these instructions can result in death, fire, or electrical shock.
17. Plug into a grounded 3 prong outlet

Complete Installation Checklist
▢ Check electrical requirements. Be sure you have correct electrical supply and recommended grounding method.
▢ Check that all parts are now installed. If there is an extra part, go back through steps to see what was skipped.
▢ Check that you have all of your tools.
▢ Check that shipping materials were completely removed from washer.
▢ Check that the washer is level.
▢ Check that water faucets are on.
▢ Check for leaks around faucets and inlet hoses.
▢ Remove protective film from console and any tape remaining on washer.
▢ Check that washer is plugged into a grounded 3-prong outlet.
▢ Dispose of/recycle all packaging materials.
▢ Read the “Washer Maintenance and Care” section.
▢ To test and clean your washer, press Power and choose the Quick cycle and run it without clothes. Use only HE detergent. Use 1/2 the manufacturer’s recommended amount for a medium-size load.
W11355369A
W11355370A-SP
®/TM ©2019 All rights reserved. Used under license in Canada.
FAQS
What are the specs? 8 or 9kg? what is the depth?
why is this different from whirlpool site.https://www.whirlpool.ae/en_ae/r/products/washing-machines it is 9 kilos and you contact the customer service of whitlpool mentioned there already they will come and install it.
Am happy with the washing machine all what i can say is great. you should contact them there is lock in the washing machine they need to come and remove it.
Where is it made from?
Made in Slovakia
How to reset the error code on Whirlpool Duet washer?
Whirlpool Duet washer error codes are not easy to reset. If you have an older model of Whirlpool Duet washer, you can reset it by unplugging the washer and removing the control board. Then, you need to remove the control board screws and pull out the control board. You can find a small hole on the control board where you can insert a paper clip or similar instrument and press the button inside. This will reset your Whirlpool Duet washer error code.
How to fix a Whirlpool Duet washer that won’t spin?
If your Whirlpool Duet front load washing machine won’t spin, check for any obstructions in the wash tub. If there are no obstructions, check for loose hoses, belts or other connections that could be causing a problem with your Whirlpool Duet washing machine’s spinning action. If everything appears to be in order, check for a possible loose lid switch on your Whirlpool Duet washing machine by removing the lid from the top of your washing machine and inspecting the lid switch. The lid switch is located at the top of your washing machine and is attached to a wire harness that runs through a hole in the top of your wash tub. The lid switch is held in place by two screws and can be removed by unscrewing these two screws. Once you have removed these two screws, lift up on the wire harness and remove it from its connection point on your lid switch. Inspect this connection point for any signs of corrosion or damage that may prevent this connection from being made properly when you put it back together again. If you find any signs of damage or corrosion here, you will need to replace this lid switch before attempting to use your washing machine again.
How to fix a Whirlpool Duet washer that won’t fill?
If your Whirlpool Duet front load washing machine won’t fill with water, check for any obstructions in the wash tub area first. Check hoses and belts for proper operation as well as any clogs in hoses or kinks in belts that may be preventing water from entering your wash tub properly when you try to run a cycle on your washing machine. If all appears normal here, check for a possible faulty water level sensor on your Whirlpool Duet washing machine by removing both upper and lower lids from their hinges on top of your wash tub using a screwdriver or other tool if necessary and then disconnecting both wire harnesses connected to each water level sensor inside of your wash tub using pliers or another tool if necessary as well as disconnecting both wire harnesses connected to each water level sensor inside of your wash tub using pliers or another tool if necessary as well as disconnecting both wire harnesses connected to each water level sensor inside of your
How long does a Whirlpool front load washer last?
Washing machines, on average, last around 10 years, according to Consumer Reports. If your washer is reaching the threshold, or it’s been having some problems, here are some signs the end may be near.
Are whirlpools good washers?
Yes, Consumer Reports and other similar consumer groups routinely rank Whirlpool among the most reliable brands for washing machines. The company has learned a lot about the appliances in more than 100 years of operation.
Is it worth repairing a 7 year old washing machine?
As a general rule, if it costs less than 50% of the price of a new washing machine to repair your old one, you should choose the repair option. But, you should also consider whether or not there is a warranty coverage on your washer and think about economic realities.
Which brand of washing machine lasts the longest?
Whirlpool, LG, and Samsung are the most reliable brands of washers. Yale Appliance found that less than 7% of the sales of these units required servicing. J.D. Power also ranks Samsung and LG as the highest-ranking manufacturers in customer satisfaction.
What does it mean when a girl sits on a washing machine?
It may not apply to you but sitting on a washing machine can be relaxing for many women, especially if they’re feeling stressed. It’s a great way for them to relax after a long day. The vibrations are soothing and help them unwind. For some people, sitting on a washing machine can be a form of therapy.
What causes a Whirlpool washer not to drain or spin?
If your washer won’t drain or spin, the water level control may be faulty. Open the machine’s control panel and look for a plastic tube attached to the water level valve. If it’s clogged, clear it out with vinegar. If the valve itself is corroded, it may need to be replaced.
Why isn’t my Whirlpool washer washing my clothes?
If you feel that the clothes are not coming clean or that the washer level is lower than when you first started using this washer, try running a Clean Washer cycle. This cycle re-calibrates the control, and resets it back to the factory-set water levels.
How many years does a Whirlpool washer last?
A washer can last between 12 and 14 years, while a dryer lasts between 18 and 24 years. The washer and dryer should last a long time. The length of time you can keep this appliance depends on how often you use it and how many loads you have.
Is Whirlpool made by Maytag?
While Whirlpool acquired Maytag in 2006, both appliance brands are still independent in their design and manufacturing of products.
Which one is better front load or top load?
Front load washers are considered superior at cleaning clothes with less water and less wear on your fabrics. Top load washers clean faster and are slightly more ergonomic, so it may come down to the monetary value.
What usually breaks on a washing machine?
Things that might break on your washing machine include the door or lid switch, which keeps the drum from spinning when the door is open. The drain pump and tub bearings are also common causes of washing machine breakdowns. The most expensive problem to fix, however, is a faulty control panel, Consumer Reports says.
How much is a service call for a washing machine?
Your costs to repair your washing machine can range anywhere from $50 to $450. Professional repair services generally cost between $50 and $150 per hour. The average life span of a washing machine is between 10 and 14 years. You can extend your washing machine’s life through regular maintenance.
Do plumbers fix washing machines?
Most people tend to call the electrician, but they can only help with the electronic issues. When it comes to washing machine line repairs or some other water-related issues, the plumber is going to be your best bet. Their knowledge about plumbing makes it a natural choice.
Do all front-load washers have mold problems?
Fifteen percent of all front-load washer owners reported mold or mildew build-up in their machine compared with only 3 percent of HE top-load washers and 1 percent of top-load agitators.
VIDEO
Whirlpool Front Load Washer Owner’s Manual
















![Whirlpool Front Load Washing Machine [w11355369a, W11355370a-sp] User Manual Whirlpool Front Load Washing Machine [w11355369a, W11355370a-sp] User Manual](https://static-data1.manualsee.com/1/img/345/18042/2020/12/Whirlpool-Front-Load-Washing-Machine-W11355369A-W11355370A-SP.jpg)


