
Model FC93, Dummy Handleset

a. Cylinder
b. Cylinder ring
c. Handle
d. Washer
e. Handle bolt
f. Bolt cover
g. Thumbturn
h. Thumbturn screws
i. Chassis
j. Chassis screws
k. Trim
l. Knob/lever
m. Hex wrench (Do not discard!)
1 Check door dimensions.
1a If dimensions do not match, you may need to modify your door.
* May vary from 8 1/4″ (210 mm) to 9 3/4″ (248 mm) for existing hole.
† This measurement should match the other door in the set.

2 Install the handle into the bottom hole.
i You may need help holding the handle in place during installation.
Push firmly! Then hold in place.

3 Install the interior chassis.

4 Install the interior plate.
4a Hook clip into bottom chassis first. Then snap into place.

4b Secure with screws.

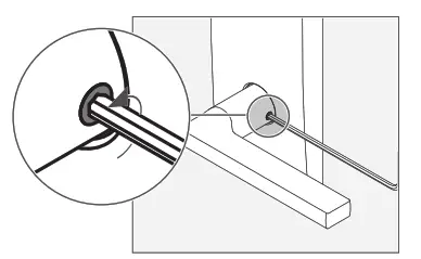
5 Install the handle bolt.

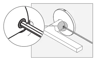
6 Install the knob/lever.
6a Push knob/lever firmly into place.

6b Then tighten set screw.

Change levers
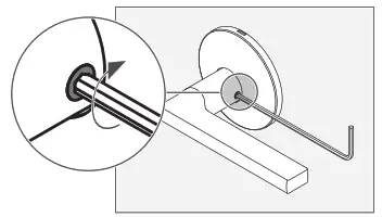
1. Loosen set screw, but do not remove.

2. Pull lever off.

3. Reinstall appropriately. Then tighten set screw.
Model FC93, Dummy Handleset

a. Cylinder
b. Cylinder ring
c. Handle
d. Washer
e. Handle bolt
f. Bolt cover
g. Thumbturn
h. Thumbturn screws
i. Chassis
j. Chassis screws
k. Trim
l. Knob/lever
m. Hex wrench (Do not discard!)
1 Check door dimensions.
1a If dimensions do not match, you may need to modify your door.
For further assistance, call Customer Service at 1-888-8059837.
* May vary from 8 1/4″ (210 mm)to 9 3/4″ (248 mm) for existing hole.
† This measurement should match the other door in the set.

2 Install the handle into the bottom hole.
i You may need help holding the handle in place during installation.
Push firmly! Then hold in place.

3 Install the interior chassis.

4 Install the handle bolt.

5 Install the interior trim.

6 Install the knob/lever.
6a Push knob/lever firmly into place.

6b Then tighten set screw.

7 Install the cylinder and ring into the top hole.

8 Install the thumb-turn.
![]()
![]()
Change levers
1. Loosen set screw, but do not remove.

2. Pull lever off.

3. Reinstall appropriately. Then tighten set screw.
Schlage Custom One-piece Dummy Handleset FCT93 Installation Manual – Optimized PDF
Schlage Custom One-piece Dummy Handleset FCT93 Installation Manual – Original PDF


















