HIKVISION DS-3WF03C Wireless Devices

DS-3WF03C
Quick Start Guide
COPYRIGHT © 2019 Hangzhou Hikvision Digital Technology Co., Ltd.
ALL RIGHTS RESERVED.
Any and all information, including, among others, wordings, pictures, graphs are the properties of Hangzhou Hikvision Digital Technology Co., Ltd. or its subsidiaries (hereinafter referred to be “Hikvision”). This user manual (hereinafter referred to be “the Manual”) cannot be reproduced, changed, translated, or distributed, partially or wholly, by any means, without the prior written permission of Hikvision. Unless otherwise stipulated, Hikvision does not make any warranties, guarantees or representations, express or implied, regarding to the Manual.
About this Manual
This Manual is applicable to DS-3WF03C (Product Series).
The Manual includes instructions for using and managing the product. Pictures, charts, images and all other information hereinafter are for description and explanation only. The information contained in the Manual is subject to change, without notice, due to firmware updates or other reasons. Please find the latest version in the company website (http://overseas.hikvision.com/en/).
Please use this user manual under the guidance of professionals.
Trademarks Acknowledgement
Hikvision and other Hikvision’s trademarks and logos are the properties of Hikvision in various jurisdictions. Other trademarks and logos mentioned below are the properties of their respective owners.
Legal Disclaimer
TO THE MAXIMUM EXTENT PERMITTED BY APPLICABLE LAW, THE PRODUCT DESCRIBED, WITH ITS HARDWARE, SOFTWARE AND FIRMWARE, IS PROVIDED “AS IS”, WITH ALL FAULTS AND ERRORS, AND HIKVISION MAKES NO WARRANTIES, EXPRESS OR IMPLIED, INCLUDING WITHOUT LIMITATION, MERCHANTABILITY, SATISFACTORY QUALITY, FITNESS FOR A PARTICULAR PURPOSE, AND NON-INFRINGEMENT OF THIRD PARTY. IN NO EVENT WILL HIKVISION, ITS DIRECTORS, OFFICERS, EMPLOYEES, OR AGENTS BE LIABLE TO YOU FOR ANY SPECIAL, CONSEQUENTIAL, INCIDENTAL, OR INDIRECT DAMAGES, INCLUDING, AMONG OTHERS, DAMAGES FOR LOSS OF BUSINESS PROFITS, BUSINESS INTERRUPTION, OR LOSS OF DATA OR DOCUMENTATION, IN CONNECTION WITH THE USE OF THIS PRODUCT, EVEN IF HIKVISION HAS BEEN ADVISED OF THE POSSIBILITY OF SUCH DAMAGES.
REGARDING TO THE PRODUCT WITH INTERNET ACCESS, THE USE OF PRODUCT SHALL BE WHOLLY AT YOUR OWN RISKS. HIKVISION SHALL NOT TAKE ANY RESPONSIBILITES FOR ABNORMAL OPERATION, PRIVACY LEAKAGE OR OTHER DAMAGES RESULTING FROM CYBER ATTACK, HACKER ATTACK, VIRUS INSPECTION, OR OTHER INTERNET SECURITY RISKS; HOWEVER, HIKVISION WILL PROVIDE TIMELY TECHNICAL SUPPORT IF REQUIRED.
SURVEILLANCE LAWS VARY BY JURISDICTION. PLEASE CHECK ALL RELEVANT LAWS IN YOUR JURISDICTION BEFORE USING THIS PRODUCT IN ORDER TO ENSURE THAT YOUR USE CONFORMS THE APPLICABLE LAW. HIKVISION SHALL NOT BE LIABLE IN THE EVENT THAT THIS PRODUCT IS USED WITH ILLEGITIMATE PURPOSES.
IN THE EVENT OF ANY CONFLICTS BETWEEN THIS MANUAL AND THE APPLICABLE LAW, THE LATER PREVAILS.
Regulatory Information
FCC Information
Please take attention that changes or modification not expressly approved by the party responsible for compliance could void the user’s authority to operate the equipment.
FCC compliance: This equipment has been tested and found to comply with the limits for a Class A digital device, pursuant to part 15 of the FCC Rules. These limits are designed to provide reasonable protection against harmful interference when the equipment is operated in a commercial environment. This equipment generates, uses, and can radiate radio frequency energy and, if not installed and used in accordance with the instruction manual, may cause harmful interference to radio communications. Operation of this equipment in a residential area is likely to cause harmful interference in which case the user will be required to correct the interference at his own expense.
FCC Conditions
This device complies with part 15 of the FCC Rules. Operation is subject to the following two conditions:
- This device may not cause harmful interference.
- This device must accept any interference received, including interference that may cause undesired operation.
EU Conformity Statement
This product and – if applicable – the supplied accessories too are marked with “CE” and comply therefore with the applicable harmonized European standards listed under the EMC Directive 2014/30/EU, the LVD Directive 2014/35/EU, the RoHS Directive 2011/65/EU.
2012/19/EU (WEEE directive): Products marked with this symbol cannot be disposed of as unsorted municipal waste in the European Union. For proper recycling, return this product to your local supplier upon the purchase of equivalent new equipment, or dispose of it at designated collection points. For more information see: www.recyclethis.info
2006/66/EC (battery directive): This product contains a battery that cannot be disposed of as unsorted municipal waste in the European Union. See the product documentation for specific battery information. The battery is marked with this symbol, which may include lettering to indicate cadmium (Cd), lead (Pb), or mercury (Hg). For proper recycling, return the battery to your supplier or to a designated collection point.
For more information see: www.recyclethis.info
Industry Canada ICES-003 Compliance
This device meets the CAN ICES-3 (A)/NMB-3(A) standards requirements.
Introduction
Overview
DS-3WF03C wireless bridge can be applied in industries, such as wireless video surveillance, railway, transportation, power and other industries, wireless video/data transmission, wireless coverage, carrier wireless backbone network construction, Wi-Fi wireless coverage, rural information construction, and wireless network coverage. The long-distance transmission of the device can guarantee multi-channel HD video transmission.
Packing List
The packing list is shown as below. If any accessories are damaged or lost, keep the package intact and contact your dealer for replacement.
| Name | Item | Quantity |
| Device | DS-3WF03C | 1 |
| PoE Adapter | 24 V, 0. 5 A | 1 |
| Power Cord | Power Cord | 1 |
| Hoop | Hoop for mounting device | 2 |
| Quick Start Guide | Instruction manual | 1 |
Appearance
Front Panel of DS-3WF03C
Indicator
Indicator Description
Physical Interface

| Physical Interface | Description |
| Reset | Restore default factory settings |
| LAN | Access to the camera, information distribution screen and other equipment |
| POE | PoE port connection with PoE power supply |
Installation
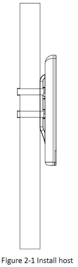
Step 1:
Select the unobstructed high point around the device to ensure that the devices are aligned and there is no obstruction in the middle. Fix the device as shown in the figure below. Attach the back of the device to the pole, use the hoop to pass through the hoop hole on the back of the device, tighten the hoop, and fix the device on the pole.
Step 2:
Connect the PoE interface of the device to the PoE interface of the PoE power supply through the network cable. The LAN interface of the device and the LAN interface of the PoE power supply can be connected to the front-end network devices such as IPC through the network cable, as shown in the following figure.

Step 3:
The schematic diagram of the installation of the device is as follows.
Prepare
Step 1:
Use a network cable to connect the computer to the LAN interface of the device or PoE power supply to prepare the device. First, you need to configure the computer IP address and the device’s default IP address to be on the same network segment. Take the Windows 7 system as an example. Click the network logo in the lower right corner of the desktop and click Open Network & Internet settings-Network and Sharing Center. As shown below.
Step 2:
Click “Local Area Connection” on the right and click “Properties”. As shown below
Step 3:
Double-click Internet Protocol Version 4 (TCP/IPv4). As shown below.
Step 4:
Configure the IP address of the computer to be the unused 192.168.1.X address in the LAN. X is any integer other than 36 in 2 to 253. The subnet mask is 255.255.255.0. Click “OK” as shown below.
Configuration
After the preparation is completed, start the device configuration.
Step 1:
Make sure that the IP address of the computer is inconsistent with the default IP address of the device. On the same network segment, use a browser to log in to the device, open a browser, and enter the default IP address of the device in the address bar: 192.168.1.36.
When you log in to the device for the first time, click Enter, enter the device activate page. The user name is admin, and the user password is set by the user. You also need to select your password, country, language and time zone, as shown in Figure 4-1. Check “I agree to these terms of use” and click “Activate”. Take the AP device as an example.

Step 2:
Go to the device page and click the “Wizard” bar at the top of the page to enter the “Network” page to set the IP address of the device. In the address field of the LAN IP, fill in 192.168.1.X, X is any integer from 2 to 253, and the address is not used. The subnet mask can be used by default. Click “Next” when finished.

Step 3:
Go to the “Wireless” page. The device can modify the wireless parameters such as network name, frequency, and key through this page. The default wireless mode of the device is the Station. The default network name of the device is Wireless. When pairing with the Access Point device, please note that the key and the SSID on the Station side must be the same as the Access Point. Other configurations are recommended to keep the default values. Click “Next”.
Step 4:
Go to the Setup “Wizard – Finish” page and click “Change” to save the configuration.
Users can also click the “Wireless” bar at the top of the page to enter the “Wireless” page and modify the network name, frequency, key and other parameters.
For the Access Point device configuration, please refer to the station device configuration



















