Network Camera
Quick Start Guide
User Manual
http://enpinfodata.hikvision.com/analysisQR/showQR/a7c6910f
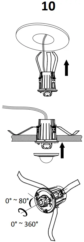
Installation
![]() | ![]() |
![]() | ![]() |
![]() | ![]() |
Waterproof

Activate and Access Network Camera
http://enpinfodata.hikvision.com/analysisQR/showQR/d983b5d2
| Interface | Description |
| LAN(PoE) | Network interface, PoE supported |
| DC12V, AC24V | Power input interface |
MicroSD![]() | MicroSD card slot Insert the MicroSD card for local storage |
| RESET | One-key reset button |
| AUDIO IN | Audio input interface |
| AUDIO OUT | Audio output interface |
| ALARM IN | Alarm input interface IN1 and GND1, IN2 and GND2 are two pairs of alarm inputs |
| ALARM OUT | Alarm output interface 1A and 1B, 2A and 2B, 3A and 3B are three pairs of alarm outputs |
| RS-485 | D+ or D- connect to 485 |
| DC12V, GND/ DC 12V_OUT | Power output interface |
| BNC | BNC/CVBS interface |
| Grounding |
Note: The interface varies with the models. Please refer to the product datasheet for details.
© 2022 Hangzhou Hikvision Digital Technology Co., Ltd. All rights reserved.
About this Manual
The Manual includes instructions for using and managing the product. Pictures, charts, images, and all other information hereinafter are for description and explanation only. The information contained in the Manual is subject to change, without notice, due to firmware updates or other reasons. Please find the latest version on the company website (https://www.hikvision.com).
Please use this user manual under the guidance of professionals.
Trademarks
and other Hikvision trademarks and logos are the properties of Hikvision in various jurisdictions.
Other trademarks and logos mentioned below are the properties of their respective owners.
Other trademarks and logos mentioned are the properties of their respective owners.
: The terms HDMI and HDMI High-Definition Multimedia Interface, and the HDMI Logo are trademarks or registered trademarks of HDMI Licensing Administrator, Inc. in the United States and other countries.
Disclaimer
TO THE MAXIMUM EXTENT PERMITTED BY
APPLICABLE LAW, THIS MANUAL, AND THE PRODUCT DESCRIBED, WITH ITS HARDWARE, SOFTWARE, AND FIRMWARE, ARE PROVIDED “AS IS” AND “WITH ALL FAULTS AND ERRORS”.
HIKVISION MAKES NO WARRANTIES, EXPRESS OR IMPLIED, INCLUDING WITHOUT LIMITATION, MERCHANTABILITY, SATISFACTORY QUALITY, OR FITNESS FOR A PARTICULAR PURPOSE. THE USE OF THE PRODUCT BY YOU IS AT YOUR OWN RISK.
IN NO EVENT WILL HIKVISION BE LIABLE TO YOU FOR ANY SPECIAL, CONSEQUENTIAL, INCIDENTAL, OR INDIRECT DAMAGES, INCLUDING, AMONG OTHERS, DAMAGES FOR LOSS OF BUSINESS PROFITS, BUSINESS INTERRUPTION, OR LOSS OF DATA, CORRUPTION OF SYSTEMS, OR LOSS OF DOCUMENTATION, WHETHER BASED ON BREACH OF CONTRACT, TORT (INCLUDING NEGLIGENCE), PRODUCT LIABILITY, OR OTHERWISE, IN CONNECTION WITH THE USE OF THE PRODUCT, EVEN IF HIKVISION HAS BEEN ADVISED OF THE POSSIBILITY OF SUCH DAMAGES OR LOSS.
YOU ACKNOWLEDGE THAT THE NATURE OF THE INTERNET PROVIDES FOR INHERENT SECURITY RISKS, AND HIKVISION SHALL NOT TAKE ANY RESPONSIBILITY FOR ABNORMAL OPERATIONS, PRIVACY LEAKAGE, OR OTHER DAMAGES RESULTING FROM CYBER-ATTACKS, HACKER ATTACKS, VIRUS INFECTIONS, OR OTHER INTERNET SECURITY RISKS; HOWEVER, HIKVISION WILL PROVIDE TIMELY TECHNICAL SUPPORT IF REQUIRED.
YOU AGREE TO USE THIS PRODUCT IN COMPLIANCE WITH ALL APPLICABLE LAWS, AND YOU ARE SOLELY RESPONSIBLE FOR ENSURING THAT YOUR USE CONFORMS TO THE APPLICABLE LAW. ESPECIALLY, YOU ARE RESPONSIBLE, FOR USING THIS PRODUCT IN A MANNER THAT DOES NOT INFRINGE ON THE RIGHTS OF THIRD PARTIES, INCLUDING WITHOUT LIMITATION, RIGHTS OF PUBLICITY, INTELLECTUAL PROPERTY RIGHTS, OR DATA PROTECTION AND OTHER PRIVACY RIGHTS.
YOU SHALL NOT USE THIS PRODUCT FOR ANY PROHIBITED END-USES, INCLUDING THE DEVELOPMENT OR PRODUCTION OF WEAPONS OF MASS DESTRUCTION, THE DEVELOPMENT OR PRODUCTION OF CHEMICAL OR BIOLOGICAL WEAPONS, ANY ACTIVITIES IN THE CONTEXT RELATED TO ANY NUCLEAR EXPLOSIVE OR UNSAFE NUCLEAR FUEL CYCLE, OR IN SUPPORT OF HUMAN RIGHTS ABUSES.
IN THE EVENT OF ANY CONFLICTS BETWEEN THIS MANUAL AND THE APPLICABLE LAW, THE LATTER PREVAILS.
Regulatory Information
FCC Information
Please take attention that changes or modifications not expressly approved by the party responsible for compliance could void the user’s authority to operate the equipment.
FCC compliance: This equipment has been tested and found to comply with the limits for a Class B digital device, pursuant to part 15 of the FCC Rules. These limits are designed to provide reasonable protection against harmful interference in a residential installation. This equipment generates, uses, and can radiate radio frequency energy and, if not installed and used in accordance with the instructions may cause harmful interference to radio communications.
However, there is no guarantee that interference will not occur in a particular installation. If this equipment does cause harmful interference to radio or television reception, which can be determined by turning the equipment off and on, the user is encouraged to try to correct the interference by one or more of the following measures:
—Reorient or relocate the receiving antenna.
—Increase the separation between the equipment and receiver.
—Connect the equipment into an outlet on a circuit different from that to which the receiver is connected.
—Consult the dealer or an experienced radio/TV technician for help.
* Wi-Fi device:
This equipment should be installed and operated with a minimum distance of 20cm between the radiator and your body.
FCC Conditions
This device complies with part 15 of the FCC Rules. Operation is subject to the following two conditions:
- This device may not cause harmful interference.
- This device must accept any interference received, including interference that may cause undesired operation.
Note: Due to the device size, FCC compliance statements and warnings will be listed in the manual.
EU Conformity Statement
This product and – if applicable – the supplied accessories too are marked with “CE” and comply therefore with the applicable harmonized
European standards listed under the EMC Directive 2014/30/EU, the LVD Directive2014/35/EU, the RoHS Directive 2011/65/EU, Wi-Fi device: the RE Directive 2014/53/EU
2012/19/EU (WEEE directive): Products marked with this symbol cannot be disposed of as unsorted municipal waste in the European Union. For proper recycling, return this product to your local supplier upon the purchase of equivalent new equipment, or dispose of it at designated collection points. For more information see: www.recyclethis.info
2006/66/EC (battery directive):
This product contains a battery that cannot be disposed of as unsorted municipal waste in the European Union. See the product documentation for specific battery information.
The battery is marked with this symbol, which may include lettering to indicate cadmium (Cd), lead (Pb), or mercury (Hg). For proper recycling, return the battery to your supplier or to a designated collection point. For more information see: www.recyclethis.info
Industry Canada ICES-003 Compliance
This device meets the CAN ICES-3 (B)/NMB-3(B) standards requirements.
* Wi-Fi device:
This device complies with Industry Canada licence-exempt RSS standard(s). Operation is subject to the following two conditions:
(1) this device may not cause interference, and (2) this device must accept any interference, including interference that may cause undesired operation of the device.
Safety Instruction
These instructions are intended to ensure that the user can use the product correctly to avoid danger or property loss.
Laws and Regulations
The device should be used in compliance with local laws, electrical safety regulations, and fire prevention regulations.
Electricity
In the use of the product, you must be in strict compliance with the electrical safety regulations of the nation and region. The equipment shall not be exposed to dripping or splashing and no objects filled with liquids, such as vases, shall be placed on the equipment. Provide a surge suppressor at the inlet opening of the equipment under special conditions such as the mountain top, iron tower, and forest.
CAUTION: To reduce the risk of fire, replace only with the same type and rating of the fuse.
Battery
Do not ingest the battery. Chemical burn hazard! This product contains a coin/button cell battery. If the coin/button cell battery is swallowed, it can cause severe internal burns in just 2 hours and can lead to death. Keep new and used batteries away from children. If the battery compartment does not close securely, stop using the product and keep it away from children. If you think batteries might have been swallowed or placed inside any part of the body, seek immediate medical attention.
CAUTION: Risk of explosion if the battery is replaced by an incorrect type. Dispose of used batteries according to the instructions. Improper replacement of the battery with an incorrect type may defeat a safeguard (for example, in the case of some lithium battery types). Do not dispose of the battery in a fire or a hot oven, or mechanically crush or cut the battery, which may result in an explosion. Do not leave the battery in an extremely high temperature surrounding environment, which may result in an explosion or the leakage of flammable liquid or gas. Do not subject the battery to extremely low air pressure, which may result in an explosion or the leakage of flammable liquid or gas. + identifies the positive terminal(s) of equipment that is used with, or generates a direct current. – identifies the negative terminal(s) of equipment that is used with, or generates a direct current.
Fire Prevention
No naked flame sources, such as lighted candles, should be placed on the equipment. The serial port of the equipment is used for debugging only.
Hot Surface Prevention
CAUTION: Hot parts! Burned fingers when handling the parts. Wait one-half hour after switching off before handling parts. This sticker is to indicate that the marked item can be hot and should not be touched without taking care. The device with this sticker, this device is intended for installation in a restricted access location, access can only be gained by service persons or by users who have been instructed about the reasons for the restrictions applied to the location and about any precautions that shall be taken.
Installation
Install the equipment according to the instructions in this manual.
Power Supply
Device powered by Safety Extra-Low Voltage(SELV): The power source should meet limited power source or PS2 requirements according to IEC 60950-1 or IEC 62368-1 standard.
Device powered by AC mains supply voltage: The equipment must be connected to an earthed mains socket-outlet. An appropriate readily accessible disconnect device shall be incorporated external to the equipment. An appropriate overcurrent protective device shall be incorporated external to the equipment, not exceeding the specification of the building. An all-pole mains switch shall be incorporated in the electrical installation of the building. Ensure correct wiring of the terminals for connection to an AC mains supply. The equipment has been designed when required and modified for connection to an IT power distribution system.
White Light Illuminator (If supported)
Possibly hazardous optical radiation emitted from this product. DO NOT stare at the operating light source. May be harmful to the eyes. Wear appropriate eye protection or DO NOT turn on the white light when you assemble, install or maintain the camera.
Transportation
Keep the device in original or similar packaging while transporting it.
System Security
The installer and user are responsible for password and security configuration.
Maintenance
If the product does not work properly, please contact your dealer or the nearest service center.
We shall not assume any responsibility for problems caused by unauthorized repair or maintenance. A few device components (e.g., electrolytic capacitor) require regular replacement. The average lifespan varies, so periodic checking is recommended. Contact your dealer for details.
Cleaning
Please use a soft and dry cloth when cleaning the inside and outside surfaces of the product cover. Do not use alkaline detergents.
Using Environment
DO NOT place the camera in extremely hot, cold, dusty, or damp locations, and do not expose it to high electromagnetic radiation.
Emergency
If smoke, odor, or noise arises from the device, immediately turn off the power, unplug the power cable, and contact the service center.
Time Synchronization
Set up device time manually for the first time access if the local time is not synchronized with that of the network. Visit the device via Web browse/client software and go to the time settings interface.
Reflection
Make sure that no reflective surface is too close to the device lens. The IR light from the device may reflect back into the lens causing reflection.
UD21665B-F

























