steinel HL 1620 S Professional Heat Gun
Safety warnings
- The residual heat indicator serves as a visual warning to prevent injury from direct contact with the hot nozzle outlet. The residual heat indicator also works when the tool is unplugged.
- The indicator starts working after the tool has been in use for 90 seconds and keeps flashing until the temperature at the nozzle outlet has fallen below 60 °C at room temperature.
- The residual heat indicator does not show if the tool has been in operation for less than 90 seconds. Responsibility always rests with the user and care must be taken at all times when handling hot air tools.
- Keep these safety precautions with the tool.
Uses
Here are some of the applications you can use STEINEL hot air tools for. This selection is by no means exhaustive – no doubt you can immediately think of other examples.
Paint stripping:
Paint is softened and can be removed with a stripping knife and paint scraper to leave a clean surface.
Shrinking tubing on cables:
The shrink tubing is slipped over the section you want to insulate and heated with hot air. The tubing shrinks by ap-prox. 50% in diameter to give a sealed union. Shrinking is particularly fast and even uses reflector nozzles. Sealing and stabilizing cable breaks, insulating soldered joints, gathering cable runs, sheathing terminal blocks.
Forming PVC:
Sheeting, piping or ski boots can be softened and formed with hot air.
Lighting barbecues:
Gets charcoal glowing in next to no time; no more waiting.
Thawing:
Water pipes, frozen door locks, steps. Gently thaws and dries all in one go.
Soft soldering:
First, clean metal parts you want to join. Then, using hot air, heat the point you want to solder and offer up the soldering wire. Use flux or a soldering wire with a flux core to prevent oxide forming.
Welding and joining plastic:
All parts being welded must be of the same plastic material. Use an appropriate welding rod.
Joining sheeting:
The sheets are overlapped and welded together. A slit nozzle is used to direct hot air under the overlap, then the two sheets are firmly pressed together with a feed roller. Also possible: Repairing PVC tarpaulins by overlap weld-ing with a slit nozzle.
For your safety
These hot air tools are doubly protected from overheating:
- A thermostat switches the heater off if too much of the air outlet nozzle is obstructed (heat build-up). However, the blower continues to run. A warning triangle on the display tells you that the heater is switched off. Once the air delivery nozzle is clear again, the heater automatically switches back on again after a few moments. The warning triangle then goes out. The thermostat may also respond after switching the hot air tool off, taking it longer than usual to reach temperature at the air delivery nozzle when it is switched on again. *
- The thermal cut-out completely shuts down the tool if it is overloaded.
Tool description – Operation
Please note The distance from the object you are working on depends on material and intended method of working. Always try out the airflow and temperature on a test piece first. Using the attachable accessory nozzles (see accessories page on the cover) the flow of hot air can be controlled with maximum precision. Take care when changing hot nozzles! When using the hot air tool in the self-resting position, make sure it is standing on a stable, non-slip and clean surface.
HL 1620 S
The tool is switched on and off at the two-stage switch on the back of the grip handle. Airflow and temperature can be adjusted to 2 settings. Stage 1 reaches 300 °C at an airflow of 240 l/min, stage 2 reaches 500 °C at 450 l/min. This tool is intended for home use only.
HL 1820 S
The tool is switched on and off via the three-stage switch on the back of the grip handle. Airflow and temperature can be adjusted to 3 settings. Stage 1 (cool air stage) reaches 50°C at an airflow rate of 100 l/min, stage 2 reaches 400°C at 300 l/min and stage 3 reaches 600°C at 500 l/min. The guard sleeve detaches by means of a bayonet catch.
HL 1920 E
The tool is switched on and off at the two-stage switch on the back of the grip handle. In addition to three-stage speed/airflow control (stage 1 is a cold-air stage at 80 °C), temperature can be continuously adjusted over a range of 80 °C – 600 °C in settings 2 and 3 at the thumbwheel. The numbers 1 – 9 on the thumbwheel serve as a guide only. Whereas “1” means 80 °C, the maximum temperature of 600 °C is attained at “9”. Airflow can be adjusted to the three stages of 150 / 150-300 / 300-500 l/min. The guard sleeve detaches at a bayonet catch.
HL 2020 E
The tool is switched on and off at the two-stage switch on the back of the grip handle. In addition to the three-stage speed/airflow control at the switch, temperature can be continuously adjusted over a range of 80 °C to 630 °C in settings 2 and 3 at the rocker switch. The target temperature can be increased in 10 °C increments by pressing the right-hand “+” side of the rocker switch or reduced by pressing the left-hand “–” side of the rocker switch. Keeping the button pressed will continue to increase or reduce the temperature in steps of 10 °C until the rocker button is released or the minimum or maximum temperature is set. The temperature setting is shown on the display for 3 seconds. On lowering or increasing the temperature, the actual temperature is then displayed at the delivery nozzle. The °C/°F symbol flashes during this period. As soon as the selected temperature is reached, this symbol stops flashing and is displayed all the time. Blower stage 1 delivers a temperature of 80 °C. When the tool has been operating at high temperatures on blower stage 2 or 3 it will take a short while to cool to 80 °C after switching down to blower stage 1. While the tool is cooling down, the LCD display shows the actual temperature at the nozzle outlet. After switching off, the tool stays in the last setting that was selected. The guard sleeve detaches at a bayonet catch.
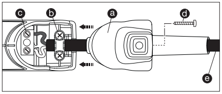
Changing the power cord
If the power cord is damaged, it can easily be changed without opening the casing. 
- Important! Disconnect tool from power supply.
- Undo screw d and remove cover cap a.
- Release cable grip b.
- Undo mains terminals c.
- Pull out cord a.
- Insert new cord and secure in reverse order (1. Firmly screw down mains terminals etc.).
Tool features
- Stainless steel outlet nozzle
- Air inlet with lattice guard keeps out foreign matter
- Removable guard sleeve (for places that are hard to reach)
- Soft stand and
- soft end cap for firm standing and non-slip stationary use
- Heavy-duty rubber-insulated power cord
- Multiple-stage switch for adjusting airflow (2-stage/3-stage)
- Thumbwheel for setting temperature
- Button for setting temperature
- LED indicator for monitoring temperature
- Soft grip handle for comfortable operation
- Hanging capability
- Residual heat indicator (HL 2020 E only)
- Replaceable mains power cord (HL 2020 E only)
Technical specifications
Accessories 
Your retailer has a wide range of accessories for you to choose from.
- Surface nozzle 50 mm Prod. No. 070113
- Surface nozzle 75 mm Prod. No. 070212
- Window nozzle 50 mm Prod. No. 070311
- Window nozzle 75 mm Prod. No. 070410
- Paint scraper kitProd. No. 010317
- Reflector nozzleProd. No. 070519
- Crimp connectors Ø 0.5-1.5Prod. No. 006655 Ø 1.5-2.5Prod. No. 006648 Ø 0.1-0.5 – Ø 4.0-6.0Prod. No. 006662
- Heat-shrinkable tubing
- 4.8-9.5 mm Prod. No. 071417
- 1.6-4.8 mm Prod. No. 071318
- 4.0-12.0 mm Prod. No. 072766
- Heat-shrinkable tubing set of 3 Prod. No. 075811
- Soldering reflector nozzle*Prod. No. 074616
- Reduction nozzle 14 mm*Prod. No. 070717
- Reduction nozzle 9 mm*Prod. No. 070618
- Fine dust filter Prod. No. 078218
- HL-ScanProd. No. 014919
- Wide-slit nozzle*Prod. No. 074715
- Feed roller Prod. No. 012311
- Plastic welding rod*
- Rigid PVC: Prod. No. 073114
- HDPE: Prod. No. 071219
- PP: Prod. No. 073411
- ABS: Prod. No. 074210
- Welding shoe*Prod. No. 070915
Disposal
Electrical and electronic equipment, accessories and packaging must be recycled in an environmentally compatible manner. Do not dispose of electrical and electronic equipment as domestic waste.
EU countries only:
Under the current European Directive on Waste Electrical and Electronic Equipment and its implementation in national law, electrical and electronic equipment no longer suitable for use must be collected separately and recycled in an environmentally compatible manner.
Manufacturer’s warranty
This STEINEL product has been manufactured with great care, tested for proper operation and safety in accordance with applicable regulations and then subjected to random sample inspection. STEINEL guarantees that it is in perfect condition and proper working order.
The product is guaranteed for 36 months or 600 hours of operation commencing on the date of sale to the consumer. We will remedy defects caused by material flaws or manufacturing faults. The warranty will be met by repair or replacement of defective parts at our own discretion. This warranty does not cover damage to wearing parts, damage or defects caused by improper treatment or maintenance nor does it cover breakage as a result of the product being dropped. Further consequential damage to other objects shall be excluded. Claims under warranty shall only be accepted if the product is sent fully assembled and well packed complete with sales receipt or invoice (date of purchase and dealer’s stamp) to the appropriate Service Centre or handed in to the dealer within the first 6 months.
Repair service:
If defects occur outside the warranty period or are not covered by warranty, ask your nearest service station for the possibility of repair.





















