USER MANUAL
WIRELESS POWER BANK
WPB -100

PACKAGE CONTENTS
- IDEAPLAY WPB-100 10000mAh 37Wh Wireless Power Bank
- Type-C to Type-C Cable
- 2 in-1 USB Cable
- User Manual
- Warranty Card

WARNING
- If the power bank will not be used for an extended period of time, please charge the power bank once every 3 months.
- Please use it under environmental temperature 0-45°C/32-113°F and relative humidity 20-70% Rh, Keep far away from moisture, heat, and fire.
- Do not touch the power bank with wet hands and during charging keep away from combustible materials, such as sheets or blankets.
- Do not disassemble or modify the product. Do not bring the product into contact with water or any other liquids. In the case of electrolytic liquid leakage, overheating or any other peculiar occurrence does not use the power bank.
- Do not expose the product to fire and other heat sources. Do not use the power bank with any kind of physical damage as it could result in burning, explosion, and/or generation of toxic gas.
- Do not use the same charging cord to connect input and output on the power bank in case of a short circuit.
- Pull out the charging head as the charging indicator lights on. Avoid damaging the battery because of a long time of charging.
- Young children and minors must be under supervision when using the power bank.
- Please read the user instruction carefully and use the power bank according to proper guidance. The manufacturer assumes no responsibility for any damages or injury that
results from the improper operation of this product. - Changes or modifications to this unit not expressly approved by the party responsible for compliance could void the user’s authority to operate the equipment.
- Do not use the power bank to recharge your device(s) when the power bank is charging as this may cause damage to the battery of the power bank and shorten its life.
- If the battery is expanded, weeping, or has a peculiar smell, please stop using it.
- Place your phone on the center of the portable charger to ensure stable charging while wireless charging.
- Cases made of metal and attachments such as magnets, cards, and grips will interfere with wireless charging.
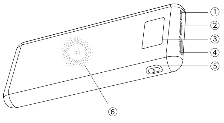
PRODUCT OVERVIEW
- Micro USB Input Port
- Type-C Input/Output Port
- Digital Display
- USB Output
- ON/OFF Button
- Wireless Charging Panel

SAFETY
FCC Disclaimer
This equipment has been tested and found to comply with the limits for a Class B digital device, pursuant to part 15 of the FCC Rules. These limits are designed to provide reasonable protection against harmful interference in a residential installation.
This equipment generates, uses, and can radiate radio frequency energy. If it is not installed and used in accordance with the instructions it may cause harmful interference to radio communications. However, there is no guarantee that interference will occur in a particular installation.
If this equipment does cause harmful interference to radio or television reception the user can try to correct the interference by one or more of the following measures:
-Reorientate or relocate the receiving antenna.
-Increase the separation between the equipment and the receiver.
-Connect the equipment to an outlet on a circuit different from that to which the receiver is connected.
-Consult the dealer or an experienced radio/TV technician for assistance.
-The device has been evaluated to meet general RF exposure requirements.
The device can be used in portable exposure conditions without restriction.
FCC CAUTION
Any change or modifications to this device not expressly approved by the manufacturer could void your authority to operate this equipment.
This device complies with part 15 of the FCC Rules.
Operation is subject to the following two conditions:
- The device may not cause harmful interference.
- This device must accept any interference received, including interference that may cause undesired operation.
Declaration of Conformity for EU Countries
- EMC Directive 2014/30/EU (including amendments).
- Low Voltage Directive 2014/35/EU. (3) Red Directive 2014/53/EU (If Product has RF function).
DO NOT throw this electronic device into the trash. When discarding, to minimize pollution and ensure the utmost protection of the global environment, please recycle it.
WEEE Disposal Instructions:
SPECIFICATION INFO
| General | |
| Brand | IDEALLY |
| Product Name | IDEAPLAY 10000mAh 37Wh Power Bank |
| SKU | IP-WPB824AJKW1 |
| Model Number | WPB-100 |
| Additional Accessories Included | Type-C Cable*1 2 in1 USB Cable*1 |
Output Ports
1 USB Output Port
1 Type-C Output Port

Power
| Battery Capacity | 10000mAh/37Wh |
| Max. Output Wattage | 20W |
| Wireless Output | 15W/10W/7.5W/5W |
| Charging Merhood | Micro/Type-C |
| Micro Input | 5V/3A; 9V/2A;12V/1.5A |
| Type-C Input | 5V/3A; 9V/2A;12V/1.5A |
| Type-C Output | 9V/2.22A ;12V/1.67A(max) |
| USB Output | 5V/3A; 9V/2A; 12V/1.5A |
Dimension
| Product Size | 5.83*2.71*0.65 in |
| Product Weight | 0.46 lb |
Features
| LED Digital Display | YES |
| On/Off Switch | YES |
| Overload Protection | YES |
| Auto Shut-Off | YES |
| Wireless Charging | YES |
IP-WPB824AJKW1
















