YPHIX 50298150 LED Ground Spotlight

Outline Dimension
Box
- Front cover
- Housing
- Clip spring
- Cable gland
Note: The drawing was show a general introduction to this description. When the discrepancy between the actual product and the drawing, please all to the actual products.
Features
- This product is a high-power LED inground light.
- The standard color temperature of warm white is in the range of 2700-3200k.
- The standard input voltage is 24VDC. When you install the product, please check the date label on the product and the wire.
- When using low voltage light fixtures, please prepare a powerful power supply or 24VDC output transformer.The total demand of power is according to the total power consumption +total power of cable impedance consumption. When installing, always work with a technician or install by a technician.
- The main material of this product is aluminum, surface coating is only suitable for natural environments,do not install this product near the sea water or in an environment that is high salty or high acid.
- This is an IP67-grade product.
- Applicable environment temperature: -20℃<fixture<+40℃.
Installation
- Install the sleeves on the ground, the top side should be on the same level as the ground surface, cable needs to go through the sleeve.
- Connect the cable with the light 。*keep enough length for maintenance.
- Put the light fixture into the sleeve.
Note
The thickness of the gravel must be greater than 25cm.
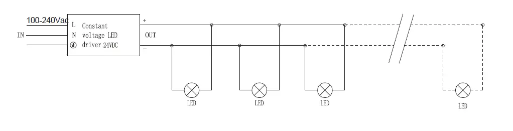
Wiring Diagram
Low voltage single color fitting:use an external power supply,the input voltage of the power supply must be consistent with the requested input voltage of the fitting,as the fitting is a constant voltage input type. The power consumption of the power supply must be decided by the installer according to the requirements of the site.
Example of wiring
24VDC:circiut of product
Explanations: the transmission circuit of the whole group depends on the circuit of junction boxes. the max. current depends on the max. a load of power cable between the junction boxer, but it is not related to the max. load current of the power cable of the fitting. The outer diameter of the cable between the junction boxes is limited by the max. the outer diameter of the speedy plug, the max. allowed outer diameter is 10mm.
Specifications
- HOUSING: 12# Die-casting dark grey powder-coated aluminum T=60-80µm.Adhesion of ISO class 1/ASTM class 4B
- FRONT COVER: Hard chrome plated stainless steel SUS 316#
- LOADING CAPACITY: 2000kg
- GASKET: Molding-shaped silicone seal
- OPERATING TEMPERATURE: -20˚C~40˚C
- POWER CABLE: H05RN-F 2X1.0mm2 L=0.5m
- MOUNTING SLEEVE: 062# ABS plastic
- DIMMABLE SUPPORT: Triac PWM 1-10V Dali
Electrical parameters





















