AcutiyBrands Legacy D-Series Area Luminaire

SAFETY INSTRUCTIONS
READ AND FOLLOW ALL SAFETY INSTRUCTIONS!
SAVE THESE INSTRUCTIONS AND DELIVER THEM TO THE OWNER AFTER INSTALLATION
- To reduce the risk of death, personal injury, or property damage from fire, electric shock, falling parts, cuts/abrasions, and other hazards please read all warnings and instructions included with and on the fixture box and all fixture labels.
- Before installing, servicing, or performing routine maintenance on this equipment, follow these general precautions.
- Installation and service of luminaires should be performed by a qualified licensed electrician.
- Maintenance of the luminaires should be performed by a person(s) familiar with the luminaires’ construction and operation and any hazards involved. Regular fixture maintenance programs are recommended.
- It will occasionally be necessary to clean the outside of the refractor/lens. The frequency of cleaning will depend on ambient dirt level and minimum light output which is acceptable to the user. The refractor/lens should be washed in a solution of warm water and any mild, non-abrasive household detergent, rinsed with clean water, and wiped dry. Should the optical assembly become dirty on the inside, wipe the refractor/lens and clean in the above manner, replacing damaged gaskets as necessary.
- DO NOT INSTALL DAMAGED PRODUCTS! This luminaire has been properly packed so that no parts should have been damaged during transit. Inspect to confirm. Any part damaged or broken during or after assembly should be replaced.
- Recycle: For information on how to recycle LED electronic products, please visit www.epa.gov.
- These instructions do not purport to cover all details or variations in equipment nor to provide every possible contingency to meet in connection with installation, operation, or maintenance. Should further information be desired or should particular problems arise which are not covered sufficiently for the purchaser’s or owner’s purposes, this matter should be referred to Acuity Brands Lighting, Inc?
WARNING: RISK OF ELECTRIC SHOCK
- Disconnect or turn off power before installation or servicing.
- Verify that supply voltage is correct by comparing it with the luminaire label information.
- Make all electrical and grounded connections in accordance with the National Electrical Code (NEC) and any applicable local code requirements.
- All wiring connections should be capped with UL approved recognized wire connectors.
WARNING: RISK OF BURN
- Allow lamp/fixture to cool before handling. Do not touch enclosure or light source.
- Do not exceed maximum wattage marked on luminaire label.
- Follow all manufacturer’s warnings, recommendations and restrictions for: driver type, burning position, mounting locations/methods, replacement and recycling.
CAUTION RISK OF INJURY
- Wear gloves and safety glasses at all times when removing luminaire from carton, installing, servicing or performing maintenance.
- Avoid direct eye exposure to the light source while it is on.
CAUTION: RISK OF FIRE
- Keep combustible and other materials that can burn, away from lamp/lens.
- Do not operate in close proximity to persons, combustible materials or substances affected by heat or drying.
CAUTION: RISK OF PRODUCT DAMAGE
- Never connect components under load.
- Do not mount or support these fixtures in a manner that can cut the outer jacket or damage wire insulation.
- Unless individual product specifications deem otherwise: Never connect an LED product directly to a dimmer packs, occupancy sensors, timing devices, or other related control devices. LED fixtures must be powered directly off a switched circuit.
- Unless individual product specifications deem otherwise: Do not restrict fixture ventilation. Allow for some volume of airspace around fixture. Avoid covering LED fixtures with insulation, foam, or other material that will prevent convection or conduction cooling.
- Unless individual product specifications deem otherwise: Do not exceed fixtures maximum ambient temperature.
- Only use fixture in its intended location.
- LED products are Polarity Sensitive. Ensure proper Polarity before installation.
- Electrostatic Discharge (ESD): ESD can damage LED fixtures. Personal grounding equipment must be worn during all installation or servicing of the unit.
- Do not touch individual electrical components as this can cause ESD, shorten lamp life, or alter performance.
- Some components inside the fixture may not be serviceable. In the unlikely event your unit may require service, stop using the unit immediately and contact an ABL representative for assistance.
- Always read the fixtures complete installation instructions prior to installation for any additional fixture-specific warnings.
- Please see product specific installation instructions for additional warnings or any applicable FCC or other regulatory statements.
- Failure to follow any of these instructions could void product warranties. For a complete listing of product Terms and Conditions, please visit www.acuitybrands.com.
- Our Brands Indoor/Outdoor Indoor Lighting Outdoor Lighting Controls Daylighting
- Lithonia Lighting Gotham American Electric Lighting DARK TO LIGHT SunOptics
- Carandini Mark Architectural Lighting Antique Street Lamps LC&D
- Holophane Peerless Hydrel ROAM
- RELOC Renaissance Lighting Tersen Sensor Switch
- Light Concepts Winona Lighting Synergy
- Acuity Brands Lighting, Inc. assumes no responsibility for claims arising out of improper or careless installation or handling of its products.
- ABL LED General Warnings, Form No. 503.203
- © 2010 Acuity Brands Lighting, Inc. All rights reserved. 12/01/10
Installation Instructions
DSX LED G1 5 year limited warranty
- Tools Required: 9/16″ socket wrench. 3/16″ allen wrench.
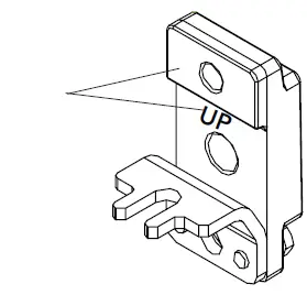
- Mounting block has this reinforced cast step and the word “UP” cast into it once.

- This mounting block ships in the fixture carton.
- DELIVERY: Upon receipt of fixture and accessories (packed separately), thoroughly inspect for any freight damage. All damage should be reported to the delivery carrier. Compare the catalog description listed on the packing slip with the fixture label on the inside of the housing to be sure you have received the correct merchandise.
- This device complies with Part 15 of the FCC Rules. Operation is subject to the following two conditions: (1) this device may not cause harmful interference, and (2) this device must accept any interference received, including interference that may cause undesired operation.
- Attach mounting block to the pole by placing the flat bar stock with the 3 holes, two of which are threaded, inside the pole, aligning with the drill pattern. Place the cast aluminum block on the outside of the pole, with the word “Up” towards the top of the pole and facing outward or away from the pole. Place the (2) 3/8” diameter hex head bolts through the (2) lock washers and through the block and pole, and thread into the threaded bar stock. (There is no gasket needed). Check plumb and level of the block and secure bolts tightly with 9/16″ wrench or socket. (See Figure 1)

- Insert the wires from the fixture through the center hole of the mounting block assembly, pulling them into the pole. Place the luminaire over the mounting block while tilted up at a slight angle above horizontal, and then tip back down to horizontal once oriented on the block making certain the wires are not pinched. For ease of installation, the mounting block will hold the weight of the luminaire prior to tightening the mounting bolt. Insert the wires from the fixture through the center hole of the mounting block assembly, pulling them into the pole. Wire connections will be made inside the pole during step 7. (See Figure 2)

- To secure the fixture, open doorframe by loosening the (2) captive screws using 3/16″ allen wrench (Figure 3).
- Check again that no wires are pinched, then tighten the locking hex head bolt inside the arm with a 9/16″ socket to 20-30 ft. lbs. torque (overtightening will cause stripping and void all warranties). (See Figure 4 and Figure 5)

- Check the mounted assembly to assure proper placement and secured mounting has been achieved such that the fixture is fully seated on the cleat and arm is flush with pole.
- Close the doorframe and tighten the (2) captive doorframe screws (Figure 3).
- Make wire connections, observing proper voltage and polarity. Connect green ground wire from the fixture to the field ground wire. Reference wiring diagram on driver. Secure wires; push back into pole.
DSX1 LED HS (2 panels shown)
Houseside Shield (HS)
- Remove the screws shown in picture from the light engine and discard.
- Place a House-side shield on the light engine and align the holes on the shield with the holes on the light engine.
- Assemble the shield to the light engine using the supplied screws.
- Repeat steps 1-3 as needed.

- Troubleshooting: If this fixture fails to operate properly, check to make sure:
- The fixture is wired correctly.
- The fixture is grounded correctly.
- The line voltage at the fixture is correct. If all these variables have been checked and the fixture still does not operate as specified, contact your local Lithonia Lighting distributor.
- Lithonia Lighting Outdoor
- One Lithonia Way
- Conyers, Georgia 30012
- Phone: 800-705-7378
- www.lithonia.com
- © 2011 Acuity Brands Lighting, Inc. All rights reserved. Rev 5/14
- Part Number: RJ521340 Rev M
Revision Date: 8/1/22




















