HAFELE HCO-8T50A Built-in Compact Oven and Microwave
PRECAUTIONS TO AVOID POSSIBLE EXPOSURE TO EXCESSIVE MICROWAVE ENERGY
- Do not attempt to operate this oven with the door open since this can result in harmful exposure to microwave energy. It is important not to break or tamper with the safety interlocks.
- Do not place any object between the oven front face and the door or allow soil or cleaner residue to accumulate on sealing surfaces.
- WARNING: If the door or door seals are damaged, the oven must not be operated until it has been repaired by a competent person.
ADDENDUM
If the apparatus is not maintained in a good state of cleanliness, its surface could be degraded and affect the lifespan of the apparatus and lead to a dangerous situation.
IMPORTANT SAFETY INSTRUCTIONS
- To reduce the risk of fire, electric shock, injury to persons or exposure to excessive microwave oven energy when using your appliance, follow basic precautions, including the following:
- This appliance can be used by children aged from 8 years and above and persons with reduced physical, sensory or mental capabilities or lack of experience and knowledge if they have been given supervision or instruction concerning use of the appliance in a safe way and understand the hazards involved. Children shall not play with the appliance. Cleaning and user maintenance shall not be made by children without supervision
- Read and follow the specific:” PRECAUTIONS TO AVOID POSSIBLE EXPOSURE TO EXCESSIVE MICROWAVE ENERGY”.
- Keep the appliance and its cord out of reach of children less than 8 years.
- If the supply cord is damaged, it must be replaced by the manufacturer, its service agent or similarly qualified persons in order to avoid a hazard.( For appliance with type Y attachment)
- WARNING: It is hazardous for anyone other than a competent person to carry out any service or repair operation that involves the removal of a cover which gives protection against exposure to microwave energy.
- WARNING: Liquids and other foods must not be heated in sealed containers since they are liable to explode.
- This appliance can be used by children aged 8 years and above and persons with reduced physical, sensory or instruction concerning use of the appliance in a safe way and understand the hazards involved. Children shall not play with the appliance. Cleaning and user maintenance shall not be made by children without supervision unless they are aged 8 years and above and supervised.
- When heating food in plastic or paper containers, keep an eye on the oven due to the possibility of ignition.
- Only use utensils that are suitable for use in microwave ovens
- If smoke is emitted, switch off or unplug the appliance and keep the door closed in order to stifle any flames.
- Microwave heating of beverages can result in delayed eruptive boiling, therefore care must be taken when handling the container.
- The contents of feeding bottles and baby food jars shall be stirred or shaken and the temperature checked before consumption, in order to avoid burns.
- Eggs in their shell and whole hard-boiled eggs should not be heated in microwave ovens since they may explode, even after microwave heating has ended.
- The oven should be cleaned regularly and any food deposits removed.
- Failure to maintain the oven in a clean condition could lead to deterioration of the surface that could adversely affect the life of the appliance and possibly result in a hazardous situation
- Only use the temperature probe recommended for this oven.(for oven temperature-sensing probe.)
- The microwave oven must be operated with the decorative door open. (for ovens with a decorative door.)
- This appliance is intended to be used in household and similar applications such as:
- Staff kitchen areas in shops, offices and other working environments;
- By clients in hotels, motels and other residential type environments;
- Farm houses;
- Bed and breakfast type environments
- Care should be taken not to displace the turntable when removing containers from the appliance. (For fixed appliances having detachable turntables. But this is not applicable for appliances with horizontal bottom hinged door.)
- The appliance shall not be cleaned with a steam cleaner.
- WARNING: Ensure that the appliance is switched off before replacing the lamp to avoid the possibility of electric shock.
- WARNING: Accessible parts may become hot during use. Young children should be kept away.
- Steam cleaner is not to be used.
- The microwave oven is intended for heating food and beverages. Drying of food or clothing and heating of warming pads, slippers, sponges, damp cloth and similar may lead to risk of injury, ignition or fire.
- The surface of a storage drawer can get hot.
- WARNING: The appliance and its accessible parts become hot during use. Care should be taken to avoid touching heating elements. Children less than 8 years of age shall be kept away unless continously supervised.
- During use the appliance becomes hot. Care should be taken to avoid touching heating elements inside the oven.
- Metallic containers for food and beverages are not allowed during microwave cooking.
- Do not use harsh abrasive cleaners or sharp metal scrapers to clean the oven door glass since they can scratch the surface, which may result in the shattering of the glass
- The appliance is intended to be used built-in.
- The appliance must not be installed behind a decorative door in order to avoid overheating. (This is not applicable for appliances with the decorative door.)
- WARNING: When the appliance is operated in the combination mode, children should only use the oven under adult supervision due to the temperatures generated.
READ CAREFULLY AND KEEP FOR FUTURE REFERENCE
Causes of damage
- Creation of sparks: Metal e.g. a spoon in a glass must be kept at least 2 cm from the oven walls and the inside of the door. Sparks could irreparably damage the glass on the inside of the door.
- Water in the hot cooking compartment: Never pour water into the hot cooking compartment. This will cause steam. The temperature change can cause damage.
- Moist food: Do not store moist food in the closed cooking compartment for long periods.
- Do not use the appliance to store food. This can lead to corrosion.
- Cooling with the appliance door open: Only leave the cooking compartment to cool with the door closed. Do not trap anything in the appliance door. Even if the door is only slightly ajar, the fronts of adjacent units may be damaged over time.
- Heavily soiled seal: If the seal is very dirty, the appliance door will no longer close properly during operation. The fronts of adjacent units could be damaged. Always keep the seal clean.
- Operating the microwave without food: Operating the appliance without food in the cooking compartment may lead to overloading. Never switch on the appliance unless there is food in the cooking compartment. An exception to this rule is a short crockery test (see the section “Microwave, suitable crockery”).
- Using the appliance door for standing on or placing objects on: Do not stand or place anything on the open appliance door. Do not place ovenware or accessories on the appliance door.
- Transporting the appliance: Do not carry or hold the appliance by the door handle. The door handle cannot support the weight of the appliance and could break.
- Microwave popcorn: Never set the microwave power too high. Use a power setting no higher than 600 watts. Always place the popcorn bag on a glass plate. The disc may jump if overloaded.
- Liquid that has boiled over must not be allowed to run through the turntable drive into the interior of the appliance. Monitor the cooking process. Choose a shorter cooking time initially, and increase the cooking time as required.
- The oven should be cleaned regularly and any food deposits removed since they may explode, even after microwave heating has ended.
- Failure to maintain the oven in a clean condition could lead to deterioration of the surface that could adversely affect the life of the appliance and possibly result in a hazardous situation.
Installation
- This appliance is only intended to be fully fitted in a kitchen.
- This appliance is not designed to be used as a tabletop appliance or inside a cupboard.
- The fitted cabinet must not have a back wall behind the appliance.
- A gap of at least 45 mm must be maintained between the wall and the base or back panel of the unit above.
- The fitted cabinet must have a ventilation opening of 250 cm2 on the front. To achieve this, cut back the base panel or fit a ventilation grille
- Ventilation slots and intakes must not be covered.
- The safe operation of this appliance can only be guaranteed if it has been installed in accordance with these installation instructions.
- The fitter is liable for any damage resulting from incorrect installation.
- The units into which the appliance is fitted must be heat- resistant up 90oC.
- Installation height not less than 850mm.
Installation dimensions
Building in
- Do not hold or carry the appliance by the door handle. The door handle cannot hold the weight of the appliance and may break off.
- Carefully push the microwave into the box, making sure that it is in the centre.
- Open the door and fasten the microwave with the screws that were supplied.

- Fully insert the appliance and center it.
- Do not kink the connecting cable.
- Screw the appliance into place.
- The gap between the worktop and the appliance must not be closed by additional battens
Electrical connection
The appliance is fitted with a plug and must only be connected to a properly installed earthed socket. Only a qualified electrician who takes the appropriate regulations into account may install the socket or replace the connecting cable. If the plug is no longer accessible following installation, an all-pole isolating switch must be present on the installation side with a contact gap of at least 3 mm. Contact protection must be ensured by the installation. nFuse protection: see instructions for use-technical data.
Your new appliance
Use this section to familiarise yourself with your new appliance. The control panel and the individual operating controls are explained. You will find information on the cooking compartment and the accessories
Control panel
Touch keys and display

Function and screen display

Parameter adjustment

Cooling fan
Your appliance has a cooling fan. The cooling fan switches on during operation. The hot air escapes above the door. The cooling fan continues to run for a certain time after operation. Do not cover the ventilation slots. Otherwise, the appliance will overheat.
Accessories
- Grill rack
- For grilling, e.g. steaks, sausages and for toasting bread.
- Baking tray
- For safety reasons, the baking tray should be placed on the side hanger instead of being placed directly on the bottom board of the cavity.

- For safety reasons, the baking tray should be placed on the side hanger instead of being placed directly on the bottom board of the cavity.
- Baking tray- Enamel tray
- For making cake roll, roasting whole chickens. When cooking with microwave function, the use of enamel tray is prohibited.

- For making cake roll, roasting whole chickens. When cooking with microwave function, the use of enamel tray is prohibited.
- Baking tray- Glass tray
- When cooking with microwave function, please use the glass tray.

- Used for catching liquids, such as water and grease when food is baked.
- In order to ensure the best cooking effect, the glass tray should be placed in the bottom of the side hanger, as shown in the figures below, the glass tray should be pushed along the lowest guide rails of the side hanger in place.
- When cooking with microwave function, please use the glass tray.
Once the oven has been lifted into place inside the appliance housing, locate the two holes in the casing of the oven and fix it into place using [08], [09] and [10]. Caution:Do not over tighten the screws [08] to avoid damage to the oven orappliance housing – use a screwdriver only!


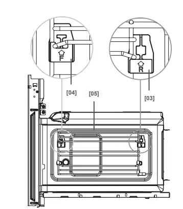
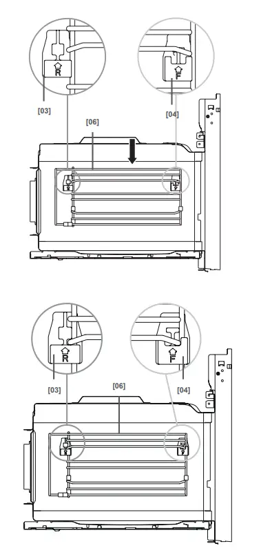
Installation of the ceramic clips and side rails
Left side rail installation [05]

Right side rail installation [06]

Before using the appliance for the first time
Here you will find everything you need to do before using your oven to prepare food for the first time. First read the section on Safety information.
Setting the clock
- In waiting state, touch the
key to enter clock setting mode. “00:00” will display and the hour figures will flash. - Touch – or + or slide the
to set the hour figures. The input time should be within 0–23. - Touch
to confirm, the minute figures will flash. - Touch – or + or slide the
to set the minute figures. The input time should be within 0–59. - Touch
to finish clock setting, “:” will flash. - The time is set. And the appliance will enter waiting state.
Cleaning the accessories
Before you use the accessories for the first time, clean them thoroughly with hot soapy water and a soft dish cloth.
Heating up the oven
- To remove the new cooker smell, heat up the oven when it is empty and closed. One hour with
Convection at 250oC is ideal. Ensure that no packaging remnants have been left in the cooking compartment. - In waiting state, touch key once. and the default temperature will light in the screen.
- Touch key repeatedly till
light. The default temperature of convection will display. - Touch – or + or slide the
to set the temperature to 250oC. - Touch
to enter cooking time setting mode. “00:00” will flash. - Touch – or + or slide the
to set the cooking time to 60 minutes. - Touch the
key. The oven begins to heat up.
Setting the oven
There are various ways in which you can set your oven. Here we will explain how you can select the desired type of heating and temperature or grill setting. You can also select the oven cooking time for your dish. Please refer to the section on Setting the time-setting options
Setting the type of heating and temperature
- Example: Radiant Grilling at 200oC for 25minutes.
- In waiting state, touch key once. and the default temperature will light in the screen.
- Touch key repeatedly till light. The default temperature of radiant grilling will display
- Touch – or + or slide the
to set the temperature to 200oC. - Touch
to enter cooking time setting mode. “00:00” will flash. - Touch – or + or slide the
to set the cooking time to 25 minutes. - Touch the
key. The oven begins to heat up.
Opening the oven door during operation
Operation is suspended. After closing the door, touch the
key. Operation continues.
Pausing operation
Touch the
key to pause operation. Then touch the
key to continue operation
Changing the cooking time
This can be done at any time. Touch the
key repeatedly till the cooking time flashes, and then touch – or + or slide thhe
to set the cooking time.
Changing the temperature
This can be done at any time. Touch – or + or slide the
to set the temperature
Cancelling operation
This can be done at any time. Touch the
key to enter into the waiting state
Rapid Preheating
With rapid preheating, your oven reaches the set temperature particularly quickly. Rapid Preheating is available for the following types of heating:
- To ensure an oven cooking result, only put your food in the cooking compartment when the preheating phase is complete.
- Setting the typeaonfdheating
- Touch the
key temperature. The
symbol lights up in the display. The oven begins to heat up.
The preheating process is complete
A signal sounds. The
symbol in the display blinks. Put your dish in the oven.
Canceling rapid preheating
During setting the rapid preheating function, touching the
key can cancel the function. During rapid preheating, touch the
can cancel the function.
The microwave
With rapid preheating, your oven reaches the set temperature particularly quickly. Rapid Preheating is available for the following types of heating: Microwaves are converted to heat in foodstuffs. The microwave can be used solo, i.e. on its own, or in combination with a different type of heating. You will find information about ovenware and how to set the microwave.
Notes regarding ovenware
Suitable ovenware
Suitable dishes are heat-resistant ovenware made of glass, glass-ceramic, porcelain, ceramic or heat-resistant plastic. These materials allow microwaves to pass through. You can also use serving dishes. This saves you from having to transfer food from one dish to another. You should only use ovenware with decorative gold or silver trim if the manufacturer guarantees that they are suitable for use in microwaves.
Unsuitable ovenware
Metal ovenware is unsuitable. Metal does not allow microwaves to pass through. Food in covered metal containers will remain cold.
Caution!
Creation of sparks: metal – e.g. a spoon in a glass – must be kept at least 2 cm from the oven walls and the inside of the door. Sparks could destroy the glass on the inside of the door.
Ovenware test
- Do not switch on the microwave unless there is food inside. The following ovenware test is the only exception to this rule.
- Perform the following test if you are unsure whether your ovenware is suitable for use in the microwave:
- Heat the empty ovenware at maximum power for to 1 minute.
- Check the temperature occasionally during that time.
- The ovenware should still be cold or warm to the touch.
- The ovenware is unsuitable if it becomes hot or sparks are generated.
Microwave power settings
Use the key to set the desired microwave power
Setting the microwave
- Example: Microwave power setting 300 W,cooking time 17 minutes
- In waiting state, touch the key to enter microwave function. The default microwave power 900W will appear. And the default cooking time will flash.
- Touch – or + or slide the to set the cooking time to 17 minutes.
- Touch the key to activate the microwave power. Then touch – or + or slide the to set the microwave power to 300W.
- Touch the key.
- Operation begins. The cooking time starts counting down in the display.
- The cooking time has elapsed
- A signal sounds. Microwave operation has finished.
- Opening the oven door during operation
- Operation is suspended. After closing the door, touch the key . Operation continues.
MicroCombi operation
This involves simultaneous operation of the grill and the microwave. Using the microwave makes your dishes ready more quickly, but they are still nicely browned. You can switch on all microwave power settings. Exception: 700 and 900 watts this involves simultaneous operation of the grill and the microwave. Using the microwave makes your dishes ready more quickly, but they are still nicely browned. You can switch on all microwave power settings. Exception: 700 and 900 watts
Setting Microwave Combi operation
- Example: MW+Pizza function with 500 W and 190oC for 17 minutes.
- In waiting state, touch key, and then touch repeatedly to set MicroCombi mode. Stop touching when and display in the screen. The default microwave power will display and the default temperature will flash.
- Touch – or + or slide the to set the temperature to 190oC.
- Touch the key to confirm the temperature. The default cooking time will flash, and touch – or + or slide the to set the cooking time to 17 minutes
- Touch the key. The default power will blink. Then touch – or + or slide the to set the microwave power to 500W.
- Touch the key. The oven begins to heat up. Appliance operation begins.The cooking time starts counting down.
Automatic programs
The automatic programs enable you to prepare food very easily. You select the programme and enter the weight of your food. The automatic programme makes the optimum setting. You can choose from 13 programmes.Always place the food in the cold cooking compartment.
Setting a program
- Changing the cooking time
- This can be done at any time. Touch – or + or slidethe to set the cooking time.
- Changing the microwave power setting
- This can be done at any time. Touch the key and then touch – or + or slide the to set the microwave power.
- Pausing operation
- Touch the key briefly. The oven is paused. Touch nthe key again to continue operation
- Cancelling operation
- This can be done at any time. Touch the key to enter into the waiting state.
- The cooking time has elapsed
- A signal sounds. Combination mode has finished.
- Opening the oven door during cooking
- Operation is suspended. After closing the door, touch the key briefly. The programme will then continue.
- Pausing operation
- Touch the key briefly. The oven is paused. Touch the key again to continue operation.
- Changing the cooking time
- This can be done at any time. Touch the key repeatedly till the cooking time flashes, and then touch – or + or slide the to set the cooking time.
- Changing the microwave power setting
- This can be done at any time. Touch the key and then touch – or + or slide the to set the microwave power.
- Changing the temperature
- This can be done at any time. Touch – or + or slide the to set the temperature.
Canceling operation
- This can be done at any time. Touch the key to enter into the waiting state.
- In waiting state, touch key twice to enter the Auto menu function. The first programme number blinks in the screen.
- Touch – or + or slide the to select the programme number.
- Touch the key.
- Touch – or + or or slide the to set the weight, cooking time will shown.
- Touch the key. The programme starts. You can see the cooking time counting down .
| Programme no. | Item | Weight(g) | Accessory layer and accessory |
| P 01** | Fresh vegetables | 200 | 1st layer, glass tray |
| 400 | |||
| 600 | |||
| P 02** | Potatoes peeled/cooked | 240 | 1st layer, glass tray |
| 480 | |||
| 720 | |||
| P 03 | Baked potatoes | 450 | 3rd layer, grill rack |
| 1000 | |||
| P 04 | Chicken pieces(frozen) | 450 | 3rd layer, grill rack |
| P 05* | Cake | 400 | 2nd layer, grill rack |
| 500 | |||
| 600 | |||
| P 06* | Apple pie | 2400 | 2nd layer, grill rack |
| P 07* | Quiche | 1000 | 3rd layer, grill rack |
| P 08** | Reheat soup | 200 | 1st layer, glass tray |
| 400 | |||
| 600 | |||
| P 09** | Reheat plate | 250 | 1st layer, glass tray |
| 350 | |||
| P 10 ** | Reheat sauce/stew | 100 | 1st layer, glass tray |
| 200 | |||
| 300 | |||
| P 11 | Frozen Pizza | 200 | 3rd layer, grill rack |
| 400 | |||
| 600 | |||
| P 12* | Frozen oven chips | 300 | 3rd layer, grill rack |
| 400 | |||
| 500 | |||
| P 13 | Lasagna | 1600 | 3rd layer, grill rack |
Notes
- The programmes with a * are preheated.During preheating,the cooking time pauses and the preheating symbol is on. After preheating,you will hear an alarm and the preheating symbol will blink.
- The programmes with ** only use the microwave function.
Programme has ended
A signal sounds. The oven stops heating.
Changing the programme
Once you have started the programme, the programme number and weight cannot be changed.
Cancelling the programme
Touch the key to cancel operation
Changing the cooking time
If using automatic programmes, you cannot change the cooking time.
Defrosting programmes
- You can use the 3 defrosting programmes to defrost meat, poultry and bread
- In waiting state, touch key once to enter the Defrost function. The first programme number blinks in the screen.
- Touch – or + or slide the to select the programme number
- Touch the key
- Touch – or + or slide the to set the weight, cooking time will shown.
- Touch the key . The programme starts. You can see the cooking time counting down .
❗NOTE:
- Preparing food
- Use food that has been frozen at -18oC and stored in portion- sized quantities that are as thin as possible. Take the food to be defrosted out of all packaging and weigh it. You need to know the weight to set the programme.
- Liquid will be produced when defrosting meat or poultry. Drain off this liquid when turning meat and poultry and under no circumstances use it for other purposes or allow it to come into contact with other foods.
- Ovenware
- Place the food in a microwaveable shallow dish, e.g. a china or glass plate, but do not cover.
- When defrosting chicken and chicken portions (d 01), an audible signal will sound on two occasions to indicate that the food should be turned.
- Resting time
- The defrosted food should be left to stand for an additional 10 to 30 minutes until it reaches an even temperature. Large pieces of meat require a longer standing time than smaller pieces.
- Flat pieces of meat and items made from minced meat should be separated from each other before leaving to stand.
- After this time, you can continue to prepare the food, even though thick pieces of meat may still be frozen in the middle. The giblets can be removed from poultry at this point.
Programme no. Defrost Weight range in kg d 01* meat 0.10 – 1.50 d 02* poultry 0.10 – 1.50 d 03* fish 0.10 – 0.80
Care and cleaning
With careful care and cleaning your microwave oven will retain its looks and remain good order. We will explain here how you should care for and clean your appliance correctly.
Risk of electric shock.!
Penetrating moisture may cause an electric shock. Do not use any high-pressure cleaners or steam cleaners.
Risk of burns!
Never clean the appliance immediately after switching off. Let the appliance cool down.
Risk of serious damage to health!
Microwave energy may escape if the cooking compartment door or the door seal is damaged. Never use the appliance if the cookingcompartment door or the door seal is damaged. Contact the after-sales service.
Cleaning agents
- To ensure that the different surfaces are not damaged by using the wrong cleaning agent, observe the information in the table. Do not use sharp or abrasive cleaning agents,
- metal or glass scrapers to clean the glass in the appliance door
- metal or glass scrapers to clean the door seal,
- hard scouring pads and sponges,
- cleaning agents with high concentrations of alcohol.
- Wash new sponge cloths thoroughly before use. Allow all surfaces to dry thoroughly before using the appliance again.
Setting the pre-set cooking
| Rated Voltage | 230V ~ 50 Hz |
| Maximum Power | 3000W |
| Rated Output Power(Microwave) | 900W |
| Oven Capacity | 50L |
| External Dimensions Without handle | 595(W) 568(D) 454(H)mm |
| Net Weight | Approx. 38.8kg |
| Area | Cleaning agents |
| Appliance front | Hot soapy water: Clean with a dish cloth and dry with a soft cloth. Do not use glass cleaners or metal or glass scrapers for cleaning. |
|
Appliance front with stainless steel | Hot soapy water: Clean with a dish cloth and dry with a soft cloth. Remove flecks of limescale, grease, starch and albumin (e.g. egg white) immediately. Corrosion can form under such residues. Special stainless steel cleaning agents can be obtained from the after-sales service or from spe- cialist shops. Do not use glass cleaners or metal or glass scrapers for cleaning. |
|
Cooking compartment | Hot soapy water or a vinegar solution: Clean with a dish cloth and dry with a soft cloth. If the oven is very dirty: Do not use oven spray or other aggressive oven cleaners or abrasive materials. Scouring pads, rough sponges and pan cleaners are also unsuitable. These items scratch the surface. Allow the interior surfaces to dry thoroughly. |
| Recess in cooking compartment | Damp cloth: Ensure that no water seeps through the turntable drive into the appliance interior. |
| Wire racks | Hot soapy water: Clean using stainless steel cleaning agent or in the dishwasher. |
| Door panels | Glass cleaner: Clean with a dish cloth. Do not use a glass scraper. |
| Seal | Hot soapy water: Clean with a dish cloth, do not scour. Do not use a metal or glass scraper for cleaning. |
Malfunction table
| Problem | Possible cause | Remedy/information |
|
The appliance does not work. | Faulty circuit breaker. | Look in the fuse box and check that the circuit breaker for the appliance is in working order. |
| Plug not plugged in. | Plug in the plug. | |
| Power cut | Check whether the kitchen light works. | |
| The appliance does not work. appears in the display panel. | Childproof lock is active. | Deactivate the childproof lock (see section: Child- proof lock). |
| The microwave does not switch on. | Door not fully closed. | Check whether food residue or debris is trapped in the door. |
|
It takes longer than before for the food to heat up in the microwave | The selected microwave power level is too low | Select a higher power level. |
| A larger amount than usual has been placed in the appliance. | Double the amount = almost double the cooking time. | |
| The food was colder than usual. | Stir or turn the food during cooking. | |
| A particular operating mode or power level cannot be set | The temperature, power level or combined setting is not possible for this operating mode | Choose permitted settings. |
|
| The thermal safety switch-off func- tion has been activated | Call the after-sales service |
|
| The thermal safety switch-off func- tion has been activated | Call the after-sales service |
|
| Rapid heating has failed. | Call the after-sales service |
Acrylamide in foodstuffs
| Tips for keeping acrylamide to a minimum when preparing food | |
| General | Keep cooking times to a minimum. Cook meals until they are golden brown, but not too dark. Large, thick pieces of food contain less acrylamide |
| Baking biscuits Oven chips | Max. 200oC in Top/bottom heating or max. 180oC in 3D hot air or hot air mode. Max. 190oC in Top/bottom heating or max. 170oC in 3D hot air or hot air mode. Egg white and egg yolk reduce the formation of acrylamide. Distribute thinly and evenly over the baking tray. Cook at least 400 g at once on a baking tray so that the chips do not dry out |
Energy and environment tips
Here you can find tips on how to save energy when baking and roasting and how to dispose of your appliance properly.
Saving energy
- Only preheat the oven if this is specified in the recipe or in the operating instruction tables.
- Use dark, black lacquered or enamelled baking tins. They absorb the heat particularly well.
- Open the oven door as infrequently as possible while you are cooking, baking or roasting.
- It is best to bake several cakes one after the other. The oven is still warm. This reduces the baking time for the second cake. You can also place two loaf tins next to each other.
- For longer cooking times, you can switch the oven off
- 10 minutes before the end of the cooking time and use the residual heat to finish cooking.
Environmentally-friendly disposal
Dispose of packaging in an environmentally-friendly manner.This appliance complies with European Directive 2012/ 19/EC on Waste Electrical and Electronic Equipment (WEEE). The directive gives a framework for the collection and recycling of old appliances, which is valid across the EU
Heating food
Risk of scalding!
There is a possibility of delayed boiling when a liquid is heated. This means that the liquid reaches boiling temperature without the usual steam bubbles rising to the surface. Even if the container only moves a little, the hot liquid can suddenly boil over and spatter. When heating liquids, always place a spoon in the container. This will prevent delayed boiling.



























