RALPH LAUREN RL 3320 Daley Adjustable Desk Lamp

ASSEMBLY INSTRUCTIONS

- Carefully remove all parts from the box. Place on a clean, soft surface.
- Put all the parts on the table.
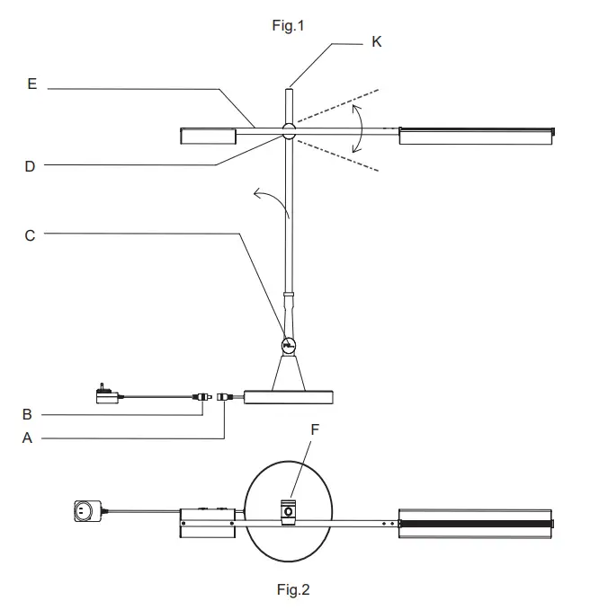
- Insert the male plug on driver (B) to female plug (A) on base, then plug on the stem.
- Press the button switch (K) and turn on the table lamp, press it in a short time and it will be on or off.
- After the table lamp is turn on, press the switch (K) in a longer time, it will be bright & dim.
- The horizontal stem can be rotated by 20° at the joint (D), as shown on the Fig.1.
- The vertical stem can be rotated from the vertical status to left by 20° at the joint (C).
- Installation is complete.
- Warm tips: Please lock the knob (F) if the stem(E) is loose when swing
NOTICE:
This light fixture should be installed in accordance with all applicable, local installation codes, and by a person familiar with the construction and operation of it, as well as the hazards involved. Inspect item and contents carefully. If any damage or defect is found, do not install. Retain all packaging material until installation is complete and approved.
Care Instructions
Clean only with a soft dry cloth or feather duster. Donot use abrasive or chemical agents.















